Евгений Карпов (ekar@next-power.net)
Описываемый источник питания имеет плавную регулировку выходного напряжения в диапазоне от 3,5 до 300 В при полном номинальном токе 300 мА и до 500 В при меньшем токе.
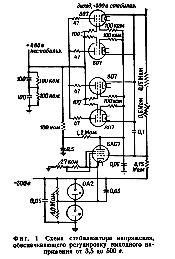
В источнике применен обычный двухполупериодный выпрямитель на двух лампах 5V4 с конденсатором на входе фильтра; этот выпрямитель дает напряжение 480 В. В схеме стабилизатора в качестве регулирующего элемента используются четыре лампы типа 807, соединенные параллельно. В усилителе постоянного тока стабилизатора используется одна лампа типа 6АС7 (рис. 1).

Значение мощности, рассеиваемой регулирующими лампами, должно определяться при максимальном рабочем токе и минимальном выходном напряжении. Это значение мощности можно подсчитать по наибольшему падению напряжения на лампах и по току, проходящему через них. В этом источнике питания наибольшее падение напряжения равно приблизительно 470 В и наибольший ток - около 0,3 А. Таким образом, четыре лампы типа 807 должны рассеивать мощность порядка 140 Вт.
Поскольку высокое выходное напряжение получается при малом падении напряжения на регулирующем элементе, его внутреннее сопротивление должно быть минимальным. Оба требования - большая рассеиваемая мощность и низкое внутреннее сопротивление - удовлетворяются более экономично за счет параллельного включения нескольких ламп, а не за счет одной лампы, имеющей малое внутреннее сопротивление. Лампа типа 807 была выбрана потому, что она допускает без перегрузки мощность рассеивания порядка 35 Вт.
Отрицательное напряжение смещения - 300 В для усилителя постоянного тока, необходимое в случае регулировки выходного напряжения в широких пределах, обеспечивается однополупериодным выпрямителем и я стабилизируется двумя стабилитронами типа ОА2. Напряжения смещения на катод и на м экранную сетку лампы 6АС7 подаются от этого же источника смещения. Потенциал сетки лампы 6АС7 понижается при увеличении тока нагрузки; при этом потенциал сеток ламп 807 увеличивается, в результате чего и осуществляется стабилизация выходного напряжения.
Наибольшее выходное напряжение в источнике этого типа равно максимальному допустимому напряжению регулирующих ламп, поскольку при низком выходном напряжении почти все падение напряжения в системе приходится на эти лампы.
Данный источник питания имеет внутреннее сопротивление 8 Ом при выходном напряжении менее 300 В и токе 300 мА и около 12 Ом при более высоком напряжении и меньшем токе. Такое сравнительно малое внутреннее сопротивление получается за счет большого коэффициента усиления использованного однокаскадного усилителя постоянного тока.
Использован материал с сайта "NextTube" - http://www.next-power.net/next-tube.
Комментарии