Сетевой ламповый радиоприёмник "РП-8" серийно выпускался Ленинградским заводом имени Казицкого с 1935 года.
Приемник РП-8 по типу и назначению аналогичен приемнику "ЭКЛ-4".
РП-8 - регенеративный приемник индивидуального пользования с питанием от сети переменного тока, напряжением в 110, 127 и 210 В. Диапазон волн приемника 200 - 2000 метров разбит на два поддиапазона средних и длинных волн. В приемнике предусмотрена возможность проигрывания граммофонных пластинок звукоснимателем. Выходная мощность приемника - порядка 1 Вт.
Приемник имеет следующие каскады:
- Первая ступень - усиление высокой частоты - работает на лампе СО-148;
- Вторая - детектор - на лампе СО-118;
- Третья - усиление звуковой частоты - на лампе СО-118;
- Четвертая - выходной усилитель на лампе УО-104;
- Выпрямитель - на лампе ВО-116.
Диапазон принимаемых частот:
- Длинные волны: 158-410 кГц (1930 - 730 м);
- Средние волны: 475 - 1400 кГц (630 - 217 м).
Основные технические данные
Выходная мощность приемника около 1 Вт на сопротивлении, эквивалентном сопротивлению динамического громкоговорителя, R = 12 Ом.
Чувствительность при выходной мощности 0,1 Вт: длинные волны - 1300-1500 мкВ при минимальной и 30 - 100 мкВ при максимальной обратной связи; средние волны - 400-500 мкВ при минимальной обратной связи и 30-40 мкВ при максимальной.
Избирательность: при расстройке на 10 кГц и максимальной обратной связи ослабление сигнала в 15 - 20 раз.
Питание
Приемник питается от сети переменного тока с напряжением 110, 127 или 220 В. Потребляемая от сети мощность 75 Вт.
Электрическая схема
Приемник РП-8 - это регенеративный приемник прямого усиления, имеющий схему 1-V-2. Первая ступень - усиление высокой частоты - работает на лампе СО-148, вторая - детектор - на лампе СО-118, третья - усиление звуковой частоты - на лампе СО-118, четвертая - выходной усилитель на лампе УО-104, выпрямитель - на лампе ВО-116.
Приемник имеет три контура высокой частоты. Два первые - антенный, состоящий из индуктивности L1, L2 и емкостей C2, C3 и сеточный L3, L4 с емкостями С4, С5 - образуют входной полосовой фильтр - в цепи сетки первой лампы - усиления высокой частоты. Первый контур слабо связан с антенной через емкость С1. Третий контур L5, L6 и С13 находится в анодной цепи верной лампы.
Катушки контуров состоят из двух секций - средневолновой и длинноволновой; на длинных волнах работают обе секции, при переходе на средние волны длинноволновая секция замыкается накоротко. Связь между первым и вторым контурами - емкостная (конденсатор связи C6). На третий контур подается напряжение обратной связи из анодной цепи детекторного каскада через катушку L7. Регулировка величины обратной связи производится путем изменения емкости переменного конденсатора С3, включенного последовательно с катушкой обратной связи.
Регулировка чувствительности приемника осуществляется путем изменения напряжения смещения на сетке лампы СО-148. Напряжение смещения регулируется путем измерения величины сопротивления реостата R3, включенного в цепи катода первой лампы.
Детекторная лампа СО-118 работает по схеме сеточного детектирования. Напряжение высокий частоты подается на детектор через гридлик C14-R7.
Усилитель звуковой частоты собран по реостатной схеме. Нагрузкой в цепи анода служит сопротивление R15.
Оконечный усилитель работает по трансформаторной схеме. Выходной трансформатор нагружен на динамический громкоговоритель.
Выпрямитель - двухполупериодный, на кенотроне ВО-116, в качестве дросселя фильтра питания использована обмотка подмагничивания динамика. Емкостями фильтра служат конденсаторы С23 и С34.
Детали
Катушки контуров высокой частоты: все три катушки приемника имеют одинаковые данные намотки, за исключением того, что на третьей катушке имеется дополнительная намотка обратной связи.

Дроссель высокой частоты: намотка из провода ПЭ 0,07-0,08 по 300 витков в секции.
Выходной трансформатор: железо Ш-образной формы, сечение сердечника 20х24 мм. Первичная обмотка имеет 2250 витков из провода ПЭ 0,14-0,15 мм, вторичная обмотка - 155 витков из провода ПЭ 0,8 мм.
Динамический громкоговоритель: катушка подмагничивания имеет 12000 витков из провода ПЭ 0,18. Сопротивление катушки R0=1000 Ом. Звуковая катушка имеет 154 витка из провода ПЭ 0,15. Сопротивление R0= 12 Ом.
Некоторые образцы приемников были выпущены с громкоговорителями, имеющими сопротивление звуковой катушки 4,5 Ома; соответственно был заменен и выходной трансформатор.
Данные выходного трансформатора для этого случая: первичная обмотка такая же, как и в первом случае, вторичная обмотка - 90 витков из провода ПЭ 0,8.
Данные громкоговорителя. Катушка подмагничивания имеет 9000 витков из провода ПЭ 0,18; R = 850 Ом.
Звуковая катушка имеет 72 витка (2 слоя 37+ 35 витков) из провода ПЭ 0,17; R = 4,5 Ома.
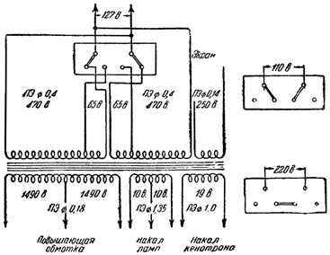
Силовой трансформатор: Железо Ш-образной формы, сечение сердечника 10,5 см2. Данные намотки силового трансформатора приведены на рисунке.
Схема трансформатора питания приемника
Литература:
Комментарии