Пятиламповый радиоприемник прямого усиления "ЭКЛ-4" (Экранированный, Козицкого, Ламповый, 4-я разработка) выпускался на ленинградском заводе им. Козицкого (в раннем написании - Казицкого) c 1932 года. В 1934 году он был переработан и в дальнейшем выпускался под маркой "ЭКЛ-34".
Приемник собран по схеме прямого усиления 1-V-2 с регулируемой обратной связью и предназначен для приёма радиовещательных станций в диапазоне 200...2000
метров в местностях, имеющих электрическую сеть переменного тока напрядением 110, 127 или 220 вольт. Схема приёмников даёт возможность подключения звукоснимателя для проигрывания граммофонной записи
Приёмники собран на 5 лампах: СО-124, СО-118 (2 шт.), УО-104 и ВО-116.
Чувствительность и избирательность при приёме зависят от по ложния регулятора обратной связи. Стандартные показатели - 1,5...2 мВ/м и 10 дБ, максимальные 80 мкВ и 36 дБ. Средняя выходная мощность усилителя - 0,8 Вт. Потребляемая мощность от электросети 110, 127 или 220 вольт - 50 Вт.
Размеры приёмника ''ЭКЛ-4'' - 520х455х255 мм. Масса - 17 кг.
Футляр приёмника деревянный. Для замены ламп в футляре имеются два откидных люка. Сетевой выключатель расположен с левой стороны футляра. С лицевой стороны расположены регулятор громкости, ручка регулировки обратной связи и ручка настройки. Шкала вертикальная, отградуирована в условных единицах и имеет подсветку. Ползунковый переключатель расположенный рядом с узлом настройки переключатель диапазонов. 2 левых рычажка служат для подстройки сопря жения сеточных и анодных контуров. Громкоговоритель с подмагничиванием - собственного заводского производства.
Детали
Контурные катушки. В приемнике 3 отдельных катушки. Все катушки экранированы. Конструкция каркасов катушек и расположение обмоток дано на рисунке.

Конструкция каркаса катушек 1-го, 2-го и 3-го контуров приемника
Выходной трансформатор. Железо Ш-19; сечение сердечника 6,5 см2, толщина набора 3,4 см. Первичная обмотка имеет 2400 витков провода ПЭ 0,2. Вторичная обмотка имеет 170 витков провода ПБД 0,8.
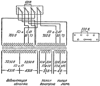
Силовой трансформатор. Железо Ш-25, сечение керна 7,5 см2, 85 пластин. Схема и данные обмоток приведены на рисунке.
Схема трансформатора питания приемника
Дроссель фильтра. Железо Евтеева; толщина набора 20 мм; обмотка - 22000 витков из провода ПЭ 0,1.
Динмический громкоговоритель. Катушка намагничивания состоит из трех секций: первая секция 6000 витков, вторая секция 10000 витков, третья секция 6000 витков. Всего 22000 витков из провода ПЭ 0,18. Сопротивление катушки подмагничивания постоянному току 2000 Ом. Звуковая катушка 165 витков из провода ПЭ 0,18. Сопротивление звуковой катушки 10 Ом.
Расположение ламп и деталей на шасси приемника "ЭКЛ-4"
Подробнее о радиоприёмниках в приведённой документации.
Литература:
Комментарии