Радиоприемник "Электросигнал-2"

Радиоприемник "Электросигнал-2" 

Радиоприемник "Электросигнал-2"  выпускался Воронежским заводом "Электросигнал" с 1947 года. 

Приемник представляет собой семиламповый супергетеродин с питанием от сети переменного тока.

Выходная мощность приемника более 3 Вт. Диапазон принимаемых волн от 16 до 2 000 м разбит на 4 частичных диапазона, из которых два коротковолновые.

Чувствительность приемника высокая. Приемник имеет рамочную антенну, помещающуюся внутри ящика и позволяющую значительно ослабить индустриальные помехи на диапазонах длинных и средних волн. Схема усиления низкой частоты обеспечивает хорошее воспроизведение звука. Приемник имеет оптический индикатор настройки. Предусмотрена возможность воспроизведения граммзаписи с помощью звукоснимателя.

Приемник оформлен в ящике настольного типа.

Переключатель диапазонов, высокочастотные катушки и слюдяные подстроечные конденсаторы смонтированы вместе и выполнены в виде отдельного высокочастотного блока. Все катушки длинных и средних волн многослойные, с сердечниками из альсифера. Катушки коротких волн - малогабаритные, однослойные и многослойные, также с сердечниками из альсифера.

Внутри ящика в двух перпендикулярных плоскостях - по правой боковой стенке и по передней панели - укреплены две взаимно перпендикулярные экранированные рамки.

Ручка переключателя рамочной антенны расположена на правой боковой стенке ящика. Остальные органы управления выведены на переднюю панель и находятся в ее нижней части, под шкалой: крайняя ручка слева - регулятор тембра; вторая слева - регулятор громкости и выключатель сети; крайняя справа - ручка настройки; вторая справа - переключатель диапазонов. На оси ручки настройки укреплен маховичок, делающий более удобной перестройку со станции на станцию.

Большая прямоугольная стеклянная шкала вынесена из ящика наружу и располагается перед тканью, закрывающей громкоговоритель. Стрелка перемещается в горизонтальном направлении параллельно самой себе. В правом углу шкалы, в окошке, появляются условные обозначения включенного диапазона. В левом углу шкалы виден светящийся экран оптического индикатора настройки. Шкала градуирована в метрах и в килогерцах.

Громкоговоритель укреплен на передней панели, над шасси. На задней стенке находятся гнезда для звукоснимателя и добавочного громкоговорителя, а также зажимы для подключения антенны и заземления.

Приемник имеет следующие каскады: 

  1. Апериодический усилитель высокой частоты на лампе 6Ж6С (Z-62-D).
  2. Преобразователь частоты на лампе 6А7.
  3. Усилитель промежуточной частоты на лампе 6К3.
  4. Детектор, АРУ и предварительный усилитель низкой частоты, на лампе 6Г7.
  5. Оконечный усилитель на лампе 6П3С.
  6. Оптический индикатор настройки, на лампе 6Е5С.
  7. Выпрямитель на лампе 5Ц4С.

Диапазон принимаемых частот:

  • Длинные волны - ДВ: 150 - 410 кГц (2000 - 732 м);
  • Средние волны - СВ: 520 - 1500 кГц (577 - 200 м);
  • Короткие волны - КВ1: 8,55 - 18,3 МГц (35 - 16,4 м);
  • Короткие волны - КВ2: 4,25 - 8,0 МГц (70,5-37,5 м).

Промежуточная частота 460 кГц.

Основные технические данные

Чувствительность. При приеме на наружную антенну чувствительность на длинных и средних волнах не хуже 100 мкВ (практически около 20-40 мкВ) и на коротких волнах не хуже 200 мкВ (практически около 40-70 мкВ).

При приеме на рамку чувствительность на длинных и средних волнах резко уменьшается и доходит до 300-600 мкВ.

Чувствительность от гнезд звукоснимателя 0,6 В при выходной мощности 3,5 Вт.

Избирательность. Ослабление чувствительности при расстройке на +-10 кГц не менее 26 дБ (20 раз) на средних и коротких волнах. На длинных волнах избирательность выше.

Ослабление чувствительности по зеркальному каналу порядка 34 дБ (50 раз) на длинных волнах, порядка 28 дБ (25 раз) на средних и порядка 14 дБ (5 раз) на коротких волнах (цифры приводятся для высокочастотного конца каждого диапазона).

Автоматическая регулировка усиления. АРУ обеспечивает изменение выходного напряжения менее чем на 6 дБ (в 2 раза) при изменении напряжения на входе на 60 дБ (в 1000 раз - от 100 до 100000 мкВ).

Выходная мощность. Выходная мощность 3,5 Вт.

Питание

Приемник питается от сети переменного тока с напряжением 110, 127 или 220 В. Потребляемая от сети мощность 70 Вт.

Электрическая схема

Входная часть. Схема входной части приемника позволяет производить прием на всех диапазонах на наружную антенну, а на диапазонах длинных и средних волн, кроме того, на рамочную антенну, заключенную внутри приемника. При приеме на наружную антенну связь сеточного контура первой лампы с антенной - индуктивная, а на диапазоне средних волн - индуктивно-емкостная. При приеме на рамку антенна заземляется, а рамка связывается через автотрансформатор с входным сеточным контуром. Чтобы использовать направленное действие рамки, не прибегая к вращению приемника, в котором она жестко закреплена, в приемнике "Электросигнал-2" используются две рамки, расположенные перпендикулярно друг другу и соединенные последовательно. Переключение направления витков одной из рамок, производимое с помощью специального переключателя, позволяет менять диаграмму направленности рамочной антенны, оставляя ящик приемника неподвижным.

При приеме на рамку значительно ослабляется влияние индустриальных помех, .но при этом чувствительность приемника падает. На коротковолновых диапазонах рамочная антенна не используется.

Входной контур, настраиваемый с помощью конденсатора переменной емкости, включен в цепь сетки лампы усилителя высокой частоты. На каждом из поддиапазонов используется отдельная катушка, входного контура.

Усилитель высокой частоты. Усилитель высокой частоты работает на лампе 6Ж6С, представляющей высокочастотный пентод с повышенной крутизной характеристики. Вместо этой лампы может быть использована также лампа 6К7, но в этом случае чувствительность приемника уменьшится.

Схема усилителя высокой частоты - апериодическая (настроенного контура в анодной цепи лампы 6Ж6С нет). Усиление каскада при такой упрощенной схеме оказывается меньше, чем в случае резонансной схемы, но все же оно дает существенное улучшение в смысле уменьшения собственных шумов приемника. Отсутствие второго настроенного контура значительно упрощает приемник.

В анодную цепь первой лампы включен пропускающий фильтр, состоящий из последовательно соединенных катушки L9 и конденсатора C13, настроенный на промежуточную частоту и отводящий колебания этой частоты на землю.

Преобразователь частоты. Преобразователь частоты на лампе 6А7 работает по общепринятой схеме.

В цепь анода лампы 6А7, включен контур, настроенный на промежуточную частоту 460 кГц и представляющий первичную цепь первого фильтра промежуточной частоты.

Усилитель промежуточной частоты. Усилитель промежуточной частоты работает на лампе 6КЗ. Возможно также применение лампы 6К9С (6К9М), аналогичной 6КЗ, но имеющей сверху сеточный вывод.

Схема усилителя обычная. В цепи сетки находится вторичный контур первого фильтра промежуточной частоты, а в цепи анода - контур, представляющий первичную цепь второго фильтра промежуточной частоты.

Детектор, АРУ и предварительный усилитель низкой частоты. Детектор (один из диодов лампы 6Г7) связан непосредственно с вторичным контуром второго фильтра промежуточной частоты. С части нагрузки диода (с сопротивления R14) напряжение подается на регулятор громкости.

Для автоматической регулировки усиления используется второй диод той же лампы 6Г7, на который напряжение промежуточной частоты подается с первого контура второго фильтра промежуточной частоты. Напряжение АРУ с нагрузки этого диода подается через фильтр R16C38 на управляющие сетки двух первых ламп приемника. Задержкой для этого диода служит напряжение автоматического смещения в цепи катода лампы 6Г7.

Предварительное усиление низкой частоты осуществляется триодной частью лампы 6Г7, на сетку которой напряжение звуковой частоты подается с движка регулятора громкости.

Оконечный усилитель. Оконечный усилитель на лампе 6Л6 или 6ПЗС дает выходную мощность порядка 3,5-4 Вт при сравнительно низком анодном напряжении - около 220 В. Это позволило применить в приемнике электролитические конденсаторы с пониженным против обычно принятого рабочим напряжением в 300 В.

В схему приемника введена отрицательная обратная связь, элементы которой одновременно используются для регулировки тембра.

Для этой цели служат конденсаторы С46, С47 и С52. Различные комбинации включения этих конденсаторов позволяют изменять тембр передачи: срезать низкие и высокие частоты при речевых передачах (включены С46 в и С47), пропускать широкую полосу частот при воспроизведении музыки (С46 и С47 выключены, a C52 включен) или создавать подъем только в области низких частот (включен C46).

Динамический громкоговоритель с постоянным магнитом включен через выходной трансформатор, от первичной обмотки которого сделаны отводы для включения добавочного громкоговорителя.

Выпрямитель. Выпрямитель работает по обычной схеме двухполупериодного выпрямления на лампе 5Ц4С. Для фильтра используется отдельный дроссель.

Детали

Громкоговоритель. Сопротивление звуковой катушки динамика составляет 3 Ом. 

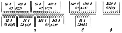
 Схема и данные обмоток приемника "Электросигнал-2" 

Схема и данные обмоток приемника "Электросигнал-2": а - силового трансформатора; б - выходного трансформатора; б - дросселя фильтра. 

Расположение ламп и деталей на шасси приемника "Электросигнал-2"

Расположение ламп и деталей на шасси приемника "Электросигнал-2" 

 

 1 - конденсаторы переменной емкости; 2 - 1-й ФПЧ; 3 - 2-й ФПЧ; 4 - дроссель фильтра; 5 - электролитические конденсаторы; 6 - силовой трансформатор; 7 - переключатель напряжения сети.

Литература:

  1. Журнал "Радио" №11, 1947 год.
  2. Приницпиальная схема приемника "Электросигнал-2" 

 

Комментарии