Радиоприёмник - ''АРЗ-51'' выпускался на Александровском радиозаводе и Муромском заводе РИП c осени 1951 года.
Радиоприемник "АРЗ-51" - четырехламповый супергетеродин с питанием от сети переменного тока.
Приемник обеспечивает громкоговорящий прием радиовещательных станций, работающих на длинных и средних волнах. По своим электрическим показателям он относился к приемникам четвертого класса и представлял собой модернизацию приемника АРЗ-49.
Выходная мощность приемника составляет 0,5 Вт. Приемник обладал чувствительностью и избирательностью, достаточными для приема довольно удаленных мощных станций, и обеспечивал прием программ центрального вещания по всей Европейской части бывшего СССР.
Приемник позволяет воспроизводить граммофонной записи с помощью отдельного проигрывателя.
Внешний вид приемника АРЗ-51 такой же, как и приемника АРЗ-49.
Конструкция приемника в основных чертах аналогична приемнику АРЗ-49.
Приемник собран на металлическом шасси, которое укрепляется внутри металлического же футляра. Шасси электрически изолировано от футляра, так как оно находится под напряжением.
Динамический громкоговоритель вместе с деревянной отражательной доской укреплен на передней стенке футляра.
Шкала приемника стеклянная. Индикаторная стрелка укреплена на металлическом диске, насаженном на ось агрегата конденсаторов и используемом для верньерной передачи.
На передней стенке приемника, внизу находятся три ручки управления: левая - выключатель сети и регулятор громкости, средняя - ручка настройки и правая - переключатель диапазонов с нанесенными на ней буквами Д и С, указывающими, какой из диапазонов включен. Гнезда для подключения антенны и звукоснимателя, а также колодка для плавкого предохранителя, находятся на задней стенке шасси. Подключать заземление к приемнику нельзя.
Приемник имеет следующие каскады:
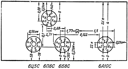
- Преобразователь частоты на лампе 6А10С.
- Усилитель промежуточной частоты, детектор, АРУ и предварительный усилитель низкой частоты на лампе 6Б8С, используемой для этих целей по рефлексной схеме.
- Оконечный усилитель на лампе 6П6С.
- Выпрямитель на лампе 6Ц5С.
Диапазон принимаемых частот:
- Длинные волны - ДВ: 150-415 кГц (2000 - 724 м);
- Средние волны - СВ: 520 - 1600 кГц (577 - 187 м).
Промежуточная частота 110 кГц.
Основные технические данные
Чувствительность. Чувствительность не хуже 300 мкВ. Чувствительность от входа звукоснимателя 0,25 В при выходной мощности 0,5 Вт.
Избирательность. Ослабление чувствительности при расстройке на +-10 кГц более 20 дБ (10 раз). Ослабление сигнала по зеркальному каналу не менее 15 дБ (5,6 раз).
Частотная характеристика. Частотная характеристика по звуковому давлению всего приемного тракта, от антенного входа, обеспечивает прохождение частот от 150 до 3500 Гц с неравномерностью не более 20 дБ.
Автоматическая регулировка усиления. АРУ обеспечивает изменение напряжения на выходе приемника не более чем на 10 дБ (3,16 раз) при изменении напряжения на входе в 20 раз (26 дБ).
Выходная мощность. Выходная мощность приемника не менее 0,5 Вт, при коэффициенте нелинейных искажений 10%.
Звуковое давление, развиваемое приемником на расстоянии 1 м при мощности 0,5 Вт, составляет 3,5 Бар.
Питание
Приемник питается от сети переменного тока с напряжением 110, 127 или 220 В. Потребляемая от сети мощность 40 Вт.
Электрическая схема
Приемник имеет рефлексную схему.
Основные отличия от приемника АРЗ-49 заключаются в способе выпрямления переменного тока и в замене лампы выходного каскада, а также в упрощении ряда элементов схемы.
Входная часть. Входная часть приемника по схеме совпадает с входной частью приемника АРЗ-49.
Преобразователь частоты. Схема преобразователя частоты, работающего на гептоде 6А10С или 6А7, аналогична схеме этой части приемника АРЗ-49.
В анодную цепь преобразовательной лампы включен первый контур L6C13 двухконтурного фильтра промежуточной частоты, шунтированный сопротивлением R4 для некоторого расширения полосы пропускания.
Усилитель промежуточной частоты, детектор, АРУ и предварительный усилитель низкой частоты. Двойной диод-пентод 6Б8С используется в этом каскаде приемника по рефлексной схеме так же, как и в приемнике АРЗ-49. Схема рефлексного каскада несколько упрощена за счет исключения двух сопротивлений и конденсатора из цепи управляющей сетки (R6, R7 и С19 в схеме АРЗ-49).
Оконечный усилитель. В оконечном усилителе используется лучевой тетрод 6П6С, на управляющую сетку которого усиленное напряжение звуковой частоты подается с сопротивления R7, представляющего низкочастотную нагрузку для пентодной части предыдущей лампы 6Б8С. Отрицательная обратная связь осуществляется за счет сопротивления R13, включенного в цепь катода лампы и не шунтированного емкостью.
Питание. Выпрямителем переменного тока служит кенотрон 6Ц5С, используемый по схеме двухполупериодного выпрямления.
Силовой автотрансформатор рассчитан таким образом, что одна из половин его обмотки используется для включения в сеть и одновременно для питания цепи одного из анодов кенотрона по автотрансформаторной схеме. Фильтр питания состоит из сопротивления R14 и электролитических конденсаторов C22 и С23.
Детали
Силовой автотрансформатор. Схема намотки автотрансформатора показана на рисунке.
Высокочастотные катушки. Конструктивно катушки высокой и промежуточной частоты выполнены аналогично катушкам приемников "Рекорд-47" и АРЗ-49, но электрически они не взаимозаменяемы с ними.
Выходной трансформатор. Первичная обмотка трансформатора содержит 3 000 витков провода ПЭЛ-1 0,16. Сопротивление обмотки постоянному току 525 Ом. Вторичная обмотка состоит из 73 витков провода ПЭЛ-1 0,51. Ее сопротивление постоянному току 0,55 Ом. Сердечник трансформатора собран из пластин Ш-16, набор 16 мм.
Громкоговоритель. Применен динамик типа 1ГД-1. Звуковая катушка динамика тора приемника АРЗ-51 имеет 60 витков провода ПЭЛ-1 0,16. Сопротивление катушки постоянному току около 3,25 Ом.
Расположение ламп и деталей на шасси приемника "АРЗ-51"
1 - конденсаторы переменной емкости; 2 - катушки входных контуров; 3 - 1-й ФПЧ; 4 - выходной трансформатор; 5 - электролитические конденсаторы; 6 - силовой автотрансформатор.
Схема проверки напряжений приемника "АРЗ-51"
Схема проверки сопротивлений приемника "АРЗ-51"

Литература
Принципиальная схема приемника "АРЗ-51"
Справочник по радиовещательным приёмникам Е.А. Левитина
Описание радиоприёмника "АРЗ-51" и схема в журнале "Радио" №5 за 1952 год
Комментарии
Рубрика ''Легенды ХХ
Рубрика ''Легенды ХХ века''.
Роман Иванюшкин, МТУСИ.
Бытовые радиоприёмники серии ''АРЗ''.
После Великой отечественной войны сразу несколько отечественных заводов начали выпуск бытовых радиоприемников. Приемники нового поколения были не такими громоздкими, как довоенные, и более дешевыми. Однако, по-прежнему большинство из них оставались недоступными широким слоям населения. Задача создания простого дешевого приемника все еще была одной из наиболее актуальных. В конце 1948 года Александровский радиозавод начинает выпуск радиоприемника АРЗ. Благодаря своей простоте и оригинальному схемотехническому решению, позволившему сократить число ламп, его цена была не столь высокой, как на другие приемники. Однако и показатели качества у АРЗ были не самыми лучшими. Этот радиоприемник мог принимать сигналы радиостанций только длинноволнового и средневолнового диапазона. Таким образом, основным предназначением АРЗ был прием местных радиостанций в центральной части СССР.
Первая партия приемников АРЗ сошла с конвейера в 1949 году. В последствии в 1951, 52 и 54 году приемники подверглись модернизации. Вне зависимости от года выпуска, все модели АРЗ выполнены по супергетеродинной схеме с пассивным преселектором. Входная цепь простейшая одноконтурная с емкостной связью с антенной. Дополнительно установлен режекторный последовательный контур, закорачивающий на корпус колебания с частотой равной промежуточной. Преобразователь частоты выполнен по автодинной схеме (т.е. смесительная лампа одновременно выполняет и функции автогенератора - гетеродина) на гептоде металлической серии типа 6А7 (6SA7). В ряде приемников вместо металлического гептода ставили стеклянный типа 6А10С. Промежуточная частота в приемниках АРЗ выбрана достаточно низкой и составляет 110 килогерц. Такая низкая промежуточная частота возможна потому, что в приемник работает лишь на длинноволновом и средневолновом диапазонах. Нагрузкой преобразователя является фильтр промежуточной частоты на двух связанных контурах.
Особенностью всех разновидностей приемника АРЗ является применение так называемой рефлексной схемы, что позволило уменьшить количество ламп и удешевить приемник. Рефлексный каскад выполнен на диод-пентоде типа 6Б8С, либо на его металлическом аналоге типа 6Б8. Внутри этой лампы помимо основной пентодной системы, также находятся два диода, которые во всех модификациях АРЗ включены параллельно и служат для детектирования АМ колебаний. Пентодная же часть лампы при рефлексном включении используется дважды. От первого фильтра промежуточной частоты, включаемого на выходе преобразовательного каскада, сигнал поступает на управляющую сетку пентодной части лампы 6Б8С (6Б8), где происходит усиление по промежуточной частоте. В анодной цепи этой лампы включен второй фильтр промежуточной частоты, нагрузкой которого является детектор. С выхода детектора, сигнал звуковой частоты через регулятор громкости повторно поступает на управляющую сетку пентодной части лампы 6Б8С (6Б8), в которой происходит усиление также и по звуковой частоте. Наконец, в анодной цепи, сигнал звуковой частоты проходит через резисторно-емкостную цепь связи, обладающую малым сопротивлением на звуковой частоте и большим сопротивлением на радиочастоте (промежуточной), и поступает на усилитель мощности. Попасть повторно в цепь детектора сигнал звуковой частоты с анода лампы 6Б8С уже не может, поскольку на его пути стоит резонансный фильтр промежуточной частоты. В процессе модернизации приемников АРЗ, схема рефлексного каскада претерпела небольшие изменения, однако принцип ее работы оставался таким же во всех модификациях АРЗ. Рефлексная схема применялась и в других приемниках - например, это все разновидности приемников "Москвич", а также радиола "Кама", о которых мы обязательно когда-нибудь расскажем подробнее.
Усилитель мощности звуковой частоты выполнен на лучевом тетроде типа 6П6С. Нагрузкой его является выходной трансформатор, ко вторичной обмотке которого подключен динамический громкоговоритель без внешнего подмагничивания. Часть первичной обмотки выходного трансформатора одновременно выполняет роль дросселя фильтра выпрямителя, что также позволило снизить себестоимость приемника. Первичная обмотка трансформатора зашунтирована конденсатором, благодаря чему несколько уменьшается уровень верхних звуковых частот, поскольку регулировки тембра в приемниках АРЗ не предусмотрено. Для уменьшения нелинейных искажений, каскад охвачен отрицательной обратной связью по току, для чего резистора автоматического смещения, установленный в катодную цепь лампы 6П6С не зашунтирован конденсатором, как это обычно делается при подобном способе организации смещения.
Выпрямитель в большинстве разновидностей приемников АРЗ выполнен по наипростейшей однополупериодной схеме. В модификации 1949 года в качестве выпрямительного элемента используется полупроводниковый селеновый диодный столб, впоследствии замененный кенотроном типа 6Х5, либо 6Ц5С. За исключением модификации 1952 года, где применена двухполупериодная схема выпрямления, оба анода кенотрона соединены параллельно. Во всех приемниках АРЗ кроме модификации 1954 года применена автотрансформаторная схема питания, поэтому заземление шасси категорически запрещалось.
Внешнее оформление и конструкция приемника показаны на прилагаемых иллюстрациях. П-образное шасси установлено в металлическом прямоугольном корпусе. Для электрической изоляции шасси от корпуса (поскольку применено автотрансформаторное питание), оно установлено на салазках с резиновыми прокладками. Сверху на шасси установлены силовой автотрансформатор, выходной трансформатор, контура фильтров промежуточной частоты, один из электролитических конденсаторов фильтра выпрямителя, лампы, а также блок конденсаторов переменной емкости с верньерным механизмом. Остальные детали расположены в подвале шасси. Большинство конденсаторов бумажные, а резисторы серий ТО и ВС.
На передней стенке корпуса слева расположен громкоговоритель, закрытый декоративной тканью, а справа находится шкала, оформленная видами московского кремля, либо репродукцией картины "Три богатыря". Внизу расположились три ручки управления. Одна из них служит для включения сети и одновременно регулировки громкости, вторая управляет галетным переключателем диапазонов, а третья - верньером настройки приемника.
Технические показатели приемников АРЗ скромны: чувствительность 300 мкВ, ослабление при расстройке на 10 кГц составляет 20 дБ, а по зеркальному каналу 15 дБ. Выходная мощность всего 0,5 Вт.
Напечатано в журнале ''Радиолюбитель'' № 12 за 2003 год.