Радиоприемник "Восток-49"

Радиоприемник "Восток-49" 

Сетевой настольный ламповый радиоприёмник "Восток-49" выпускался Новосибирским заводом Электросигнал с 1949 по 1954 год включительно.

Приемник "Восток-49" представляет собой шестиламповый супергетеродин с питанием от сети переменного тока.

Приемник обладает чувствительностью и избирательностью, достаточными для приема дальних станций, и обеспечивает громкоговорящий прием радиовещательных станций, работающих на диапазонах длинных, средних и коротких волн.

Для облегчения настройки в приемнике имеется оптический указатель точной настройки.

Приемник может быть использован для воспроизведения граммофонной записи от отдельного проигрывателя.

Конструкция основных узлов приемника такая же, как в приемниках "6Н-25" и "7Н-27".

Динамический громкоговоритель укреплен на передней стенке деревянного ящика. Выходной трансформатор находится под шасси.

Шкала приемника имеет оригинальную конструкцию и выполнена в виде четырех полосок (линеек) из органического стекла. Эти полоски устанавливаются в два держателя из пластмассы, укрепленные на передней стенке ящика перед декоративной тканью, закрывающей отверстие для динамика. На каждую полоску нанесена градуировка, соответствующая одному из поддиапазонов. При переключении диапазонов включаются лампочки, освещающие с торцов только одну из полосок; освещение шкалы является одновременно указателем включенного диапазона.

Переключатель диапазонов имеет 5 положений; четыре из них соответствуют четырем поддиапазонам, а пятое включает вход звукоснимателя и одновременно выключает все лампочки, освещающие шкалу.

На задней стенке шасси находятся гнезда для подключения антенны, заземления и звукоснимателя, колодка для переключения обмоток трансформатора на разные напряжения сети и плавкий предохранитель.

В дне ящика сделан вырез, закрытый тонкой крышкой, через который может быть произведен осмотр монтажа приемника.

Приемник имеет следующие каскады:

  1. Преобразователь на лампе 6А7.
  2. Усилитель промежуточной частоты на лампе 6К3.
  3. Детектор, АРУ и предварительный усилитель низкой частоты на лампе 6Г7.
  4. Оконечный усилитель на лампе 6П6С.
  5. Оптический указатель настройки на лампе 6Е5С.
  6. Выпрямитель на лампе 5Ц4С.

Диапазон принимаемых частот:

  1. Длинные волны - ДВ: 150-410 кГц (2000 - 732 м);
  2. Средние волны - СВ: 520 - 1500 кГц (577 - 20 м);
  3. Короткие волны - КВ-I: 4,0 - 9,8 МГц (75 - 30,5 м);
  4. Короткие волны - КВ-II: 11,5 - 16,1 МГц (26 - 18,6 м).

Промежуточная частота 465 кГц.

Основные технические данные

Чувствительность. Чувствительность не хуже 200 мкВ на длинных и средних волнах и не хуже 300 мкВ на коротких волнах.

Избирательность. Ослабление чувствительности при расстройке на +-10 кГц на длинных и средних волнах не менее 26 дБ (20 раз), а на коротких волнах не менее 20 дБ (10 раз). Ослабление сигнала по зеркальному каналу не менее 30 дБ (31 раз) на длинных и средних волнах и не менее 12 дБ (4 раза) на коротких волнах.

Частотная характеристика. Частотная характеристика низкочастотной части приемника (от входа звукоснимателя) обеспечивает изменение выходного напряжения не более чем в два раза (+- 6 дБ) в диапазоне 80-6000 Гц.

Частотная характеристика всего приемника (от антенного входа) по звуковому давлению обеспечивает прохождение полосы частот от 100 до 4000 Гц при неравномерности не более 20 дБ (10 раз).

Автоматическая регулировка усиления. АРУ обеспечивает изменение напряжения на выходе приемника не более чем на 8 дБ (2,5 раза) при изменении напряжения на входе на 26 дБ (20 раз).

Выходная мощность. Выходная мощность приемника не менее 1,5 Вт при коэффициенте нелинейных искажений, не превышающем 10 %.

Питание

Приемник питается от сети переменного тока с напряжением 110, 127 или 220 В. Потребляемая от сети мощность 80 Вт.

Электрическая схема

Входная часть. Входная часть приемника состоит из контура (отдельного для каждого из поддиапазонов), связанного индуктивно с антенной. На длинных и средних волнах катушки связи L5 и L7 отдельные для каждого диапазона, на коротких волнах катушка связи L3 - общая для обоих диапазонов.

Напряжение с входного контура подается на третью сетку лампы 6А7.

Последовательно в цепь антенны включен запирающий фильтр-пробка L1C1C2, настроенный на промежуточную частоту 460 кГц и предохраняющий вход приемника от проникновения сигналов станций, работающих на частоте, равной или близкой к промежуточной частоте приемника.

Преобразователь частоты. В преобразователе частоты работает по обычной схеме гептод 6А7.

Для повышения стабильности частоты гетеродина параллельно конденсатору настройки С20 включен керамический (тикондовый) конденсатор малой емкости С17, компенсирующий изменение емкости контура гетеродина при разогреве ламп и приемника.

В анодную цепь лампы 6А7 включен первичный контур L13C29 первого фильтра промежуточной частоты.

Усилитель промежуточной частоты. В усилителе промежуточной частоты используется высокочастотный пентод 6КЗ, работающий по обычной схеме. Вторичный контур L14C31 первого фильтра промежуточной частоты включен в цепь управляющей сетки лампы, а первичный контур L15C35 второго фильтра промежуточной частоты в анодную цепь лампы.

Детектор, АРУ и предварительный усилитель низкой частоты. В этом каскаде приемника используется двойной диод-триод 6Г7.

Напряжение промежуточной частоты с контура L16C36 второго фильтра промежуточной частоты подается на диод, выполняющий функции детектора. Напряжение звуковой частоты образуется на нагрузке диода - сопротивлениях R11 и R12. Параллельно части этой нагрузки включено через емкость C38 переменное сопротивление R13, используемое в качестве регулятора громкости.

Напряжение с движка R13 подается на сетку триодной части лампы, которая работает в качестве реостатного усилителя. Благодаря наличию отвода от части сопротивления R13 заземляемого через цепочку из R14C40, регулировка громкости оказывается тонкомпенсированной (при малой громкости несколько выделяются наиболее низкие звуковые частоты), что делает звучание более естественным.

Второй диод лампы используется для получения напряжения АРУ, подаваемого на две первые пампы приемника.

В пятом положении переключателя диапазонов гнезда звукоснимателя присоединяются параллельно регулятору громкости, который при этом отключается от детектора. Этим исключается возможность прохождения сигналов из антенны в усилитель низкой частоты при проигрывании граммофонных пластинок.

Оконечный усилитель. В оконечном усилителе применен лучевой тетрод 6П6С (6V6), в анодную цепь которого через выходной трансформатор включен динамический громкоговоритель с постоянным магнитом.

Регулировка тембра осуществляется за счет частотно-зависимой отрицательной обратной связи с цепи анода в цепь сетки пампы через емкость C46 и переменное сопротивление R20.

Выпрямитель. В выпрямителе работает кенотрон 5Ц4С по обычной двухполупериодной схеме. Для сглаживания пульсации выпрямленного напряжения служит фильтр из отдельного дросселя и двух электролитических конденсаторов С46 и С50.

Начальное отрицательное смещение на управляющих сетках первых трех ламп и на диоде АРУ получается за счет падения напряжения при прохождении анодного тока всех ламп через сопротивления R23 и R24.

Детали

Выходной трансформатор. Первичная обмотка трансформатора имеет 2 800 витков провода ПЭЛ-1 0,12. Сопротивление обмотки постоянному току 420 Ом. Вторичная обмотка содержит 79 витков провода ПЭЛ-1 0,64. Сопротивление ее постоянному току 0,56 Ом. Сердечник трансформатора собран из пластин Ш-18, набор 20 мм.

Силовой трансформатор. Сердечник трансформатора состоит из пластин Ш-32, набор 45 мм. Сетевая обмотка - 1 часть - 414 витков провода ПЭЛ-1 0,33 (90 Ом), отвод от 55 витка; 2 часть - 414 витков провода ПЭЛ-1 0,33 (90 Ом), отвод от 359 витка. Повышающая обмотка 2x820 витков провода ПЭЛ-1 0,18 (2х300 Ом). Обмотка накала ламп - 23 витка провода ПЭЛ-1 1,0 (0,13 Ом). Обмотка накала кенотрона - 18 витков провода ПЭЛ-1 1,0 (0,1 Ом). Экран.

Громкоговоритель. Сопротивление звуковой катушки громкоговорителя постоянному току 3,2 Ом. 

Расположение ламп и деталей на шасси приемника "Восток-49"

Расположение ламп и деталей на шасси приемника "Восток-49" 

 1 - конденсаторы переменной емкости; 2 - антенные катушки длинных волн; 3 - катушка гетеродина длинных волк; 4 - 1-й ФПЧ; 5 - 2-й ФПЧ; 6 - выходной трансформатор; 7 - электролитические конденсаторы; 8 - силовой трансформатор.

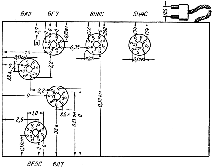
 Схема проверки сопротивлений приемника "Восток-49"

Схема проверки сопротивлений приемника "Восток-49" 

Литература:

  1. Принципиальная схема приемника "Восток-49"
  2. Краткое описание  приемника "Восток-49"
  3. Описание и схема радиоприёмника "Восток-49" в книге Е.А.Левитина 
  4. Описание и схема приёмника в журнале РАДИО № 4 за 1950 год

 

Комментарии