
Сетевой ламповый радиоприёмник 2-го класса Punane-RET "VV-662" выпускался Таллинским заводом "Пунане-РЭТ" Эстонской ССР, с 1950 года.
Радиоприёмник разработан на основе модели ''VV-661'' и в серии первых выпусков по внешнему оформлению практически не отличался от базовой модели. С 1951 года внешнее оформление было немного изменено. Радиоприёмник ''VV-662'' представляет собой шестиламповый супергетеродин второго класса настольного типа.
Конструкция
Приемник заключен в ящик, внутри которого укреплен громкоговоритель. На переднюю стенку ящика выведены четыре ручки. Считая слева направо, они расположены в следующем порядке: регулятор громкости и выключатель сети; регулятор тембра; настройка; переключатель диапазонов. Шкала приемника освещается двумя лампочками, с правой стороны шкалы передвигается стрелка-указатель, связанная с переключателем диапазонов. Сзади на шасси приемника разрешены гнезда для подключения антенны, заземления, адаптера и дополнительного громкоговорителя.
Приемник имеет следующие каскады:
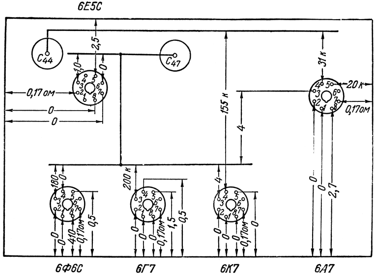
- Гетеродин и первый детектор - 6А7.
- Усилитель промежуточной частоты - 6К7.
- Второй детектор, автоматический регулятор чувствительности и усилитель низкой частоты - 6Г7.
- Входной усилитель мощности - 6Ф6С.
- Оптический индикатор настройки - 6Е5С.
- Выпрямитель - 5Ц4С.
Диапазон принимаемых частот:
- Длинные волны - ДВ: 150-410 кГц;
- Средние волны - СВ: 520 - 1500 МГц;
- Короткие волны - КВ-1: 4 - 13.5 МГц;
- Короткие волны - КВ-2: 13.5 - 18.7 МГц;
Промежуточная частота тракта 465 кГц.
Чувствительность на всех диапазонах - 150...300 мкВ. Избирательность по соседнему каналу 26 дБ, по зеркальному каналу на ДВ, СВ не менее 30 дБ, на поддиапазонах КВ-1 и КВ-2 не менее 12 дБ. Номинальная выходная мощность усилителя низкой частоты 1,5 Вт. Полоса эффективно воспроизводимых звуковых частот - 100...3500 Гц. Потребляемая мощность 70 Вт. Габариты радиоприёмника 610х340х260 мм. Масса - 16 кг.
Расположение ламп и деталей на шасси приемника "VV-662"

Схема проверки напряжений приемника "VV-662"
Схема проверки сопротивлений приемника "VV-662"

Комментарии