Трансивер прямого преобразования на 160 метров (RA3AAE)

Диапазон 160 м приобретает все большую популярность среди радиоспортсменов. И это не удивительно — с помощью сравнительно несложной аппаратуры здесь можно устанавливать дальние связи. Сейчас этот диапазон активно осваивают начинающие радиолюбители, охотно пользуются им коротковолновики и ультракоротковолновики. Пройдет немного времени и в эфире станет тесно всем желающим поработать на 160 метрах.

Вот почему уже сегодня мы поднимаем вопрос об “уплотнении” диапазона, об использовании эффективных видов модуляции, позволяющих уменьшить полосу частот, занимаемую станцией в эфире. К таким видам относится однополосная модуляция, которая используется в предлагаемом трансивере. Разработал его известный радиолюбитель-конструктор В. Поляков.

Известно, что любительская радиостанция, использующая амплитудную модуляцию (AM), излучает несущую частоту передатчика, а также полосы частот выше и ниже ее, называемые соответственно верхней и нижней боковыми полосами. В то же время для передачи информации достаточно излучать лишь одну любую боковую полосу. Это приведет не только к снижению нужной выходной мощности передатчика, но и к уменьшению помех из-за биений между несущими частотами различных радиостанций.

Вот почему радиолюбители все чаще, строят радиостанции, в которых при передаче подавляется несущая и одна боковая полоса частот. Такой способ применен и в предлагаемом трансивере прямого преобразования (кстати, трансивером называют радиостанцию, в которой часть каскадов используется как при передаче, так и при приеме).

Трансивер не содержит дорогостоящих или дефицитных деталей. Изготовить и наладить его не сложнее, чем аппаратуру AM радиостанции. По сравнению с трансиверами, выполненными по супергетеродинной схеме с электромеханическим фильтром в тракте промежуточной частоты, он обладает лишь одним недостатком — меньшей избирательностью в режиме приема и меньшим подавлением (20...40 дБ в зависимости от частоты звукового сигнала) верхней боковой полосы при передаче. В трансивере сравнительно хорошо подавлена несущая (не хуже 50 дБ) — она не прослушивается даже близкими корреспондентами.

Структурная схема трансивера приведена на вкладке. При приеме сигнал из антенны поступает на усилитель ВЧ приемника и далее на однополосный смеситель. Здесь он смешивается с сигналом местного гетеродина, настроенного на частоту подавленной несущей принимаемого сигнала. В результате преобразования выделяется напряжение звуковой частоты F = fr—fc. Через переключатель S1 “Прием — Передача” оно подается на усилитель НЧ, нагруженный на головные телефоны В1.

В режиме передачи сигнал звуковой частоты от микрофона В2 усиливается и через переключатель S1 подается на однополосный .смеситель. Теперь преобразование частоты происходит в соответствии с формулой fc = fr—F и на выходе смесителя выделяется однополосный высокочастотный сигнал. Он поступает на предварительный усилитель, а затем на усилитель мощности. Высокочастотные каскады переключают с приема на передачу коммутацией питающего напряжения.

Самым главным узлом трансивера является, конечно, однополосный смеситель. В нем использован фазовый метод подавления нерабочей боковой полосы частот. Рассмотрим несколько подробнее принцип его работы по структурной схеме (рис. 1). 

 Структурная схема трансивера

 Условно примем одинаковыми фазы входного сигнала и гетеродина. При приеме поступающий от усилителя ВЧ сигнал сдвигается по фазе высокочастотным фазовращателем в верхнем (по схеме) канале на +45°, а в нижнем на -45°. Преобразованные низкочастотные сигналы сдвигаются по фазе низкочастотным фазовращателем на +45° в верхнем канале и на —45° в нижнем. Предположим, что входной сигнал выше по частоте гетеродинного н преобразование соответственно идет по формуле f = fc—fr В этом случае балансные смесители фазу сигнала не изменяют. После “обработки” сигнала однополосным смесителем на выходе НЧ фазовращателя окажутся сигналы, сдвинутые по фазе относительно друг друга на 180° — они, естественно, взаимно компенсируют друг друга. Если же частота входного сигнала ниже частоты гетеродина, преобразование происходит по формуле F = fг-fc. Балансные смесители изменяют фазу сигнала на обратную, и на выходе НЧ фазовращателя окажутся сигналы с одинаковым фазовым сдвигом. В результате амплитуда низкочастотного сигнала удвоится.

При работе в режиме передачи происходят аналогичные процессы. Низкочастотный сигнал получает в верхнем канале НЧ фазовращателя фазовый сдвиг +45°, а в нижнем —45°. После преобразования частоты на выходах балансных смесителей образуются верхняя и нижняя боковые полосы. Сигналы верхней боковой полосы становятся после ВЧ фазовращателя противофазными и подавляются, а нижней боковой полосы — складываются. Иначе говоря, как при приеме, так и при передаче однополосный смеситель подавляет верхнюю и выделяет нижнюю боковую полосу.

Теперь перейдем к знакомству с работой трансивера по его принципиальной схеме (рис. 2). Начнем с высоко частотных каскадов. Антенна и заземление (противовес) подключены через разъем X1 к выходному П-контуру передатчика, образованному катушкой L1, конденсатором переменной емкости в С12 и одним из конденсаторов C1-С11. Через конденсатор связи С18 принимаемый сигнал поступает на входной контур L3C16 (он настроен на среднюю частоту диапазона — 1900 кГц) усилителя ВЧ приемника, собранного на транзисторе V7. Диоды VI, V2 защищают усилитель при работе передатчика. Сигнал на базу транзистора усилителя ВЧ поступает с контура через катушку связи L4. Резистор R3 обеспечивает смещение рабочей точки на линейный участок переходной характеристики транзистора, а напряжение питания (отрицательной полярности) подводится к цепи эмиттера через резистор R11 от переключателя S2.1 “Прием — Передача”.

Цепочка R8C25 служит для регулировки усиления каскада. При увеличении сопротивления резистора R8 увеличивается отрицательная обратная связь и соответственно снижается усиление. В коллекторную цепь транзистора V7 включен контур L6C27, настроенный, как и входной, на среднюю частоту диапазона — 1900 кГц. Его полоса пропускания достаточно широка для того, чтобы ослабление сигнала на крайних частотах диапазона было незначительным.- Диод V10, включенный в прямом направлении, открывается коллекторным током транзистора V7 и не оказывает влияния на работу усилителя ВЧ. Когда переключатель S2.1 находится в положении “Передача”, напряжение питания отключается от усилителя ВЧ и сопротивление диода V10 возрастает до нескольких мегаом, обеспечивая дополнительную развязку между контуром L6C27 и выходным П-контуром трансивера. Через катушку L7 контур L6C27 связан с однополосным смесителем.

При работе в режиме передачи напряжение питания подается переключателем S2.1 на транзистор V12 и V11 предварительного усилителя ВЧ передатчика. Диод VI3 при этом открывается, соединяя вход усилителя с контуром L6C27. Поскольку транзистор V12 включен по схеме эмиттерного повторителя, он обладает высоким входным сопротивлением и слабо шунтирует контур. Транзистор VII работает в режиме усиления напряжения. Его нагрузкой служит колебательный контур L5C24, настроенный также на среднюю частоту диапазона (1900 кГц). Для компенсации избытка усиления и уменьшения опасности самовозбуждения контур зашунтирован резистором R7. Усиленный высокочастотный сигнал поступает на сетку единственной в трансивере лампы усилителя мощности V4. Сеточное смещение (около — б В) задается делителем, составленным из резисторов R9 и R6. Диод. V8 при этом открыт током, протекающим через делитель. В режиме приема на сетку лампы через диод V9 поступает напряжение — 12 В и лампа полностью закрывается. Таким образом осуществляется электронная коммутация высокочастотных каскадов.

Напряжение на экранной сетке лампы V4 (+160 В) стабилизировано двумя последовательно включенными стабилитронами V5, V6. Анодная цепь выполнена по схеме параллельного питания. Постоянная составляющая анодного тока проходит от источника питания (+300 В) через миллиамперметр РА1 и дроссель L2. Переменная высокочастотная составляющая ответвляется через конденсатор CIS в выходной П-контур. Для настройки контура в резонанс служит переменный конденсатор С12, а для подбора связи с антенной — переключаемые конденсаторы С1—С11. Их емкости Подобраны такими, чтобы обеспечить согласование с любой нагрузкой, имеющей сопротивление 40...400 Ом. Для индикации настройки контура в резонанс служит неоновая лампа V3, слабо связанная с контуром через конденсатор С14 и емкость монтажа (один вывод лампы остается свободным).

Перейдем теперь к преобразователю частоты. Гетеродин трансивера собран по схеме емкостной “трехточки” на транзисторе V21. Контур гетеродина состоит из катушки L10 и конденсаторов С36—С39. Он настроен на частоту, вдвое меньшую частоты сигнала, и перестраивается конденсатором С39 в диапазоне 925...975 кГц. Обратная связь, необходимая для возникновения колебаний, создается емкостным делителем С36С37. Эти конденсаторы, включенные параллельно переходам транзистора, имеют значительную емкость, что способствует повышению стабильности частоты гетеродина. Той же цели служит и буферный, или развязывающий, каскад, собранный на транзисторе V20. Одновременно он является удвоителем частоты. Для повышения эффективности работы каскада смещение на базу транзистора V20 не подается. Коллекторный ток в этих условиях носит характер коротких импульсов (режим класса С) и богат гармониками основной частоты. Вторая гармоника с частотой 1850...1950 кГц выделяется контуром L8C32, настроенным на среднюю частоту этого диапазона. Напряжение питания гетеродина стабилизировано цепочкой R23V18.

 Принципиальная схема трансивера прямого преобразования RA3AAEПринципиальная схема трансивера прямого преобразования RA3AAE

Однополосный смеситель выполнен на диодах V14—V17 и связан с гетеродином через катушку L9. Одна полуволна гетеродинного напряжения открывает два верхних (по схеме) диода, другая — два нижних. При этом сопротивление цепи между средними выводами балансировочных резисторов R16, R17 и общим проводом периодически уменьшается до нескольких сотен ом, что и обеспечивает преобразование частоты. Напряжение гетеродина в цепь сигнала при точной балансировке смесителей не поступает.

Высокочастотный фазоврашатель выполнен по простейшей схеме на конденсаторе С29 и подстроечном резисторе R15. Через них проходит один и тот же ток от катушки связи L7, но напряжение на конденсаторе сдвинуто по фазе на 90° относительно напряжения на резисторе, что и обеспечивает необходимые фазовые сдвиги ±45 в каналах смесителя. Конденсаторы С30, С31, С40, C41 и дроссели Lll,LI2 служат для разделения высокочастотных н низкочастотных токов, протекающих в каналах через смесительные диоды.

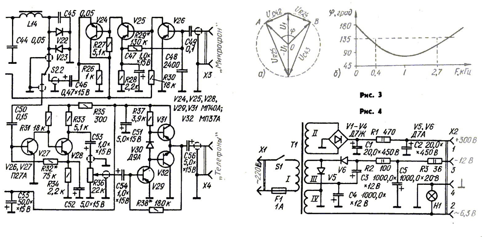
Низкочастотный фазоврашатель должен работать в широкой полосе звуковых частот, поэтому схема его несколько сложнее. Он содержит симметрирующий трансформатор L13 и две фазосдвигающих цепочки R24C43 и R25C42, Их характеристические частоты (F= 1/2?RС) примерно соответствуют, крайним частотам звукового спектра 300 Гц и 3 кГц. Работу этого фазовращателя удобнее всего пояснить с помощью векторной диаграммы (рис. 3, а). На ней вектором (U1 обозначено напряжение НЧ на верхней (по схеме) половине обмотки симметрирующего трансформатора L13, а –U1 — на нижней. Средний вывод обмотки (точка 0) соединен с общим проводом. Напряжение на конденсаторе С42 сдвинуто по фазе на 90° относительно напряжения на резисторе R25, а сумма этих напряжений равна 2U1. Напряжение НЧ на выходе данной цепочки обозначено вектором ОА. Аналогично напряжение на выходе цепочки R24C43 обозначено вектором ОВ. Параметры цепочек выбираются такими, чтобы yгол ? между векторами ОА и ОВ, т . е. фазовый сдвиг между выходными напряжениями, был равен 90?. При повышении частоты звукового сигнала напряжение на конденсаторах цепочек уменьшается, поскольку их емкостное сопротивление падает, а на резисторах увеличивается. Концы векторов ОА и ОВ при этом движутся вправо по окружности, обозначенной на рисунке штриховой линией. Их длина, соответствующая амплитуде выходного сигнала, остается постоянной.

При понижении частоты оба вектора вращаются влево. Таким образом, в некоторой полосе частот фазовый сдвиг между сигналами на выходах фазовращателя сохраняется примерно постоянным и равным 90°. Если же частота стремится к нулю или к очень высокому значению, фазовый сдвиг приближается к 180°. Зависимость фазового сдвига от частоты показана на рис. 3,б. Теоретически данный фазоврашатель второго порядка способен обеспечить в полосе частот 400...2700 Гц такую точность фазового сдвига, при которой подавление одной боковой полосы будет не хуже 20 дБ, причем в этой полосе частот имеются две точки “бесконечного” подавления на частотах около 700 и 1500 Гц. где фазовый сдвиг равен точно 90°.

К низкочастотному выходу однополосного смесителя подключен фильтр нижних частот (ФНЧ) L14C44C45, ослабляющий частоты выше 2700 Гц. Он определяет селективность трансивера по соседнему каналу в режиме приема и ограничивает ширину излучаемого спектра при передаче. Затухание сигнала с частотой 10 кГц в ФНЧ достигает 40 дБ.

При работе в режиме передачи ФНЧ подключается переключателем S2.2 к выходу микрофонного усилителя, выполненного на транзисторах V24—V26. Первые (от разъема ХЗ) два каскада выполнены по обычной схеме усилителя НЧ с непосредственной связью между каскадами. Транзистор третьего каскада V24 включен эмиттерным повторителем и служит для согласования выходного сопротивления усилителя с характеристическим сопротивлением ФНЧ. Микрофонный усилитель рассчитан на работу от динамического микрофона, например, МД-200. Диоды V22, V23, подключенные встречно-параллельно к входу ФНЧ, срезают пики звукового сигнала при слишком громком разговоре перед микрофоном. Возникающие при этом гармоники, лежащие за пределами выбранного звукового диапазона, подавляются в ФНЧ. При приеме напряжение на выходе ФНЧ никогда не достигает порога открывания диодов (0,5 В), и они не влияют на работу устройства.

Усилитель НЧ приемника собран на пяти транзисторах. В первом каскаде применен малошумящий транзистор типа П27А (V27) для снижения общего уровня шумов приемной части. Практически уровень шума приемника определяется шумами усилителя ВЧ. Второй каскад (V28) — усилитель напряжения. Связь между этими каскадами непосредственная. Смещение на базу первого транзистора подается через резистор R32 из эмиттерной цепи второго, обеспечивая стабилизацию режима обоих транзисторов. Сигнал на третий каскад (V29) подается через переменный резистор R36 (регулятор громкости). Выходной каскад выполнен по схеме двухтактного эмиттерного повторителя на транзисторах V31 и V32. Коллекторный ток транзистора V29, проходя через открытый диод V30, создает на нем небольшое падение напряжения (около 0,15 В), служащее напряжением смещения выходных транзисторов. Это уменьшает искажения типа “ступенька”, характерные для двухтактных каскадов, работающих в режиме класса В. Выход усилителя рассчитан на подключение головных телефонов с сопротивлением постоянному току не менее 50 Ом или абонентского громкоговорителя.

Трансивер питается от двух выпрямителей (рис. 4), смонтированных вместе с трансформатором питания в отдельном корпусе. Такое решение позволило полностью устранить фон переменного тока. Выпрямитель анодного напряжения собран по мостовой схеме на диодах VI—V4. В сглаживающем фильтре установлены конденсаторы C1,C2 и резистор R1. Использованный автором трансформатор питания от радиолы “ВЭФ-радио” не имеет понижающей обмотки на 12—15 В, поэтому низковольтный (—12 В) выпрямитель собран по схеме удвоения напряжения на диодах V5, V6 и подключен к обмотке накала на 6,3 В. Выпрямленное напряжение стабилизировано с помощью стабилитрона V19, расположенного в корпусе трансивера. Подобное размещение стабилитрона также способствует снижению фона.

Детали и конструкция.

Высокочастотные транзисторы V7, V11,V12, V20 и V21 — серий КТ315 и КТ312 с любым буквенным индексом, годятся также более современные маломощные кремниевые транзисторы с граничной частотой не менее 120 МГц. В усилителе НЧ и микрофонном усилителе можно использовать любые маломощные низкочастотные транзисторы структуры р-п-р, например МП14-МП16, МП39-МП42, ГТ108. Желательно, чтобы транзисторы V26, и особенно V27, были малошумящими, например, МП13Б, МП39Б, П27А, П28, КТ326, КТ361.

Для однополосного смесителя подойдут любые высокочастотные диоды — Д311, Д312, ГД507, ГД508. Можно применить и диоды серий Д2, Д9, Д18-Д20, но результат будет хуже, Любой из перечисленных диодов подойдет и для усилителя НЧ (V30). Коммутирующие и ограничительные диоды VI, V2, V8—V10, V13, V22, V23 —маломощные, любого типа, но обязательно кремниевые (например, Д104, Д105, Д219—Д223), поскольку они открываются при прямом напряжении около 0,5 В и обладают хорошими изолирующими свойствами при отсутствии смещения.

Стабилитрон V18 применяют любого типа с напряжением стабилизации 8...9 В. Учитывая, что через V19 может протекать ток до 50 мА, желательно использовать мощный стабилитрон с напряжением стабилизации 12...13 В. Допустимо применение стабилитронов Д813. Д814Д, КС512А, если их корпус надеть радиатор. Стабилитроны V5, V6 вполне заменит один газонаполненный стабилизатор напряжения СГ1П. Можно вообще обойтись без стабилизации экранного напряжения, подключив экранную сетку лампы к делителю напряжения, составленному из двух резисторов сопротивлением по 10...12 кОм и мощностью рассеивания более 2 Вт.

Резисторы пригодны любых типов, не ниже указанной на схеме мощности. В колебательных контурах трансивера желательно использовать керамические конденсаторы постоянной емкости. Особое внимание следует уделить подбору конденсаторов гетеродина С35-С38 — они должны быть с малым температурным коэффициентом емкости (ТКЕ). Кроме керамических, можно использовать слюдяные спрессованные конденсаторы КСО или герметизированные СГМ. Конденсаторы выходного П-контура и анодных цепей выходного каскада (C13—C15, C17-C19) должны быть рассчитаны на рабочее напряжение не ниже 500В. Емкости разделительных и блокировочных конденсаторов (например, С25, С26, С28, СЗ1, C48) некритичны и могут отличаться от указанных на схеме в 2…3 раза. На работе трансивера это не скажется. То же самое относится и к электролитическим конденсаторам низкочастотной части трансивера. Их номинальное напряжение должно быть не менее 12В.

Для настройки гетеродина служит подстроечный конденсатор с воздушным диэлектриком (С39), содержащий 8 подвижных и 9 неподвижных пластин. Его ось выведена не переднюю панель трансивера и оснащена ручкой настройки большого диаметра с круглой шкалой в виде диска. При отсутствии такого конденсатора можно использовать одну секцию блока КПЕ от любого малогабаритного транзисторного приемника. Переменным конденсатором П-контура может служить любой КПЕ с воздушным диэлектриком или одна секция блока КПЕ с максимальной емкостью 360...510 пФ. Подойдет и КПЕ с меньшей емкостью, параллельно ему придется подключить конденсатор постоянной емкости на 150...200 пФ. Это позволит также более плавно настраивать контур в резонанс.

Индикатор PA1, контролирующий анодный ток лампы, а значит, и подводимую мощность, любой малогабаритный с током полного отклонения стрелки 50 мА. Если есть индикатор с меньшим током, параллельно ему включают низкоомный шунт с нужным сопротивлением (его нетрудно подсчитать по известным формулам). Переключатель S1 — галетный, на 11 положений, например 11П1Н. Переключателем S2 служит двухсекционный тумблер ТП1-2, ручку которого для удобства желательно удлинить. Разъемы XI—Х4, неоновая лампа и остальные неупомянутые детали могут быть любые.

Трансформатор питания подойдет от любого лампового радиовещательного приемника или радиолы 2—3-го классов номинальной мощностью 30...50 Вт и с двумя накальными обмотками.

Катушка L1 выходного П-контура содержит 60 витков провода ПЭЛ 0,6, наметанных виток к витку на керамическом каркасе диаметром 16 мм. Выводы обмотки закреплены полосками лакоткани и клеем БФ-2. Остальные контурные катушки намотаны проводом ЛЭШО 7X0,07 (или ПЭЛШО 0,15...0,25) в броневых сердечниках типа СБ-12а. Катушки связи размещены поверх соответствующих контурных - их наматывают проводом ПЭЛШО 0,15... 0,25. Катушка L3 содержит 25 витков, L4—6, L5—25 витков с отводом от середины, L6-25, L7—12, L8—56, L9—10 витков с отводом от середины, L10—53 витка. Катушка гетеродина L10 установлена не на печатной плате, а в цилиндрическом алюминиевом экране диаметром 20...30 и высотой 30...40 мм (катушка расположена примерно в середине экрана и прикреплена к гетинаксовой планке). В свою очередь экран прикреплен изнутри к передней панели трансивера рядом с конденсатором настройки С39. Это улучшает температурную стабильность контура благодаря большой тепловой инерции шасси и защищает контур от высокочастотных наводок, что в конечном итоге способствует повышению стабильности частоты.

Дроссель L2 намотан проводом ПЭЛ 0,1 на семисекционном керамическом каркасе с внешним диаметром 10 и длиной 20 мм. Число витков его не критично и может быть 300...600. При отсутствии подходящего каркаса его заменит керамическая трубка (корпус резистора ВС-2 или конденсатора типа КБГ), Намотка в этом случае должна быть секционной — типа универсаль Можно изготовить и картонные щечки, хорошо пропитав их изолирующим лаком, и намотать дроссель “внавал”.

Дроссели L11 и L12 готовые, индуктивность 470 мкГ. При самостоятельном изготовлении их целесообразно выполнить на колечках диаметром 7... 10 мм из феррита М1000—М3000, намотав около 70 витков провода ПЭЛ или ПЭЛШО диаметром 0,1 мм.

Симметрирующим трансформатором L13 служит выходной трансформатор от портативного транзисторного приемника. Его вторичная обмотка не используется. Первичную обмотку другого такого же трансформатора можно использовать как катушку фильтра L14. Тем не менее целесообразно намотать трансформатор и катушку на кольцах типоразмера К20Х12хб из феррита М2000НН. Это уменьшит возможное влияние магнитных наводок от расположенной рядом сетевой аппаратуры. Трансформатор L13 содержит 1000 витков с отводом от середины, а катушка L14 — 270 витков провода ПЭЛ или ПЭВ (лучше ПЭЛШО) диаметром 0,07...0,15 мм. Наматывать трансформатор целесообразно двумя сложенными вместе проводами. После намотки начало одной обмотки соединяют с концом другой, образуя средний вывод.

Почти все детали транзисторной части трансивера могут быть смонтированы на печатной плате из одностороннего фольгированного стеклотекстолита или гетинакса размерами 100x200 мм (рис. 5).

Печатная плата трансивера ПП RA3AAE Печатная плата трансивера ПП RA3AAE

Изолирующие “дорожки” между “островками” фольги протравливают, гравируют или прорезают любым способом. В трансивере вполне допустимо применить и навесной монтаж, изготовив металлическое шасси и установив на нем достаточное количество опорных стоек и лепестков. Броневые сердечники катушек приклеивают клеем БФ-2 непосредственно к печатной плате с нефольгированной стороны, В экземпляре трансивера, изготовленном автором в соответствии с приводимым описанием, экранировать катушки не понадобилось.

 Конструкция шасси трансивера показана на вкладке. Все детали его изготовлены из листового дюралюминия, боковые и средняя стенки — толщиной 5 мм, передняя панель — 3 мм, задняя панель, верхняя и нижняя крышки — 1,5...2 мм. Верхняя крышка аналогична нижней. Отверстия под крепежные винты сверлят “в торец” в боковых и средней стенках. В отверстиях нарезают резьбу МЗ. После сборки шасси даже без крышек оказывается достаточно жестким. Печатную плату привинчивают снизу к левой боковой и средней стенкам. Ее можно закрепить и дюралюминиевыми угольниками, в этом случае высоту стенок делают равной высоте шасси, а длину печатной платы уменьшают на 10 мм.

Лампу и все детали: выходного контура устанавливают в отсеке между средней и правой боковой стенками. Катушку L1 и дроссель L2 крепят к средней или боковой стенке.

Все органы управления трансивером размещают на передней панели. В нижнем ряду слева направо расположены разъем для головных телефонов, регулятор усиления ВЧ. переключатель S2 “Прием — Передача”, регулятор громкости, разъем под микрофон или микротелефонную гарнитуру. В верхнем ряду справа от индикатора расположены конденсатор С12 (Настройка П-контура) и переключатель S1 (связь с антенной), а между ними установлена индикаторная неоновая лампа VS. Разъемы XI и Х2 установлены на задней панели шасси.

Стабилитрон V19 установлен на небольшом дюралюминиевом уголке (радиаторе) и через изолирующую прокладку закреплен изнутри на задней панели. Стабилитроны V5 и V6 установлены на средней стенке под ламповой панелькой. Один из них закреплен через слюдяную прокладку. Там же можно установить и вторую ламповую панельку под газовый стабилизатор напряжения СГ1П.

Предлагаемая конструкция шасси удобна тем, что перепаивать детали и настраивать трансивер можно, отвинтив лишь верхнюю и нижнюю крышки. Кроме того, средняя перегородка экранирует выходной каскад от остальной части трансивера и изолирует тепловой поток выходной лампы (в крышках напротив сверлят вентиляционные отверстия). Боковые стенки корпуса целесообразно облицевать снаружи декоративным пластиком или гетинаксом, вырезав накладки по размеру боковых стенок с припуском, чтобы закрыть торцы передней, задней, верхней и нижней панелей.

Прежде чем приступить к изготовлению шасси, необходимо собрать все крупногабаритные детали и проверить, размещаются ли они на отведенных местах. При использовании устаревших типов КПЕ, например, или 'крупногабаритного стрелочного индикатора размеры шасси придется увеличить.

Конструкция блока питания любая, обеспечивающая прочность корпуса и безопасность в работе (не должно быть доступа к токонесущим деталям и проводам, поскольку напряжение +300 В является безусловно опасным!).

Налаживание трансивера начинают с низкочастотной части. На это время высокое напряжение в блоке питания отключают. Напряжение на эмиттерах транзисторов V31 и V32 должно равняться половине напряжения питания (—6 В). Его можно установить подбором резистора R38. Аналогично напряжение на коллекторе транзисторов V28 и V25 (—6...8 В) устанавливается подбором резисторов R32 и R29 соответственно.

Полезно снять частотную характеристику усилителя НЧ приемника вместе с фильтром нижних частот. С этой целью подают на один из выводов симметрирующего трансформатора L13 сигнал от звукового генератора, а к разъему Х4 подключают осциллограф. Чтобы выходной каскад усилителя не ограничивал сигнал, напряжение генератора не должно превышать 100 мкВ. амплитудно-частотная характеристика (АЧХ) должна быть равномерной или с небольшим подъемом на высших частотах диапазона 400...2700 Гц. Частоту среза ФНЧ (2700 Гц) устанавливают подбором числа витков Катушки L14 и емкости конденсаторов С44, С45 в пределах 0,03...0,1 мкФ. АЧХ микрофонного усилителя должна иметь заметный подъём на верхних частотах звукового спектра-это улучшает разборчивость сигнала. Крутизна подъема АЧХ зависит от емкостей разделительного (С49) и блокировочного (С47) конденсаторов. Режим транзистора V7 проверяют, измеряя напряжение на его эмиттере (6...9 В). Режим транзисторов предварительного усилителя передатчика подгонки не требует.

Наличие генерации в гетеродине проверяют, подключив осциллограф или высокочастотный вольтметр к эмиттеру транзистора V21. Частоту гетеродина (925...975 кГц) можно установить, прослушав его сигнал на любом радиовещательном приемнике со средневолновым Диапазоном или связном приемнике с диапазоном 160 м (в этом случае прослушивается вторая гармоника). Контур L8C32 настраивают в резонанс на Частоту второй гармоники (1900 кГц) по максимуму напряжения на любом из крайних выводов катушки связи L9 — его контролируют высокочастотным вольтметром или осциллографом. Напряжение не должно быть меньше 0,2...0,3 В, в противном случае придется увеличить емкость конденсатора связи С35 и число витков катушки L9.

Частоту гетеродина можно установить и с помощью генератора стандартных сигналов, подключив генератор к контуру L6C27 через конденсатор емкостью 2...б пФ и включив трансивер в режим приема. Прослушивая сигнал ГСС на различных частотах, градуируют шкалу трансивера.

Подключив выход ГСС или антенну к разъему XI, настраивают оба контура усилителя ВЧ (L3CJ6 и L6C27) по максимальной громкости приема. Затем переключают трансивер в режим передачи и оценивают (с помощью осциллографа или высокочастотного вольтметра) напряжение несущей на контуре L5C24. Вращая подстроечник катушки контура, добиваются максимального увеличения его амплитуды Следует иметь в виду, что при входной емкости осциллографа (вместе с соединительным кабелем) более 30 пФ контур вообще может не настроиться в резонанс, но для данной операции это не важно. Подстраивать контур можно и потом, по максимальной выходной мощности. Контролируя уровень несущей, следует поочередно вращать движки подстроечных резисторов R16 и в RI7 до практически полного подавления несущей. Теперь при разговоре перед микрофоном на экране осциллографа должны наблюдаться характерные всплески ВЧ сигнала.

Добившись максимального подавления несущей в режиме передачи, переключают трансивер на прием и, прослушивая сигнал ГСС или сигналы радиостанций из эфира, добиваются максимального подавления верхней боковой полосы подстроечным резистором R15. Это лучше всего сделать при прослушивании немодулированной несущей, расстроив гетеродин трансивера на 1...1.5 кГц ниже ее частоты. Если хорошего подавления получить не удается, следует подобрать в небольших пределах (270...360 пФ) конденсатор С29. Если же и этого недостаточно, надо несколько изменить сопротивление одного из резисторов низкочастотного фазовращателя (R24 или R25) и снова повторить регулировку. Кривая селективности трансивера при правильной в настройке показана на рис. 6. В верхней боковой полосе приема должны наблюдаться две точки “бесконечного” подавления, соответствующие точной балансировке смесителя по амплитудам и фазам сигналов в двух каналах. Отрегулированный при приеме смеситель будет подавлять верхнюю боковую полосу и при передаче.

Налаживание выходного каскада передатчика трансивера сводится к проверке режима лампы V4. Подключив высокое напряжение в блоке питания и соблюдая меры предосторожности, устанавливают ток покоя лампы равным 10...15 мА, подбирая резистор R9. Для проверки настройки выходного контура нужно подать сигнал звуковой частоты на микрофонный вход (разъем ХЗ), а к гнездам разъема антенны подключить эквивалент нагрузки — лампу накаливания автомобильного типа на напряжение 26 В и мощность 10 Вт (когда такая лампа ярко светится, ее сопротивление близко к 50 Ом). Настраивая контур конденсатором С14 и регулируя связь с нагрузкой переключателем S1, добиваются максимальной яркости свечения лампы.

В момент настройки контура в резонанс анодный ток лампы должен уменьшаться на 10...15%, а неоновая лампа V3 — светиться. При слишком сильной связи с нагрузкой ток почти не уменьшается, а неоновая лампа светится слабо или не горит совсем. Напротив, при слабой связи с нагрузкой ток при настройке в резонанс уменьшается сильно, а неоновая лампочка горит ярко. Это свидетельствует о перенапряженном режиме анодной цепи выходной лампы. Как слишком сильная, так и слабая связь с нагрузкой приводит к уменьшению отдаваемой мощности, что заметно по яркости свечения лампы накаливания — эквивалента нагрузки.

Если трансивер будет использоваться с согласованной антенной (симметричный полуволновой диполь, провод длиной 1/4 или 3/4 длины волны с заземлением или противовесом), имеющей входное, сопротивление 50...75 Ом, то оптимальная настройка П-контура примерно совпадает с. настройкой при работе на эквивалент антенны. Если же будет использоваться другая антенна случайной длины, настройку П-контура с подключенной антенной производят заново, ориентируясь по относительной величине уменьшения анодного тока при настройке контура в резонанс и по яркости свечения неоновой лампы. Делать эту операцию следует в дневное время, на свободной от работающих станций частоте.

 

При отсутствии звукового генератора для настройки выходного каскада можно просто восстановить несущую, разбалансировав однополосный смеситель одним из подстроенных резисторов R16 или R17, По окончании настройки смеситель балансируют вновь по минимуму напряжения несущей на выходном П-контуре или на разъеме антенны. Индикатором служит осциллограф или высокочастотный вольтметр.

Цветная вкладка из журнала "Радио" №10, 1982

 

В заключение следует сказать, что на радиостанции автора трансивер использовался с простейшей антенной типа “наклонный луч” длиной около 60 м, протянутой к крыше соседнего, более высокого дома. Противовесом служило металлическое ограждение крыши своего дома. В течение нескольких недель зимой 1981 —1982 года были установлены связи со всеми районами Советского Союза, кроме 8-го и 0-го. Качество сигнала всеми корреспондентами оценивалось как хорошее или отличное. 

 В. Поляков г. Москва
 Радио №10—11. 1982 г.