Сетевой катушечный ламповый магнитофон "Днепр-11" ("Днiпро-11") выпускался Киевским радиозаводом радиоаппаратуры с 1960 года.
Магнитофон "Днепр-11" служит для двухдорожечной записи и воспроизведения звука. Запись - с микрофона, звукоснимателя, приемника и трансляционной сети.
Управление магнитофоном производится с помощью кнопочного механизма. Переход с одной дорожки на другую осуществляется перестановкой и переворачиванием катушек с лентой типа 2 или аналогичной.
Регулировка тембра раздельная на низких и высоких частотах.
Магнитофон "Днепр-11" имеет две скорости движения ленты. Скорость записи и воспроизведения 19,05 и 9,53 см/сек +-2%. Продолжительность непрерывной записи и воспроизведения при емкости катушек 350 м - 30 мин при скорости 19,05 см/сек и 60 мин при скорости 9,53 см/сек на каждой дорожке.
Конструкция
Магнитофон выполнен в виде настольной конструкции в деревянном корпусе с поднимающейся крышкой. Под крышкой корпуса расположена панель лентопротяжного механизма, на которой размещены катушки, переключатель скоростей, защитный кожух со щелью для ленты, под которым находятся универсальная и стирающая головки, ведущий вал, прижимный ролик и направляющая стойка. На дне корпуса расположены усилитель звуковой частоты ii блок питания.
На передней декоративно оформленной стенке крепятся два динамических двухваттных громкоговорителя и оптический индикатор уровня записи. На боковых стенках под декоративными решетками крепятся (по одному с каждой стороны) одноваттные громкоговорители.
В нижней части передней панели расположены клавишный переключатель рода работы, ручки регулятора уровня записи и тембра, а также регуляторы громкости и воспроизведения.
На задней стенке корпуса расположены переключатель напряжения сети с предохранителем, кабель питания, гнезда для перезаписи на другой магнитофон, гнездо Земля и переключатель Запись на запись.
На правой боковой стенке находятся входные и выходные гнезда усилителя и переключатель для выключения громкоговорителей.
Передняя и задняя стенки ящика сделаны съемными для удобства доступа к отдельным узлам. В дне корпуса имеется окно, закрытое съемной крышкой, для доступа к усилителю и блоку питания.
Габариты 552х328х330 мм. Вес 24 кг.
Каскады
- Первый и второй каскады универсального усилителя записи-воспроизведения - на лампе Л1 типа 6Н1П.
- Третий и четвертый каскады универсального усилителя записи-воспроизведения - на лампе Л2 типа 6Н1П.
- Детектор для индикатора уровня записи и фазоинвертор - на лампе Л3 типа 6Н1П.
- Двухтактный оконечный каскад усилителя записи и воспроизведения - на лампах Л4 и Л5 типа 6П14П.
- Индикатор уровня записи - лампе Л5 типа 6Е1П.
- Двухтактный генератор стирания и подмагничивания - на лампе Л6 типа 6Н1П.
Электрические показатели
Чувствительность - не хуже 0,5 мВ при записи от микрофона, 200 мВ при записи от звукоснимателя или приемника, 10 В при записи от трансляционной сети.
Рабочий диапазон частот - при применении ленты типа 2 для скорости 19,05 см/сек 40 - 12 000 Гц и для скорости 9,53 см/сек 100 - 6000 Гц.
Относительный уровень шумов - не хуже -35 дБ.
Коэффициент нелинейных искажений - не более 5%.
Суммарная детонация - при скорости 19,05 см/сек не более 0,5% и при скорости 9,53 см/сек +-0,9%.
Частота тока подмагничивания - 50 кГц.
Выходная мощность - 3 Вт.
Питание
Питание магнитофона от сети переменного тока 50 Гц, напряжение 110, 127 или 220 В. Потребляемая мощность не более 160 Вт.
Электрическая схема
В магнитофоне применена схема универсального усилителя, служащего для записи и воспроизведения. При записи сигнал с универсальной головки подается на сетку правого триода лампы Л1. Уровень записи регулируется потенциометром R25. Индикатором уровня записи служит лампа Л7, типа 6Е5С, на сетку которой поступает сигнал с диодной части триода Л3. При записи коррекция частотной характеристики производится с помощью обратной связи между анодом левого триода лампы Л2 и катодом правого триода Л1 и корректирующей цепи R32R36С24. При воспроизведении универсальная головка подключается к сетке левого триода лампы Л1. Громкость регулируется потенциометром R26.
Коррекция частотной характеристики при воспроизведении осуществляется в цепи анода левого триода лампы Л1 цепочкой R1L1C2C4R12R19C12R20 и R21 и между анодом левого триода лампы Л2 и катодом правого триода лампы Л1 цепочкой R15C13C14L3R9 и С9.
Регулировка тембра по низким частотам производится потенциометром R19 и по высоким - R1.
Выходной мощный каскад усилителя собран по двухтактной схеме на лампах Л4 и Л5, нагрузкой каскада служит выходной трансформатор Tp1, во вторичную обмотку которого включены четыре динамических громкоговорителя, два по 2 Вт и два по1 Вт.
Генератор тока подмагничивания собран по двухтактной схеме с индуктивной связью на двойном триоде Л6. Величина тока подмагничивания частотой 50 кГц регулируется подстроечным конденсатором C10.
Питание ламп усилителя снимается с селенового выпрямителя В, собранного по мостовой схеме. Для уменьшения фона параллельно накальной обмотке силового трансформатора Тр2 включено регулируемое ползунком сопротивление R47. От положения ползунка зависит величина прослушиваемого фона переменного тока. Величину фона переменного тока можно также уменьшить с помощью антифонной катушки L2.
Лентопротяжный механизм
Для протяжки ленты применен синхронный электродвигатель ДВС-У1. Передача вращения электродвигателя на правый и левый узлы и промежуточные ролики производится двумя пассиками. Малый пассик передает вращение ведущему узлу, а большой - правому узлу.

Схема лентопротяжного механизма:
1 - электродвигатель; 2 - шкив для привода приемного узла; 3 - двухступенчатый шкив для привода ведущего узла; 4 - насадка электродвигателя; 5 - диск подающего узла; 6 - подающий узел; 7 - магнитная лента; 8 - перекидная вилка переключателя скорости; 9 -плоская пружина; 10 - стирающая головка; 11 - направляющая колонка; 12 - универсальная головка; 13 - прижимной обрезиненный ролик; 14 - ведущий вал; 15 - маховик ведущего вала; 16 - пассик ведущего узла; 17 - пассик приемного узла; 18 - рычаг прижимного обрезиненного ролика; 19 - приемный узел; 20 - перекидная вилка
Механизм управляется клавишным переключателем с помощью рычагов и тяг. Подмотка ленты осуществляется правым узлом, а подтормаживание - левым благодаря трению маховика узла о фетровую накладку. Ленту прижимает к ведущему валу обрезиненный прижимный ролик. Переключение скорости движения ленты производится переводом малого пассика с помощью рычага с вилкой на больший или меньший диаметр двухступенчатого шкива, насаженного на вал электродвигателя. Управляется рычаг ручкой, расположенной между катушками на верхней панели.
При ускоренной перемотке влево специальный поводок поворачивает эксцентрик, насаженный на левый узел, до сцепления маховика с обрезиненным роликом - насадкой на вал электродвигателя. Вращение передается от электродвигателя к маховику левого узла.
При ускоренной перемотке вправо с помощью вилочного переключателя большой пассик переводится с канавки ведущего шкива в канавку, образованную выточками между ведущим и ведомым шкивами, заставляя их вращаться с одинаковой скоростью.
На валу ведущего узла насажен массивный маховик, который приводится в движение малым пассиком от электродвигателя.

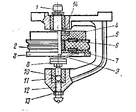
Приемный узел:
1 - ось; 2 - ведущий шкив; 3 - ведомый диск; 4 - тормозной диск; 5 - кронштейн; 6, 7 - фетровые шайбы; 8 - гайка специальная; 9 - плоская пружина; 10 - опорный шарик; 11 - нижний подшипник; 12 - регулировочный винт; 13 - контргайка; 14 - штифт тормозного диска

Подающий узел:
1 - ось; 2 - фланец; 3 - эксцентрик; 4 - поводок; 5 - гайка; 6 - шайба; 7 - штифт; 8 - тормозной шкив
Неисправности лентопротяжного механизма
Отсутствие перемотки вправо вызвано обрывом большого пассика или тяги в клавише "Перемотка вправо". При обрыве малого пассика ведущий вал не вращается.
При отсутствии перемотки влево причину следует искать в износе обрезиненной насадки на валу электродвигателя или в заклинивании эксцентрика левого узла во втулке. При ослаблении пружины поводка левого узла или обрыва тяги в клавише "Перемотка влево", тягу нужно заменить новой стальной. Если причиной отсутствия перемотки влево является заклинивание эксцентрика, то для устранения этой неисправности необходимо снять левый подкатушник, ослабить болт крепления фланца к эксцентрику, в зазор между фланцем и втулкой ввести несколько капель машинного масла и клавишей "Перемотка влево" слегка повернуть эксцентрик. Длина проволочных тяг регулируется хомутиком, для чего предварительно ослабляются винты.
При плохой работе тормозов после нажатия клавиши "Стоп" необходимо отрегулировать длину центральной тяги клавиши.
Причиной детонации является замасливание прижимного ролика, недостаточный прижим его к ведущему валику, а также разрегулировка тормоза левого узла. Для устранения детонации фетровую накладку тормоза левого узла периодически промывают бензином.
Поврежденный пассик заменяют новым, для этого снимают малый пассик и надевают большой; малый пассик нужно заправить в вилку переключателя скорости, а большой - в вилку рычага перемотки ленты вправо.
Детали
Электродвигатель типа ДВС-У1: питание напряжением 220 В от сети переменного тока частотой 50 Гц, мощность на валу 15 Вт, скорость вращения 1500 об/мин; вес 4,2 кг.
Головка ГУ: толщина набора сердечника 2,5 мм, ширина переднего зазора 8 мк, ширина заднего зазора 100 мк, число витков обмотки 2600 ПЭЛ 0,05; индуктивность 800 мГн.
Головка ГС: толщина набора сердечника 3 мм, ширина переднего зазора 100 мк, число витков обмотки 100 ПЭЛ 0,31, индуктивность 4,3 мГн, ток стирания 220 мА.
Трансформатор Tp1: обмотка I - 800+600+600+800 витков ПЭЛ 0,15; обмотка II - 72 витка ПЭЛ 0,69; обмотка III - 800 витков ПЭЛ 0,15.
Трансформатор Гр2: обмотка I - 385+60 витков ПЭЛ 0,64; обмотка II - 325 витков ПЭЛ 0,41; обмотка III - 900 витков ПЭЛ 0,2; обмотка IV - 23 витка ПЭЛ 1,35.
Дроссель Др - 3000 витков ПЭЛ 0,2.
Катушки: L1 - 3200 витков ПЭЛ 0,07; L2 - 900 витков ПЭЛ 0,2; L3 - 4600 витков ПЭЛ 0,07; L4 - 235+235 ПЭЛ 0,12; L5 - 40+40 витков ПЭЛ 0,29; L6 - 1500 витков ПЭЛ 0,1; L7 - 90 витков ПЭЛ 0,29; L8 - 2 витка ПЭЛ 0,5.
Кинематическая схема лентопротяжного механизма магнитофона "Днепр-11"
1 - левый узел; 2 - электродвигатель с насадками, 3 - резиновый пасик; 4 -правый узел; 5 - лента; 6 - направляющие стойки; 7 - резиновый пасик; 8 - стирающая головка; 9 - универсальная головка; 10 - маховик ведущего узла; 11 - прижимный ролик; 12 - ведущий вал
Комментарии