
Бытовой переносной магнитофон "Днепр-8" изготавливался Киевским заводом Радиоаппаратуры с 1954 году.
Магнитофон "Днепр-8" представляет собой переносный аппарат для записи речи - т.е. является "диктофоном" в современном понимании этого слова. Магнитофон работает на ферромагнитной пленке типа С, специально отобранной по частотной характеристике и предварительно отшлифованной.
Скорость движения пленки 96 мм/сек. Запись однодорожечная. Длительность непрерывной записи на одной кассете 15 мин. В магнитофоне предусмотрена возможность обратной перемотки пленки со скоростью, позволяющей перемотать кассету за 2 - 3 мин.
В комплектацию магнитофона входят: четыре кассеты с пленкой и одна запасная, головной телефон, запасной комплект элементов накала и одна запасная батарея анода. Четыре кассеты с пленкой, которыми комплектуется магнитофон, дают возможность производить запись в течение одного часа.
Магнитофон комплектуется также малогабаритным электродинамическим микрофоном типа "МДМ-2", который изготавливался одесским заводом "Красный Октябрь" Министерства местной и топливной промышленности Украины. Внутреннее сопротивление микрофона 200 Ом.
Конструкция
Магнитофон "Днепр-8" представляет собой переносный аппарат, оформленный в виде чемодана, оклеенного дерматином. Чемодан имеет чехол с ремнем, позволяющим носить его через плечо.
В конструкции магнитофона предусмотрено воспроизведение для контроля записи на головные телефоны, для громкоговорящего воспроизведения необходим внешний усилитель или радиоприемник. К внешнему усилителю или приемнику подключают магнитофон с помощью специального соединительного шнура.
Внешние размеры магнитофона 270х175х150 мм. Вес его 6 кг.
Каскады
- Первый каскад универсального усилителя записи-воспроизведения на лампе Л1 типа 06П2Б.
- Второй каскад универсального усилителя записи-воспроизведения на лампе Л2 типа 06П2Б.
- Оконечный каскад усилителя записи и воспроизведения - на лампе Л3 типа 1П2Б.
- Двухтактный генератор подмагничивания на двух лампах Л4 и Л5 типа 1П2Б.
Электрические показатели
Сквозная частотная характеристика (при условии применения указанной пленки) от 200 до 5000 Гц при неравномерности +-5 дБ.
Уровень шумов не хуже -35 дБ.
Нелинейные искажения сквозного канала не более 5%.
Питание
Питание усилителя и генератора осуществляется от миниатюрных батарей: накальных цепей от двух элементов типа 1КС-У-3 (1,6 В), емкостью 3 А.-ч. каждый; анодно-экранных цепей от одной батареи типа ГБ-60 (67 В), емкость 0,1 А.-ч. Указанного комплекта питания достаточно для непрерывной работы магнитофона в течение 20-25 часов.
Электрическая схема

Усилитель магнитофона работает в режиме записи и воспроизведения и собран на двух миниатюрных лампах 06П2Б (Л1, Л2) в каскаде предварительного усиления и одной миниатюрной лампы 1П2Б (Л3) на выходе.
Для регулировки записи в магнитофоне предусмотрен регулятор уровня.
Выходов у усилителя два: первый для контроля записи и второй (ВУ) для воспроизведения через внешний усилитель.
Генератор сверхзвуковой частоты (40 кГц) собран по схеме с индуктивной связью и контуром в цепи анода. В генераторе используются две миниатюрные лампы 1П2Б (Л4, Л5).
Лентопротяжный механизм
Лентопротяжный механизм магнитофона приводится в движение граммофонным пружинным механизмом типа К2, длительность непрерывной записи на одной кассете 15 мин. Во время записи каждые 5 мин. необходимо заводить механизм ручкой, что можно делать, не прерывая записи. Для определения необходимости завода в магнитофоне устроена передвижная шкала. По мере разворачивания пружины на шкале появляются цифры 5, 4, 3, 2 или 1. Цифра 1 появляется за минуту до окончания завода, после чего аппарат заводится снова.
Управление магнитофоном осуществляется при помощи специального ключа. Положение ключа, соответствующее цифре 1, включает аппарат на запись или воспроизведение. Положение ключа против цифры 2 включает аппарат на перемотку, при этом питание усилителя и генератора автоматически отключается. При положении ключа, соответствующем цифре 0, аппарат выключается.
Детали
В магнитофоне применена одна высокоомная головка универсального типа для записи и воспроизведения. Головка имеет 300+300 витков, намотанных проводом ПЭЛ-1 0,23.
Стирание осуществляется специальной головкой, имеющей постоянный магнит из сплава "Ални".
Выходной трансформатор: первичная обмотка (I - II) - 300 витков провода ПЭЛ-1 0,15, вторичная обмотка (III - IV) - 5000 витков провода ПЭЛ-1 0,06. Материал сердечника - пермаллой, Ш-6, набор 9 мм.
Катушки генератора: L1 (VII - VIII) - 600 витков провода ПЭЛ-1 0,1, L2 (IV - V - VI) 300+300 витков провода ПЭЛ-1 0,1, L3 (I - II - III) 300+300 витков провода ПЭЛ-1 0,1.
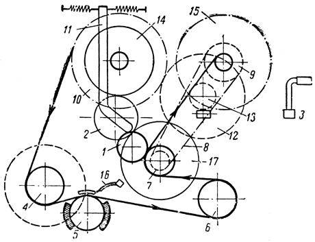
Кинематическая схема лентопротяжного механизма магнитофона "Днепр-8"
1 - прижимной ролик; 2 - перекидной ролик; 3 - заводная ручка пружинного механизма; 4 - инерционный ролик; 5 - универсальная головка; 6 - обводный ролик; 7 - ведущий вал; 8 - пассик стальной; 9 - шкив правой кассеты; 10 - шкив левой кассеты; 11 - рычаг перекидного ролика; 12 - прижимной барабан; 13 - шестерня заводного механизма; 14 - кассета левая; 15 - кассета правая; 16 - рычаг прижима планки к головке; 17 - шкив ведущего вала.
Комментарии