Радиоприемник "ЭЧС-3"

Радиоприемник "ЭЧС-3" 

Сетевой ламповый приёмник "ЭЧС-3" выпускался Московским электромеханическим заводом им. Орджоникидзе с 1933 года. 

 По схеме - это регенеративный приемник прямого усиления типа 1-V-2 с тремя контурами, рассчитанный на питание от сети переменного тока с напряжением в 110, 120 и 220 В.

Выходная мощность приемника 0,8 Вт. Диапазон принимаемых волн 200 - 2000 метров, разделенный на четыре поддиапазона. Предусмотрена возможность проигрывания граммофонных пластинок звукоснимателем.

 Каскады и примененные лампы:

  1. Усилитель высокой частоты на лампе типа СО-124;
  2. Детектор на лампе типа СО-124;
  3. Первый каскад усилителя низкой частоты на лампе СО-118;
  4. Оконечный усилитель низкой частоты на "выходной" лампе УО-104.
  5. Кенотронный выпрямитель на лампе ВО-116 (2В-400).

Подробнее...

 

Комментарии

Конструктивное оформление:

Приемник оформлен в виде деревянного ящика со съемной задней стенкой из пресшпана. Детали схемы приемника смонтированы на общем шасси укрепленном в ящике. На передней панели приемника расположены все их органы настройки, кроме переключателей секций контурных катушек которые расположены на правой-боковой стенке приемника. На заднюю стенку приемника выведены гнезда для включения громкоговорителей, антенны, заземления и адаптеров, кроме того, здесь же расположен и выключатель питания. При снятии задней стенки приемника срабатывает блокировка выключающая питание.

Диапазон принимаемых волн:
1. Диапазон I - 2000-1100 м (150-275 кГц);
2. Диапазон II - 1200-625 м (255-480 кГц);
3. Диапазон III - 665-350 м (450-850 кГц);
4. Диапазон IV - 375-200 м (800-1500 кГц).

Полный диапазон волн, перекрываемый приемником, равен 200-2000 м (1500-150 кГц).

 Режимы приемника:

Мощность, потребляемая от сети приемником - 50 Вт.

Номинальное напряжение питающей сети - 110, 120 и 220 В.

Выходная мощность - 1,5 Вт.

Схема

Приемник резонансного типа с прямым усилением. Приемник имеет четыре каскада. Первый каскад работает на лампе СО-124, как усилитель высокой частоты; второй каскад на лампе СО-124 является детекторным; третий каскад - предварительного усиления низкой частоты - на лампе СО-118 и четвертый - оконечный на лампе УО-104.

Приемник имеет три резонансных контура, настраивающихся при помощи переменных конденсаторов. Первые два контура образуют полосовой фильтр. Третий контур включен в цепь сетки детекторной лампы. Все контурные конденсаторы управляются общей верньерной ручкой.

Контурные катушки приемника имеют по четыре секции. Соответственно этому весь его диапазон волн (частот) 200-2000 м (1500-150 кГц) разбит на четыре части: I - 2000-1100 м (150-275 кГц), II - 1200-625 м (255-480 кГц), III - 665-350 м (450-850 кГц) и IV - 375-200 м (800-1500 кГц). Секции всех катушек приемника переключаются общим переключателем.

На третий контур дана индуктивная обратная связь, регулируемая при помощи конденсатора переменной емкости.

Катушка каждого контура заключена в индивидуальный цилиндрический экран.

Усилители низкой частоты приемников выполнены по реостатной схеме. Входы усилителей низкой частоты - реостатные, а выходы трансформаторные.

Регулировка громкости в приемниках осуществляется при помощи переменных сопротивлений, включенных параллельно первому контуру (между антенной и заземлением). Приемник ЭЧС-3 имеет отдельный выключатель питания).

Выпрямители приемников собраны по двухполупериодной схеме. Для выпрямления применена лампа 2В-400 (ВО-116).

 

Ориентировочный расход ламп на эксплуатацию приемника.

Расход на 100 час. работы: СО-124 (2 шт.) - 0,40; СО-118 (1 шт.) - 0,16; СО-118 (1 шт.) - 0,25; УО-104 (1 шт.) - 0,33.

 

Подготовка приемника к первому включению

1. Снять заднюю стенку.

2. Поставить перемычки, переключающие секции I обмотки силового трансформатора приемника соответственно напряжению сети, от которой должен питаться приемник (см. рис.)

3. Вставить лампы - см. рис. В некоторых приемниках имеется экран для лампы усиления высокой частоты, верхняя часть которого перед установкой лампы должна быть снята и снова поставлена после установки лампы на место. В случае отсутствия экрана, рекомендуется стеклянный баллон лампы обертывать станиолью.

4. Верхние клеммы экранированных ламп присоединить к соответствующим контактным пружинам или проводникам.

5. Поставить на место заднюю стенку. При открытой стенке приемник работать не будет.

6. Присоединить к приемнику антенну и заземление (см. рис.). Провода антенны и заземления должны включаться при помощи одинарных штепсельных вилок.

7. Включить громкоговоритель. В случае если желательно вести прием без антенны на провода электросети, питающей приемник, электросеть должна быть присоединена к антенному зажиму или гнезду приемника через специальный конденсатор емкостью около 100 пФ с предохранителем Бозе.

8. Поставить ручку регулятора громкости приемника в крайнее левое положение и выключить выключатель сети.

9. Вставить штепсельную вилку приемника в штепсельную розетку сети.

Включение

10. Включение приемника осуществляется путем поворота вправо на небольшой угол общей ручки регулятора громкости и выключателя питания.

11. Включить силовой трансформатор при помощи выключателя питания. При включении питания приемника освещается шкала настройки приемника. После включения обождать 40-50 сек., пока прогреются катоды ламп.

12. В зависимости от волны (частоты) станции, на которую желательно настроиться, поставить ручку переключателя участков диапазона на ту часть, в которой находится желательная станция.

13. Проверить способность приемника к генерации быстрым вращением вправо ручки обратной связи.

Настройка на громко слышимую станцию

14. Ручку обратной связи повернуть до отказа влево или для облегчения настройки поставить в положение близкое к возникновению генерации. Необходимо помнить, что увеличение обратной связи ведет к уменьшению полосы пропускания приемника.

Примечание. Приемник, работающий без обратной связи, пропускает частоты до 2500-3000 Гц; при малой обратной связи в приемнике срезаются частоты выше 1500 Гц, а при сильной обратной связи - частоты выше 500-600 Гц.

Поэтому при настройке следует по возможности работать без применения обратной связи (ручка регулировки обратной связи повернута влево до отказа) или же вводить возможно более слабую обратную связь.

15. Ручку регулятора громкости установить таким образом, чтобы указатель ее был бы на середине или несколько левее середины.

16. Медленно вращать ручку верньера переменных конденсаторов до тех пор, пока не будет услышана передача желаемой станции, после чего точнее подстроить контуры при помощи рычажков-корректоров (если передача станции не будет услышана - см. пп. 17-21).

Настройка на слабо слышимую станцию

17. Настройку на слабо слышимую станцию можно производить, как указано в пп. 14-16, но поддерживая во время настройки приемник в режиме, возможно более близком к возникновению генерации, и при ручке регулятора громкости, поставленной на максимум.

Для облегчения настройки на слабо слышимую станцию можно производить настройку приемника в соответствии с пп. 14-22.

18. Выполнив операции, указанные в пп, 1-13, повернув в направлении движения часовой стрелки ручку регулятора громкости до отказа и ручку обратной связи до возникновения генерации, вращать ручку верньера до обнаружения станции по свисту биений.

Примечание. Для получения наибольшей чувствительности приемника в этом режиме следует, изменяя настройку приемника, изменять и обратную связь, поддерживая ее на всем диапазоне в режиме, близком к срыву генерации (чем длиннее волна, тем больше надо поворачивать вправо ручку обратной связи).

19. Продолжая вращать ручку верньера, добиться нулевых биений.

20. Уменьшить обратную связь вращением ручки обратной связи против часовой стрелки до тех пор, пока передача не будет слышна без хрипов и искажений.

21. Точнее подстроиться на волну принимаемой станции при помощи верньера.

Регулировка громкости

22. Если станция слышна слишком громко и с искажениями следует ручку регулятора громкости вращать против часовой стрелки до тех пор, пока не получится достаточно чистая и громкая передача. Вращая ручку регулятора громкости влево, нельзя переходить того положения, при котором начинает действовать выключатель питания.

23. Если станция слышна слабо, то необходимо более точно настроиться верньером.

24. Если станция а после этого продолжает быть слабо слышна, громкость можно увеличить, вращая в направлении движения часовой стрелки ручку регулятора громкости.

26. Дальнейшее увеличение громкости следует производить, вращая по часовой стрелке ручку обратной связи; при этом, однако, не следует доводить ручку до возникновения генерации, при которой появляются хрипы, свисты и искажения передачи.

Отстройка от мешающих станций

27. Помехи приему со стороны других станций иногда можно уменьшить, настраиваясь более точно верньером на волну принимаемой станции.

28. Более эффективным способом отстройки от мешающих станций является увеличение обратной связи, но не до возникновения генерации.

29. После регулировки приемника в соответствии с пп. 27 и 28 чрезмерно возросшая громкость приема может быть уменьшена путем вращения ручки регулятора громкости против часовой стрелки. Манипулирование обеими ручками (обратной связи и регулятора громкости) нередко позволяет заметно ослабить помехи.

Использование низкочастотной части приемника для воспроизведения граммофонной записи

30. Подготовить приемник к работе в соответствии с пп. 1-11. Антенну желательно отсоединить от приемника.

31. Включить в гнезда с надписью "Адаптер" провода от звукоснимателя, привести граммофонный диск во вращение и установить на него иголку звукоснимателя. Звукосниматель должен быть снабжен своим регулятором громкости во избежание перегрузки усилителя и искажений.

32. При переходе на радиоприем провода от звукоснимателя необходимо выключать из гнезд.

Выключение

33. Приемник выключаются при помощи специального выключателя, совмещенного с регулятором громкости путем вращением ручки регулятора громкости (общей с ручкой выключателя сети) влево до отказа, пока лампочка, освещающая шкалу, не погаснет.

34. Повторные включения, производятся в соответствии с п. 10 и последующими.

 

Назначение и данные деталей

П - контакты переключателя диапазонов, замыкающие накоротко секции контурных катушек 7, 12 и 23 и переключающие конденсаторы связи полосового фильтра 8, 9 и 10; цифры (римские) около контактов показывают номера диапазонов, на которых данные контакты замыкаются.

Цепь антенны

1 - гнездо для включения антенны.

2 - гнездо для включения заземления.

3 - сопротивление переменное в антенной цепи для регулирования громкости - 1,5 кОм.

4 - конденсатор связи антенны с первым контуром - 30 пФ.

Полосовой фильтр

5 - конденсатор переменной емкости первого контура - 22 - 330 пФ. Ротор этого конденсатора смонтирован на общей оси с роторами конденсаторов 13 и 24 и вращается при помощи общего с ними верньера.

б - подстроечный конденсатор первого контура - 20 - 90 пФ.

7 - экранированная катушка индуктивности первого контура и полосового фильтра, четырехсекционная. Полная индуктивность катушки - 4472 мкГн - включается при приеме волн I участка диапазона. При приеме волн II участка диапазона включается индуктивность 433 мкГн, II участка - 466 мкГн и IV участка - 136 мкГн.

8 - конденсатор постоянной емкости для связи контуров поле-сового фильтра 7500 пФ, включаемый при приеме волн II и IV участков диапазонов приемника.

9 - то же 7500 пФ, включенный при приеме волн всех участков диапазона.

10 - то же, включаемый при приеме волн III и IV участков диапазона.

11 - сопротивление, шунтирующее кондецраторы связи 8, 9 и 10 - 1 МОм, типа Каминского.

12 - экранированная катушка индуктивности второго контура полосового фильтра, четырехсекционная. По своим данным и способу переключения секций идентична катушке 7 первого контура.

13 - конденсатор переменной емкости второго контура полосового фильтра - 22 - 330 пФ. Ротор его смонтирован на общей оси с роторами 5 и 24.

14 - подстроечный конденсатор второго контура - 20 - 90 пФ.

Усилитель высокой частоты

15 - экранированная лампа типа СО-124.

16 - сопротивление постоянного смещения лампы СО-124 - 1,0 кОм, типа Каминского.

17 - конденсатор постоянной емкости, шунтирующий сопротивление 16 - емкостью 5000 пФ.

18 - сопротивление делителя напряжения цепи экранирующей сетки лампы 15 - 65 кОм, типа Каминского,

70 - то же, 12 кОм.

20 - конденсатор постоянной емкости, шунтирующий сопротивление 19 емкостью 5000 пФ.

21 - анодная реактивная катушка для параллельного питания третьего контура 40 мГн.

22 - конденсатор параллельного питания третьего контура - 1000 пФ.

23 - катушка индуктивности третьего контура четырехсекционная; по своим данным идентична катушке 7 первого контура, но с добавлением на том же каркасе катушки обратной связи 36.

24 - конденсатор переменной емкости третьего контура - 22 - 330 пФ. Ротор его смонтирован на общей оси с роторами 5 и 13 и вращается при помощи общего с ними верньера.

25 - подстроечный конденсатор третьего контура: 60 пФ.

26 - конденсатор постоянной емкости третьего контура - 15 000 пФ.

Детекторный каскад - дополнительный первый каскад усилителя низкой частоты при работе от звукоснимателя

27 - конденсатор гридлика - 70 пФ.

28 - сопротивление гридлика - 1 МОм, типа Каминского.

29 - гнезда для включения звукоснимателя в цепь сетки детекторной лампы.

30 - сопротивление индивидуального фильтра цепи сетки лампы СО-124 (при работе от звукоснимателя) - 2 МОм, типа Каминского.

31 - конденсатор фильтра 0,5 мкФ (в общем блоке - рис.).

32 - экранированная лампа СО-124.

33 - сопротивление делителя напряжения экранирующей сетки, - 65 кОм, типа Каминского.

34 - то же: 15 кОм.

35 - блокировочный конденсатор сетки экранированной лампы 0,5 мкФ (в общем блоке).

36 - катушка обратной связи 360 мкГн.

37 - и 37 А - конденсаторы обратной связи: постоянный 1000 пФ; переменный - 350 пФ.

38 - анодная реактивная катушка высокой частоты, задерживающая высокую частоту от проникновения в цепи низкой частоты, 40 мГн.

40 - конденсатор блокировочный высокой частоты, способствующий плавной регулировке обратной связи и тон-корректирующий - 70 пФ.

41 - сопротивление, включенное последовательно с конденсатором 40, - 6 кОм, типа Каминского.

42 - анодное сопротивление детекторной лампы для связи с усилителем низкой частоты; - 50 кОм.

43 - сопротивление индивидуального фильтра анодной цепи детекторной лампы, - 40 кОм, типа Каминского.

44 - конденсатор того же фильтра - 4 мкФ (в общем блоке).

45 - тон-корректирующее сопротивление, - 0,1 МОм, типа Каминского

46 - конденсатор связи анодной цепи детекторной лампы с сеточной цепью лампы первого каскада УНЧ - 5000 пФ.

Первый каскад усилителя низкой частоты

47 - лампа СО-118.

48 - утечка сетки лампы СО-118, типа Каминского - 2 МОм.

49 - сопротивление индивидуального фильтра цепи сетки: - 0,5 МОм.

50 - конденсатор того же фильтра - 0,1 мкФ (в общем блоке).

51 - анодное сопротивление междуламповой связи первого и второго каскадов УНЧ, - 0,5 МОм, типа Каминского.

52 - конденсатор тои-корректирующий - 20 пФ.

53 - сопротивление индивидуального фильтра анодной цепи, - 0,1 МОм, типа Каминского.

54 - конденсатор того же фильтра - 0,1 мкФ (в общем блоке).

55 - конденсатор связи с оконечным каскадом - 5000 пФ.

Оконечный каскад

56 - лампа УО-104.

57 - сопротивление цепи сетки - 1,5 МОм.

58 - выходной трансформатор; II обмотка имеет две секции для включения как высокоомных, так и низкоомных громкоговорителей.

59 - конденсатор, шунтирующий первичную обмотку выходного трансформатора, - 2000 пФ.

60 - гнезда для включения высокоомного громкоговорителя.

61 - гнезда для включения низкоомного (динамического) громкоговорителя.

Выпрямитель

62 - двухполюсная штепсельная вилка для включения в сеть переменного тока.

63 - предохранитель типа Бозе на 2 А в цепи первичной обмотки силового трансформатора.

64 - выключатель питания (сети переменного тока).

65 - блокировочный контакт, выключающий питание приемника при снятии задней стенки ящика.

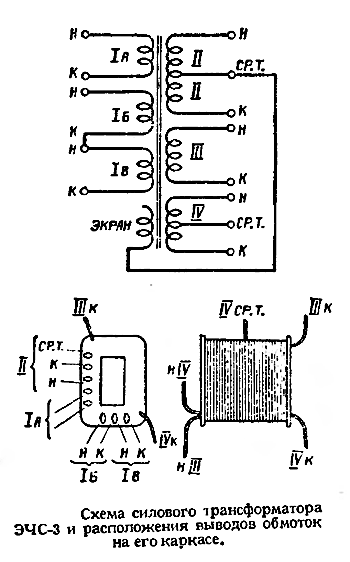
66 - трансформатор выпрямителя, питающий цепи накала всех ламп приемника и подающий напряжение на аноды выпрямительной лампы. Данные трансформатора: сечение сердечника 53х24. I обмотка: 1А=460 витков ПЭ 0,44 + 1Б=460 витков. ПЭ 0,44 + 1В=70 витков ПЭ 0,59. II обмотка анодного напряжения 2х1440=2880 витков ПЭ 0,23 (17=2x350 В). III обмотка накала выпрямительной лампы 18 витков ПБД 1,25 (U4,05 В). IV обмотка накала усилительных ламп 2х8,75 витков ПБД 1,5 с выводом средней точки (17=4,15 В); экранирующая обмотка - 1 слой ПЭ 0,23.

67 - выпрямительная лампа 2В-400 (ВО-116).

Фильтр выпрямителя

68 - конденсатор входной 3 мкФ (в общем блоке).

69 - сопротивление ячейки анодной цепи и цепи экранирующей сетки лампы каскада УВЧ - 15 кОм, типа Каминского.

70 - конденсатор ячейки анодной цепи первого каскада выходной 1,5 мкФ (в общем блоке).

71 - сопротивление ячейки анодной цепи, цепи экранирующей сетки детекторной лампы и анодных цепей УНЧ - 1,2 кОм, типа Каминского.

72 - конденсатор выходной той же ячейки - 3 мкФ (в общем блоке).

73 - конденсатор той же ячейки - 1,5 мкФ (в общем блоке).

74 - сопротивление, подающее (совместно с сопротивлением 75) смещение на управляющую сетку лампы оконечного каскада каскад усилителя низкой частоты - 850 Ом.

75 - сопротивление, подающее смещение на управляющую сетку детекторной лампы (при работе ее от звукоснимателя) и на сетку лампы первого основного каскада УНЧ - 50 Ом.

76 - лампочка от карманного фонаря для освещения шкалы настройки.