Детекторный приёмник "П-7"

Детекторный приемник П-7 

 Детекторный радиоприёмник "П-7" выпускались Нижегородским телефонный завод имени Ленина с 1927 года.

Приёмник рассчитан на диапазон от 300 до 1800 м.

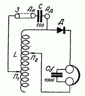
Особенностью приёмника, является расположение катушки так, что она служит стенками, это исключает необходимость помещать приёмник в специальный ящик. На крышке приёмника, стягиваемой с дном сквозным болтом, который проходит через центр катушки, помещаются 3 клеммы и 2 пары гнёзд. Две крайние клеммы соединяются между собою перемычкой, которая позволяет включить приёмник тремя способами.

Детекторный приемник П-7. Принципиальная схема 

При перемычке, замыкающей накоротко клеммы с надписью 3 и АК кондесатор включен параллельно (длинные волны) при разомкнутой перемычке и при присоединении антенны к клемме АК при свободной клемме АД, конденсатор включен последовательно (короткие волны), при включении антенны к клемме АД, заземления к клемме 3 и разомкнутой перемычке включена только катушка (без конденсатора). При приёме станций, работающих на волнах от 1000 до 1800 метров (станция имени Коминтерна) конденсатор приключается параллельно, а при приёме от 800 до 1100 метров (Опытный передатчик) конденсатор отключается вовсе, а при приёме станций с волнами порядка от 300 до 800 м. (MOCHO) конденсатор подключается последовательно. Понятно, что указания относятся к приёму на нормальную любительскую наружную антенну. Плавная настройка приёмника осуществляется передвижением ползунка антенного контура, благодаря чему включается то или иное число витков катушки. В отличии от приемника П-6, в приемнике П-7 можно плавно изменять детекторную связь, для этого служит ползунок расположенный справа. Благодаря первому ползунку имеется возможность осуществить плавную настройку антенного контура, а передвижением второго ползунка подобрать наилучшую детекторную связь. При одновременной работе нескольких станций установив ползунок в среднее положение, передвигают его вверх к панельке приёмника. Это значительно уменьшит мешающее действие и позволит выделить работу радиостанции. После необходимо подстроиться, передвигая ползунок.

 Литература:

  1. Опиание и принципиальная схема приемника П-7
  2. http://rw6ase.narod.ru/000/rprl_p/p7.html

 

Комментарии