Испытатели ламп

Примечание составителей "Справочника". Мы решили поместить в "Справочник" две любительские схемы испытателей ламп, поскольку серийно выпускаемые приборы аналогичного назначения на сегодняшний день относительно дефицитны. Приведенные ниже схемы безусловно не позволят производить точные количественные измерения (определение параметров, снятие характеристик), однако их простота и легкая повторяемость может вызвать интерес. Описание этих схем было опубликовано в журнале "Радио" в 1956 году. Чтобы передать специфичный для тех лет стиль, мы приводим полный текст этой статьи без каких-либо изменений и сокращений.
  * * *  
На 12-ю Всесоюзную радиовыставку было представлено несколько типов испытателей радиоламп, которые позволяют определять не только ток эмиссии, но и наличие замыкания или обрыва электродов. Остановимся на устройстве и работе двух таких приборов, сконструированных радиолюбителями А.Парамоновым (Краснодар) и Л.Гельфманом (Калининград). Оба конструктора награждены дипломами второй степени.
 
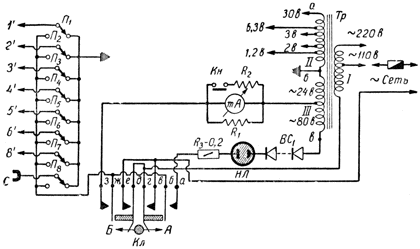
Схема прибора А.Парамонова, несколько видоизмененная, приведена на рисунке.
 
Испытатель питается от сети переменного тока напряжением 110 - 220 В. Трансформатор Тр позволяет получить напряжения в 1.2; 2; 5; 6.3 и 30 В для питания нитей накала испытуемых ламп. С этого же трансформатора снимаются напряжения 24 и 80 В, которые используются для проверки целости нити накала ламп, а также наличия замыкания между электродами.
 
В испытателе имеются два индикатора: миллиамперметр мА и неоновая лампочка НЛ. Переключение рода работы испытателя осуществляется ключом Кл.
 
Во избежание зажигания неоновой лампочки из-за влияния междуэлектродных емкостей переменное напряжение 80 В выпрямляется селеновым столбиком ВС2, который содержит 10 шайб диаметром 8 мм.
 
Коммутация электродов ламп осуществляется переключателями П1 - П8, позволяющими подключать любой электрод или группу электродов к общему минусу или к испытательному напряжению (24 или 80 В). Переключатели П1 - П7 в данной конструкции выполнены в виде кнопок (см. рисунок), образующих как бы большую ламповую панель без седьмой ножки. В центре панели располагается неоновая лампочка НЛ.
 
Для изготовления переключателя в панели 1 сверлят отверстия для кнопок 2 и для неоновой лампочки НЛ. Контактные пружины 3 изготовляют из гартованой латуни и приклепывают к гетинаксовому диску 4, в котором также сверлят отверстие для неоновой лампочки. Кнопки вырезают из эбонита или текстолита и вставляют в предназначенные для них отверстия. Затем при помощи скобок 5 на панели прибора укрепляют латунное кольцо 6. Гетинаксо-вый диск 4 с контактами 8 укрепляется на панели двумя винтами. Латунное кольцо, соединенное с общим минусом, должно быть немного толще гетинаксового диска 4, тогда пружины будут плотно прижаты к кольцу.
 
Над контактными пружинами (с зазором 2 - 3 мм) укрепляется второе латунное кольцо 8, которое соединяется с контактами Б и Ж ключа Кл. При нажатии одной из кнопок пружина отходит от нижнего кольца 6 и прижимается к верхнему 8. Выводы от контактных пружин 1' - 6' и 8' соединяются с соответствующими ножками ламповых панелей. В приборе имеются четыре панельки с октальным цоколем для ламп с напряжением начала 2; 6.3; 5 и 30 В и одна для пальчиковых батарейных ламп. На седьмую ножку панелек подается соответствующее напряжение накала (на панель для пятивольтовых кенотронов напряжение накала подается на восьмую ножку). На рисунке приведена схема соединения ножек панельки для ламп шестивольтовой серии. Для ламп, у которых вывод управляющей сетки находится на верху баллона, предусмотрена отдельная кнопка П8. Она соединяется с колпачком, который надевают на этот вывод.
 
Работа с прибором производится следующим образом. Испытуемую лампу вставляют в соответствующую панельку и переводят ключ Кл в положение А. При этом прибор включается в сеть, а верхнее кольцо подключается к цепи выпрямителя и неоновой лампочки. Так как один конец нити накала через накальную обмотку трансформатора соединен с общим минусом, то при нажатии кнопки, воздействующей на пружину, соединенную с другим концом нити накала, последняя оказывается включенной последовательно в цепь высокого напряжения и неоновой лампочки. Если нить накала цела, лампочка загорается.
 
Для проверки лампы на наличие короткого замыкания между электродами (ключ Кл остается в том же положении) нажимают поочередно все кнопки. Если при нажатии какой-либо кнопки, например шестой, лампочка НЛ загорается, то это означает, что электрод, соединенный с этой ножкой, замкнут с каким-либо другим электродом. Для определения последнего, не отпуская шестой кнопки, нажимают последовательно все другие. Если при нажатии, например, восьмой кнопки неоновая лампочка погаснет, то это означает, что замкнутые между собой электроды соединены с шестой и восьмой ножками лампы.
 
Убедившись в целости нити накала и отсутствии замыкания между электродами, ключ Кл переводят в положение Б. При этом отключается неоновая лампочка и на верхнее кольцо переключателя через миллиамперметр подается переменное напряжение 24 В.
 
Для определения эмиссионной способности лампы необходимо все электроды (кроме катода) соединить с анодом. Это достигается одновременным нажатием нескольких кнопок, соответствующих замыкаемым электродам. При нажатии кнопок на эти электроды подается напряжение 24 В и выпрямленный ток фиксируется миллиамперметром. По величине анодного тока можно судить о величине тока эмиссии лампы.
 
Если, нажимая поочередно кнопки, подавать напряжение 24 В на отдельные электроды, то по показаниям миллиамперметра можно судить о наличии обрыва в цепи отдельных электродов - в цепи оборванного электрода ток отсутствует.
 
При испытании на обрыв электродов, удаленных от катода, одновременно следует нажать и кнопку Кн. При этом отключается дополнительный шунт и чувствительность миллиамперметра увеличивается.
 
Испытатель ламп смонтирован в прямоугольном пластмассовом ящике. Силовой трансформатор Тр собран на сердечнике сечением 5 см2. Обмотка I содержит 1980 витков провода ПЭЛ-1 0.2 с отводом от 990-го витка. Обмотка II содержит 270 витков с отводами от 11, 18, 45-го и 56-го витков, причем до 56-го витка обмотка наматывается проводом ПЭЛ-1 0.45, далее проходом ПЭЛ-1 0.1 с отводом от 220-го витка.
 
Сопротивления R1 и R2 - проволочные. Они подбираются в соответствии с чувствительностью и внутренним сопротивлением миллиамперметра. Шкалу прибора для удобства следует отградуировать в условных единицах. Для работы с прибором необходимо составить таблицу токов эмиссии и токов в цепи отдельных электродов для заведомо исправных ламп различных типов.
 
Радиолюбители, которые захотят повторить эту конструкцию, должны добавить к ней еще две панельки для испытаний ламп пальчиковой серии с питанием от сети переменного тока.
 
Недостатком этого прибора является отсутствие регулировки и контроля напряжений, подаваемых на электроды лампы, что приводит к погрешностям при определении тока эмиссии.
 
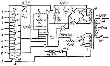
От этого недостатка свободен разработанный Калининградским радиолюбителем Л.Гельфманом испытатель ламп (см. рисунок), работающий на том же принципе, что и испытатель А. Парамонова. В качестве индикатора тока в цепи электродов и вольтметра для контроля напряжений, подаваемых на электроды лампы, используется прибор магнитоэлектрического типа чувствительностью в 1 мА. Переключение прибора для работы в качестве миллиамперметра на три предела измерений (2, 20 и 200 мА) и вольтметра для контроля анодного и накального напряжений осуществляется переключателем П1. Выпрямитель испытателя смонтирован на селеновых столбиках ВС1 - ВС4. Анодное напряжение регулируется потенциометром R8. Изменение напряжения, подаваемого на нити накала ламп, осуществляется переключателем П2 и реостатом R4. Напряжение накала измеряется купроксным вольтметром, состоящим из миллиамперметра и купрокса ВС5.
 
Переход с одного рода работы испытателя на другой производится переключателем П3. В положении I переключателя П3 проверяются целость нити накала и наличие короткого замыкания между электродами. Во избежание перегрузки прибора последовательно с индикатором тока включено сопротивление R1. При переводе переключателя П3 в положение II включается напряжение накала на нить лампы и замыкается накоротко сопротивление R1. В этом положении лампы испытываются на эмиссию и на обрыв электродов. В качестве переключателей П4 - П11 используются двухполюсные переключатели.
 
Испытания ламп этим прибором производятся в таком же порядке, что и на испытателе конструкции А.Парамонова, однако следует учесть, что во избежание перегрузки прибора переводить переключатель П3 из положения I в положение II можно, только убедившись в отсутствии короткого замыкания между электродами.
 
Прибор смонтирован на дюралюминиевой панели и заключен в деревянный, обтянутый дерматином ящик размером 150 x 250 x 270 мм.
 

С.Матлин, И.Фараджев. "Радио", 1956 г., N 6, с. 53-54.

Комментарии