"Домашний кинотеатр" образца 1961 года.
Слушая концерт в театральном зале, вы даже с закрытыми глазами "чувствуете" и расположение инструментов в оркестре и перемещение артистов по сцене. Но "чувство" оркестра пропадает, когда вы слушаете тот же концерт по радио. Объясняется это очень просто. Сидя в зале, мы воспринимаем как прямой звук со сцены, так и отраженный от стен, потолка, пола. Отраженный звук приходит позже прямого, и это опоздание мы улавливаем на слух. Так бывает при низких частотах звуковых колебаний. При высоких частотах мы различаем разницу в силе звука, приходящего к левому и правому уху (так называемый бинауральный эффект).

Так создается впечатление объемности направленности звука, ощущение пространства. Об этом подробно рассказывалось в журнале ЮТ № 5 за 1960 год в статье "Стереофония". Там же говорилось о работах наших конструкторов по созданию объемных стереофонических звуковоспроизводящих устройств, которые позволяют получать естественное звучание.
Сегодня мы публикуем подобную установку - псевдостереофоническую. Она называется так за свое звучание, которое подражает стереофоническому. Если, слушая обычный радиовещательный приемник, вы ясно чувствуете направление звучания всех инструментов - оно исходит из передней части приемника, то предлагаемая установка создает объемность звучания, своеобразную "расстановку" оркестра по всей комнате. Кроме того, в схеме есть устройство, которое позволяет получать эффект присутствия певца и его перемещения.
Для начинающих радиолюбителей сделать такую установку сложно. Поэтому советуем браться за ее изготовление только подготовленным радиолюбителям, и не индивидуально, а в технических кружках.
Вся конструкция установки состоит из трех основных частей: усилителя, выпрямителя и акустической системы.

Усилитель собран по двухканальной схеме. Один канал (левая половина - см. схему) состоит из двух каскадов - усилителя напряжения и усилителя мощности - и ничем не отличается в работе от усилителей низкой частоты радиоприемников. С выхода этого усилителя через цепочку C10R13 усиленный сигнал поступает на усилитель второго (дополнительного) канала. Цепочка создает предварительную (небольшую) задержку по времени между низкочастотными и высокочастотными звуковыми колебаниями. Основная задержка происходит во втором канале усилителя - в каскаде на лампе Л3.

Схема усилителя
Помимо задержки звука, цепочка C10R13 позволяет во втором канале получить на высоких частотах большее усиление, чем на низких. А это, в свою очередь, усиливает ощущение естественности звучания.

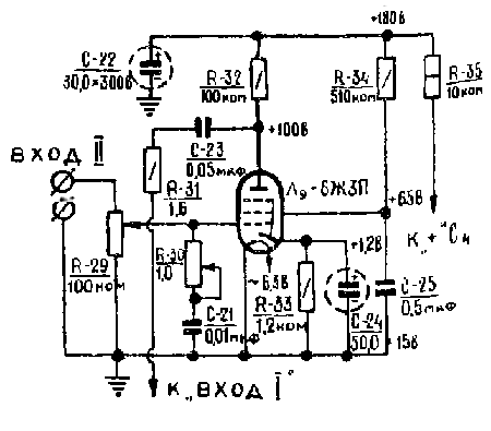
Каскад для воспроизведения старых грамзаписей.
В усилителе введены следующие регулировки: R1 - тембр низких частот, R2 - общая громкость, R16 - тембр высоких частот, R26 - громкость высоких частот. Для воспроизведения старых грамзаписей введен дополнительный каскад на лампе Л9 - 6Ж3П, в котором, помимо регулятора громкости R29, есть регулировка R30, срезающая "шипение" пластинки. Этот каскад монтируется на одном шасси с усилителем. Для подсоединения усилителя к выпрямителю используется 8-штырьковая колодка от ламповой панели. Выпрямитель собран по двухполупериодной схеме на кенотронах 5ЦЗС. К выпрямителю предъявляются очень высокие требования - питающие анодные напряжения должны быть безукоризненно "чисты", а помехи по осветительной сети не должны проникать через него в усилитель. Поэтому вы и видите на схеме сложную систему фильтров с применением сопротивлений, конденсаторов, дросселей и даже газоразрядных ламп СГ-3С.
Усилитель может питаться и от другого самодельного выпрямителя, только работать будет несколько хуже. Важно, чтобы он имел те же номиналы питающих напряжений и хороший фильтр.

Акустическая система
Одной из основных частей установки является акустическая система. От качества ее работы во многом зависит получение псевдостереофонического звучания. Как правило, акустическая система состоит из нескольких громкоговорителей, расположенных определенным образом по отношению. к слушателю. В конкретном случае все громкоговорители помещены в общий ящик (см. рис.), причем на переднюю стенку выходит по одному громкоговорителю каждого канала. Возможен вариант, когда в ящике устанавливаются только громкоговорители низких частот, а высокочастотные располагаются отдельно по бокам от ящика (описание подобной системы дано в журнале "Радио" № 11 за 1958 г.).
Ящик нашей системы склеивается из толстой (15-20 мм) фанеры или досок. На передней панели, помимо отверстий под громкоговорители, внизу делается прямоугольный вырез для лучшего воспроизведения низких частот. Внутренние стенки ящика оклеиваются звукоизоляционным материалом (войлок, ватин, вата) для предотвращения неприятного дребезжания ящика при большой громкости звука. После установки громкоговорителей ящик закрывается сзади крышкой толщиной не менее 10 мм.
Данные деталей
Выходные трансформаторы Тр-1 и Тр-2 наматываются на железе Ш-25 при толщине набора 32 мм. Каркасы для их намотки имеют по 5 секций (см. рис.). Обмотка I трансформатора Тр-1 наматывается в трех секциях по 1 400 витков провода ПЭЛ-1 0,13 мм в каждой секции, обмотка II имеет 1 600 витков провода ПЭЛ-1 0,08 мм с отводом от середины, обмотка III - 92 витка провода ПЭЛ-1 0,7 мм.
У трансформатора Тр-2 обмотка I укладывается в 4 секциях по 1 050 витков провода ПЭЛ-1 0,13 мм в каждой секции, обмотка II состоит из 92 витков провода ПЭЛ-1 0,7 мм. Все обмотки наматываются в одну сторону.

На рисунке вы видите внешний вид собранного трансформатора, а также расположение обмоток и соединение их между собой. Указанные начала ("Н") и концы ("К") каждой обмотки подпаиваются к соответствующим цепям схемы усилителя. Установленные на шасси трансформаторы закрываются снизу и сверху кожухами из мягкого железа для устранения наводок на цепи усилителя.

Силовой трансформатор Тр-3 собран на железе Ш-32 при толщине набора 64 мм. Обмотки 1а и 16 содержат по 284+45 витков провода ПЭЛ-1 0,8 мм, обмотка II - 975+975 витков ПЭЛ-1 0,4 мм, обмотка III - 13 витков ПЭЛ-1 1,5 мм, обмотка IV - 17 витков ПЭЛ-1 2,0 мм, обмотка V - один слой провода ПЭЛ-1 0,2 мм, намотанного между I и II обмотками.
Дроссели фильтра Др-1 и Др-2 наматываются на железе Ш-25 при толщине набора соответственно 20 мм и 40 мм. Первый дроссель наматывается проводом ПЭЛ-1 0,25 мм и имеет 2 тыс. витков при зазоре 0,5 мм, второй - проводом ПЭЛ-1 0,4 мм до заполнения каркаса, зазор 0,7 мм.
Громкоговорители Гр-1 - Гр-4 типа 4ГД-1, имеющие широкую полосу пропускаемых частот (60 - 12000 Гц).
Настройка установки
Настройку начинают с подключения громкоговорителей. Для этого нужна батарейка от карманного фонаря. Ее подключают поочередно к выводам звуковых катушек громкоговорителей и наблюдают за движением диффузора. Изменением полярности подключаемой батарейки добиваются выталкивающего движения (наружу). Замечают положительный вывод (к которому подсоединялся положительный полюс батарейки) и соответственно отрицательный. Затем каждую пару громкоговорителей соединяют последовательно, то есть положительный вывод одного громкоговорителя соединяют с отрицательным выводом другого, а оставшиеся концы подключают к усилителю. После этого прибором типа ТТ-1 производят проверку режимов усилителя и устранение возможных ошибок. Далее на вход усилителя подается сигнал с адаптера, устанавливается достаточная громкость звучания. Меняются местами концы, идущие от любой пары громкоговорителей к выходному трансформатору. Общая громкость звучания акустической системы при этом меняется. Правильность включения концов определяют по наибольшей громкости звучания.
Помните, простоты настройки можно добиться только при правильном включении выходных трансформаторов.
Источник: Иванов Б. Концертный зал на дому. "Юный техник" 1961. - № 8. - С.62-65.
Комментарии