Не располагая пентодом, я вынужден был попробовать применить в конвертере лампу типа СО-118. Должен признаться, что результатами своего опыта я остался доволен. Конвертер с лампой СО-118 работает неплохо.
Слышимость коротковолновых телефонных станций по чистоте и отчетливости передачи получается вполне нормальной.
Беру на себя смелость рекомендовать всем радиослушателям построить себе такой коротковолновый конвертер и не тратить времени и сил на поиски "невидимки" - пентода СО-182. Лампа типа СО-118 вполне пригодна для работы в конвертере.

Рис. 1
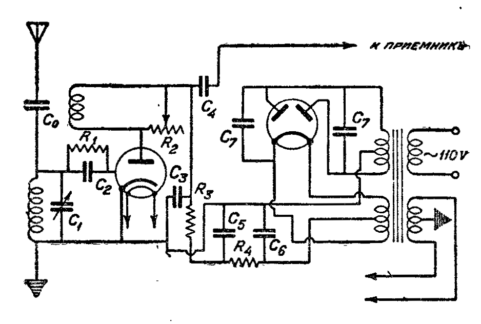
Схему конвертера, напечатанную в № 2 журнала "Радиофронт" за 1936 г., пришлось немного изменить с тем, чтобы можно было регулировать обратную связь. Правда, к регулировке обратной связи приходится прибегать лишь при включении конвертера с тем, чтобы добиться возникновения генерации. В дальнейшем же при настройке конвертера на различные станции величина обратной связи остается неизменной. В качестве регулятора обратной связи я применил трестовский потенциометр сопротивлением в 500 Ом, включив его в качестве реостата между концами катушки обратной связи. Кроме того дроссель высокой частоты оказался ненужным. В остальном как принципиальная, так и монтажная схема конвертера оставлена без изменений. Измененная схема конвертера приведена на рис. 1.
В схему введен мною еще двухполюсный переключатель-рубильник мастерской "Металлист" (можно поставить джек). Такой переключатель позволяет одним поворотом его ручки включать и выключать конвертер из приемника и переводить последний на прием длинноволновых станций. При выключении конвертера одновременно размыкается первичная обмотка силового трансформатора конвертера.
Наличие добавочных конденсаторов С7 в выпрямителе (между анодом я нитью кенотрона) необходимо, так как они способствуют полному устранению фона переменного тока.
Л.Н. Райтман
Источник: "Радифронт". 1936. - №10. С.46.
Комментарии