Детекторный радиоприёмник "ДВ-5" выпускался Московским ЭМЗ с 1929 года.
''ДВ-5'' - это Детекторный, Вещательный, 5 модели радиоприёмник. Он пришёл на смену модели "ДВ-4". Основное отличие от приёмника "ДВ-4" - это жёсткое крепление детектора, сначала на верхней панели, а позднее и внутри футляра. Радиоприёмник "ДВ-5" работает в диапазоне 300...2000 метров. Грубая перестройка осуществляется переключением витков а плавная вариометром. Отдельный переключатель регулирует связь с антенной. В радиоприёмнике применён детектор ДС-4. Рекомендуемая антенна - диполь или длинный провод от 40 м. Выход аппарата нагружен высокоомными телефонами. Радиоприёмник ''ДВ-5''.
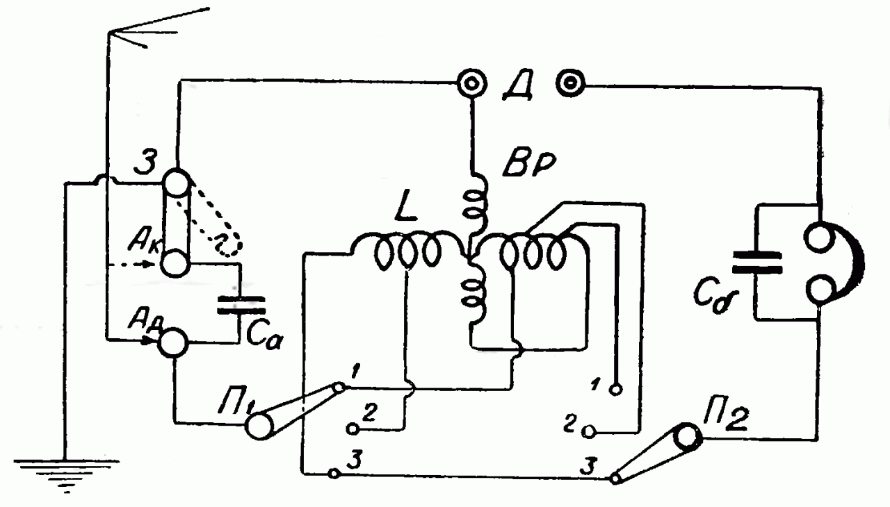
Приемник ДВ-5 построен по простой схеме с плавной настройкой при помощи вариометра. Схема его приведена на рисунке 1.

Рис. 1. Схема приемника ДВ-5
Приемник представляет собой полированный ящик, размерами 130х160х100 мм, с наклеенной сбоку инструкцией. Все детали смонтированы на верхней панели, покрытой лаком черного цвета. По конструкции и выполнению ДВ-5 - типичный приемник массового выпуска.
Результаты, данные приемником ДВ-5 при испытании его на громкость и избирательность, таковы. Прием производился на наружную нормальную антенну, расположенную в центре города. Громкость у него нормальная для приемника по простой схеме о плавной настройкой. При сравнении с приемником "Радиолюбитель" ДВ-5 по громкости дал примерно те же результаты. Избирательность ДВ-5 нормальная для приемника по простой схеме, то есть данный приемник будет хорошо разделять станции во всех городах и пригородах нашего Союза, за исключением Москвы. В Москве при настройке на любую станцию получаются помехи со стороны других станций.
При приеме станции МОСПС на приемник ДВ-5. Опытный передатчик слышен вполне внятно (имеется возможность разбирать все слова). Опытный передатчик принимается почти без помех (разбираются некоторые слова мешающих станций).
Приему станции ВЦСПС мешают все московские станции и слушать ее почти нельзя. Главные помехи от Опытного передатчика (он слышен почти так же, как и ВЦСПС).
Станция имени Попова принимается о помехами со стороны ВЦСПС и Опытного передатчика, слышимость которых вполне разборчива.
Станции имени Коминтерна мешает опять-таки Опытный передатчик; его передачу можно разобрать.
На приемник "Радиолюбитель" была принята совершенно без помех станция МОСПС и чуть лучшие результаты получились при приеме станции имени Коминтерна.
В заключение отметим возможность приема станции МОСПС и Опытного передатчика без всяких помех при включении последовательно в антенну постоянного конденсатора в 80 пФ.
Литература:
Комментарии