П.С. Селиванов.
Нижеописанный приемник построен по обычной регенеративной схеме (рис.1). Применение двухсеточной лампы дает возможность дорогостоящую анодную батарею заменить 2-3 батарейками от карманного фонаря. Для тех любителей, которые хотят пользоваться лампой "микро", никаких переделок и изменений делать не нужно; вывод для катодной сетки остается не присоединенным, анодная батарея берется в 40-80 В. Отсутствие в приемнике переменного конденсатора и наличие в нем вариометра значительно удешевляют стоимость приемника.
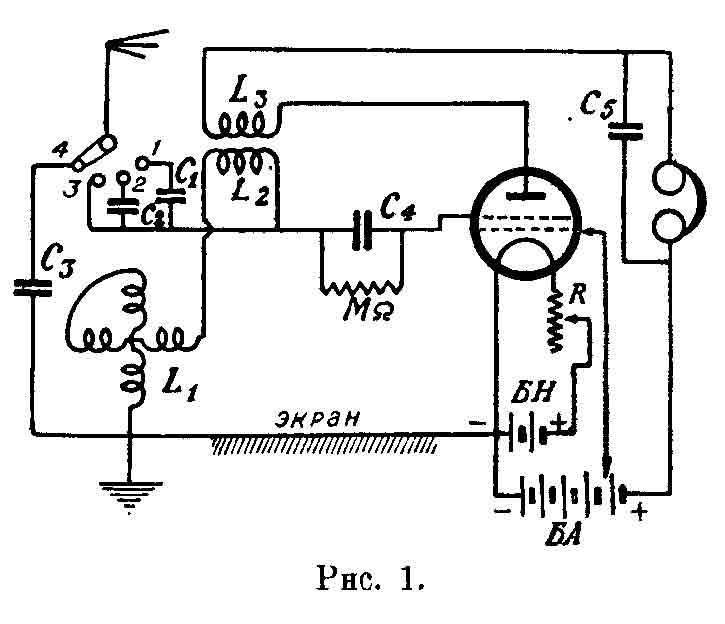
Схема.
Переключатель имеет 4 контакта; на 1 и 2 кнопке C1 и С2 включаются по схеме коротких волн, на 3 кнопке включается один вариометр. Если же ползунок поставить на 3 и 4 кнопки сразу (которые монтируют с таким расчетом, чтобы ползунок их покрывал обе вместе), то конденсатор С3 включается параллельно антенне и получаются наиболее длинные волны. L1 - обыкновенный вариометр из цилиндрических однослойных катушек. Обратная связь дается катушкой L3, на катушку L2, включенную последовательно с вариометром L1. Конденсаторы С1, С2, С3, С4, С5 - обычные слюдяные, из них C4 - сеточный, а С5 - блокировочный.

Емкость сеточного конденсатора от 150-300 пФ*. Емкость блокировочного конденсатора хотя и не имеет большого значения, но все же, подбирая ее, можно менять тембр передачи; его емкость от 1000 до 3 000 пФ. Сопротивление MW обычное - 1-2 МОм. Батарею "БА" лучше иметь до 12 В с отводами от 6, 8, 10 и 12 В. Плюс ее соединяется о телефоном, на катодную же сетку напряжение лучше подобрать, но можно ее также присоединить к плюсу телефона и уже подбирать "БА", увеличивая или уменьшая количество элементов. Приемник прилично работает вовсе без анодной батареи, но при этом целесообразно выключить мегом. Для уменьшения влияния руки оператора при настройке приемник имеет заземленный экран, который делается из листа цинка или станиоля, укрепленного на передней панели. Диапазон приемника при средней любительской антенне - от 300 до 1600 м.
Вариометр.
Вариометр L1, как уже выше говорилось, цилиндрический. Ширина как внутренней, так и наружной катушки его равна 28 мм. Полезно ширину наружной катушки сделать на 2-3 мм больше. Витков на обеих катушках по 44, проволока ПБД 0,25. Диаметр наружной катушки - 80 мм, а внутренней - 70 мм, толщина стенок не более 1 мм.
L2 и L3 также составляют вариометр, что дает возможность делать L3 без отводов. Наружная катушка L2 имеет диаметр также 80 мм, но стенки ее можно сделать толще, нежели у вариометра L1. Витков она имеет 20 - по 10 на каждую сторону, проволока ПБД - 0,4 мм. Внутренняя катушка L2 (обратная связь) имеет диаметр 60 мм и 130 витков проволоки 0,25. Проволока на катушке L3 мотается не в одни слой, а кучкой. Ширина катушек как L2, так и L3 равна 28 мм.
Конденсаторы.
Емкости конденсаторов взяты следующие: C1 - 200 пФ, С2 - 500, С3 - 400, но конечно, если их емкость будет немного отличаться от указанной, то это не будет иметь большого значения; однако при большой разнице может не получиться перекрытия между контактами переключателя. Лучше применять конденсаторы ленинградской фирмы "Стандарт-Радио" или московского Дроболитейного завода, емкость которых почти не изменяется от внешних условий, что очень ценно для постоянной градуировки приемника. (У обыкновенных конденсаторов с тонкими картонными обкладками емкость очень не постоянная, благодаря чему получается сдвиг настроек, препятствующий определению станции.
Реостат взят обыкновенный, сопротивлением 15-25 W.
Сборка и монтаж.
Приемник собран на угловой панели. Размер вертикальной стенки 300х230, горизонтальной 300x180 мм. Горизонтальная стенка приподнята на брусочках, поперечное сечение которых 20x20 мм. На передней стенке монтируются вариометры, переключатель, реостат, гнезда телефона, клеммы антенны и земли. На горизонтальной - ламповая панелька, зажим катодной сетки, через нее также выходят и провода питания. Вся панель сделана из 4-мм фанеры.

Для соблюдения хорошей изоляции переключатель, клеммы и гнезда монтированы на граммофонных пластинках. Рис. 2 показывает разметку передней панели приемника. Когда панель сделана, ее протирают шкуркой № 2, потом № 1 и, наконец, № 0. После отделки шкуркой панель покрывается морилкой, по просыхании которой лакируется или полируется. Когда отделка окончена, в передней стенке лобзиком пли острым ножом проделывают отверстия для переключателя, гнезд и клемм, а также просверливают отверстие для осей вариометров и реостата. С внутренней стороны передней панели прикрепляется экран, который делается из цинка или меди толщиной приблизительно 0,5 мм или станиоля. В экране также необходимо сделать отверстия для осей вариометра. Крепление вариометров видно из рис. 3 и 4.

К горизонтальной панели винтами прикрепляются ламповая панелька, причем при привинчивании между панелькой и фанерой для амортизации прокладываются резиновые шайбочки, которые и прихватываются винтами. От ламповых гнезд делают отводы в виде тонких латунных полосок, к которым уже присоединяют соответствующие проводники. Монтаж конденсаторов и присоединение проводников видны из рис. 3.

Испытание и результаты.
Когда приемник готов, вставляют лампу, включают телефон, антенну, землю, а также присоединяют вывод для катодной сетки с зажимом на цоколе лампы; после чего только и включают батареи. Зажим катодной сетки присоединяется к полюсу всей анодной батареи. Зажигают лампу и, вынув одну вилку телефона, прикасаются ею к гнезду, пробуют, есть ли щелчок. Присутствие щелчка показывает исправность катушки обратной связи. Если в телефоне слышен резкий назойливый шум, то это указывает на обрыв в катушках L1 или L2. После этих опытов приступают к испытанию приемника на слышимость. Ставят переключатель на кнопки 3 и 4 (соединить ползунком обе сразу) и ставят вариометр L1 хотя бы на 80 град., после чего вращают катушку обратной связи в ту или другую сторону до получения щелчка в телефоне, что означает присутствие генерации. Вариометром L1 отыскивают тогда станцию, после чего убавляют обратную связь до наибольшей чистоты (конечно, без большой потери слышимости) и регулируют накал до получения наибольшей громкости, после чего можно пробовать давать на катодную сетку различное напряжение.
*Примечание: в этой и последующих статьях из старых журналов "радилюбитель" и "Радио всем" обозначение величин емкости будут приводиться в современных общепринятых величинах - в "пФ" вместо "см".
Источник: Селиванов П.С. Простой одноламповый приемник с двухсеточной лампой. "Радио Всем", 1928. - №19. - С.508-509.
Комментарии