Г. Крылов
Приемник предназначен для приема программ радиовещательных станций в диапазоне средних и длинных волн (188 - 800 м). Прием местных станций можно вести на обычную комнатную антенну без заземления. Для приема дальних станций к приемнику необходимо подключить наружную антенну и заземление. Такой приемник сможет построить любой начинающий радиолюбитель.
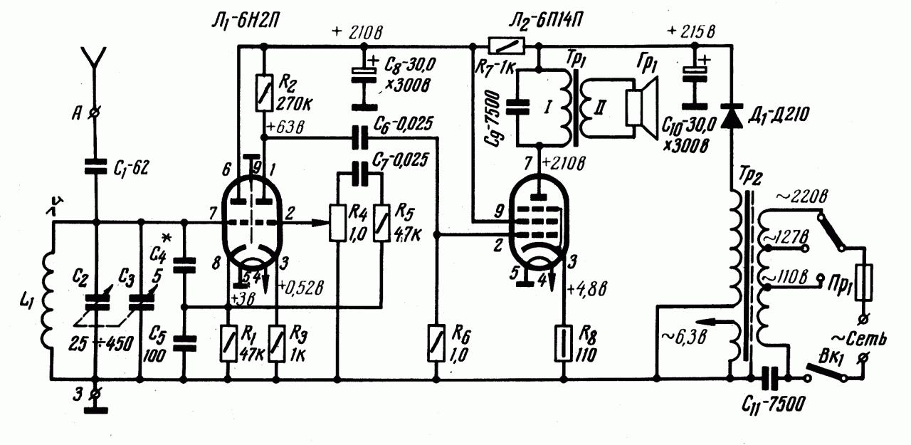
Принципиальная схема приемника
Приемник собран па двух лампах типа 6Н2П и 6П14П (см. рис 2.). Сигнал из антенны через конденсатор C1 поступает на колебательный контур L1С2С3 и далее на катодный детектор, собранный на левом, (по схеме) триоде лампы Л1.

Рис. 2. Схема простого двухлампового радиоприемника
Регенеративный детектор вносит в колебательный контур отрицательное затухание, что резко повышает чувствительность и избирательность приемника. Сопротивление нагрузки R1, зашунтированное конденсатором С5, включено в катодную цепь лампы Л1.
При работе приемника напряжение, возникающее на этом сопротивлении, смещает рабочую точку на нелинейный участок анодно-сеточной характеристики левого триода лампы Л1. Регенеративный катодный детектор по начертанию схемы аналогичен трехточечному генератору с емкостным делителем, состоящим из конденсаторов С4, С5. При увеличении отношения емкости конденсатора С4 к емкости конденсатора С5 увеличивается глубина положительной обратной связи и приемник возбуждается. Для более полного использования регенеративного свойства детектора следует работать в режиме, близком к генерации. Работать в режиме генерации ни в коем случае нельзя, так как при этом искажается сигнал и создаются помехи. Чтобы установить нужный режим, обратная связь сделана регулируемой, для чего на место конденсатора С4 поставлен подстроечный конденсатор емкостью от 2 до 25 пф, ось которого выведена на переднюю панель.
С нагрузки детектора сигнал через цепь R5C7R4 подается на управляющую сетку правого (по схеме) триода лампы Л1, на котором собран усилитель напряжения. Сопротивление R5 вместе с входной емкостью правого триода Л1 образует фильтр, подавляющий сигнал несущей частоты.
Выходной каскад усилителя собран на лампе Л2 типа 6П14П. Он нагружен на громкоговоритель 1ГД-2 ВЭФ, включенный через согласуюций трансформатор Тр1. Первичная оббмотка трансформатора зашунтирована конденсатором С9, что снижает искажения на высших звуковых частотах.
Выпрямитель собран на диоде Д210. Напряжение на анод лампы Л2 подается с первого конденсатора фильтра С10. Напряжение на экранирующую сетку лампы Л2 и на анод лампы Л1 подается через дополнительную сглаживающую ячейку R7C8. Конденсатор С11 введен в схему для уменьшения фона.
Детали и конструкция
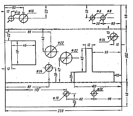
Радиоприемник смонтирован на шасси размером 220x102x46 мм. Его можно изготовить из алюминия толщиной 1,5 мм или стали толщиной 1 мм. Разметка шасси показана на рис. 1. Передняя панель изготовлена из органического стекла толщиной 3 мм, для этой же цели можно использовать фанеру толщиной 5 мм. Расположение деталей радиоприемника с верхней стороны и в подвале шасси показано на фотографиях на рис.3. и рис.4. Контурная катушка L1 намотана на гильзе охотничьего патрона 16-го калибра и содержит 170 витков провода ПЭЛ 0,25. Можно также применить средневолновую катушку от любого радиоприемника. Вместо сдвоенного блока конденсаторов переременной емкости С2-С3 можно применить одиночный конденсатор с максимальной емкостью 300 - 1000 пФ. Конденсатор С4 выполнен в виде двух скрученных изолированных проводов длиной несколько сантиметров. Потенциометр R4 имеет выключатель. Трансформатор Тр2 собран на сердечнике из пластин УШ-12, толщина набора 18 мм, сборка встык с зазором 0,1 мм. Его первичная обмотка содержит 1600 витков провода ПЭЛ 0,14, а вторичная - 60 витков ПЭЛ 0,51. Можно применить также выходной трансформатор от приемника "Рекорд 53-М" (или от любого лампового телевизора). Громкоговоритель можно применить любой с сопротивлением звуковой катушки постоянному току 6 Ом. Диод Д210 можно заменить диодом Д211 (или Д226Б) или двумя последовательно соединенными диодами Д7Ж. Силовой трансформатор можно использовать от радиолы "Рекорд-61". Он собран из пластин УШ-22, толщина набора 27 мм. Его сетевая обмотка содержит 625+75+550 витков провода ПЭЛ 0,25, повышающая - 1380 витков провода ПЭЛ 0,16 и обмотка накала - 40 витков провода ПЭЛ 0,96.

Рис 1. Конструкция шасси простого двухлампового радиоприемника.
Верньерное устройство и шкала приемника могут быть любыми. В крайнем случае ручку настройки можно надеть непосредственно на ось конденсатора переменной емкости. Чтобы улучшить внешний вид и звучание приемника, его рекомендуется поместить в специальный футляр.

Рис. 3. Вид на шасси приемника сзади

Рис 4. Вид на шасси приемника снизу
Большим преимуществом приемника является простота его налаживания, которое при правильно выполненном монтаже и соблюдении указанных на принципиальной схеме режимов ламп сводится к подбору нужной величины обратной связи с помощью конденсатора С4.
Приемник испытывался в лаборатории журнала "Радио" и показал хорошие результаты.
Источник: Крылов Г. Простой двухламповый приемник. Радио, 1964. - №4. - С.43, 3 стр. обложки.
Комментарии