О. Туторский
УКВ приемники, которые были описаны на страницах нашего журнала, рассчитаны только на прием любительских УКВ радиостанций, работающих о диапазоне 70-72 МГц (НК. - статья написана в 1949 году), а между тем на УКВ диапазоне работают и вещательные радиостанции, в частности передается звуковое сопровождение передач Московского и Ленинградского телевизионных центров. Ниже описывается УКВ приемник, собранный по сверхрегенератилной схеме. Диапазон волн, перекрываемый приемником, выбран такой, на котором можно слушать любительские УКВ передатчики (70-72 МГц) и вещательные УКВ радиостанции. Московские и ленинградские радиолюбители могут слушать на этот приемник звуковое сопровождение телевизионных передач.
Редакция располагает сведениями, что эти передачи иногда слышны на расстоянии 800-1 000 км. Это дает широкое поле деятельности радиолюбителям-экспериментаторам для наблюдения за распространением ультракоротких волн.
Сверхрегенераторные приемники нашли заслуженное признание при работе на УКВ. Радиолюбитель, остановившийся на схеме сверхрегенератора, имеет возможность без особых затрат и большого труда построить приемник, не уступающий по чувствительности сложному супергетеродину, постройка и налаживание которого не всегда под силу даже опытному радиолюбителю.
При конструировании данного приемника была поставлена задача построить такой приемник, в котором не было бы дорогих и сложных деталей, а монтаж и налаживание были бы максимально просты.
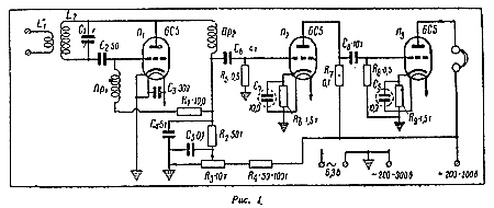
В результате получился очень простой приемник, детали для которого имеются у большинства радиолюбителей. Приемник собран отдельно от блока питания и может питаться от любого выпрямителя, дающего 200-300 В постоянного тока при силе тока 20-40 мА, и 6,3 В переменного тока на накал. Выпрямитель для данного приемника может быть собран на трансформаторе от приемника 6Н-1, "Салют" и т.д. Схема приемника изображена на рис 1.

Первая лампа 6J5 (6С5) - обычный сверхрегенеративный детектор. Связь с усилителем низкой частоты осуществляется несколько необычно. Как показали многочисленные опыты, трансформатор низкой частоты, который включается на входе усилителя низкой частоты, оказывает большое влияние на работу сверхрегенератора. Многие трансформаторы оказываются непригодными для этой цели, так как являются источником паразитной генерации, которую очень трудно устранить. Это заставило обратиться к схеме, у которой в анодной цепи первой лампы в качестве нагрузки включено сопротивление. Оказалось, что эта схема работает хорошо и не имеет склонности к паразитной генерации. В остальном схема приемника не требует пояснений.
На месте конденсатора настройки С1 применен керамический полупеременный конденсатор емкостью 3-30 пФ. Этот конденсатор выбран как наиболее дешевый из имеющихся в продаже. Нужно подобрать такой конденсатор, чтобы его подвижная фарфоровая тарелочка вращалась свободно, иначе - настройка будет затруднена. Если такой конденсатор не удастся достать, то можно использовать воздушный малогабаритный конденсатор.
Катушка связи с антенной L1 имеет один виток медного голого провода диаметром 2 мм; внешний диаметр витка 20 мм. Катушка контура L2 - 5 витков медного провода 2 мм, внешний диаметр 20 мм, расстояние между центрами витков 3 мм. Дроссели Др1 и Др2 наматываются на сопротивлениях Каминского, с которых счищен проводящий слой. Каждый дроссель состоит из 56-60 витков провода ПБО-ПБД 0,25-0,3. Обжимы сопротивлений служат выводными концами обмоток дросселей.
Потенциометр R3 служит для регулировки генерации. Конденсатор С2 может быть или керамическим или слюдяным, хорошего качества, без утечки.
Приемник собирается на П-образном шасси, сделанном из алюминия, железа или фанеры. На рис. 2 приведена монтажная схема и размеры шасси. Высота шасси равна 45 мм.

Конденсатор настройки С1 укрепляется на металлическом угольнике около панельки первой лампы, к его выводам припаивается катушка контура L1. Ручка настройки С1 выведена на переднюю стенку через удлинительную ось из какого-либо изолирующего материала (эбонит, текстолит, дерево). Установка конденсатора понятна из рис. 3.

НАЛАЖИВАНИЕ ПРИЕМНИКА
Для простоты постройки и налаживания рекомендуется следующий порядок работы. Прежде всего укрепляются все детали и монтируется усилитель низкой частоты. Он проверяется в работе; послечего производится монтаж сверхрегенеративного детектора. Если при сборке усилителя низкой частоты возможны некоторые отклонения в данных деталях и монтаже, то при сборке детектора рекомендуется точно придерживаться приведенных не схеме данных и располагать все детали и монтажные проводники согласно монтажной схеме Если монтаж сделан правильно, приемник заработает без всякого налаживания. Следует лишь подобрать сопротивление R4. Величина его должна быть такова, чтобы генерация возникала при нахождении движка сопротивления R8 в среднем положении.
Возникновение сверхрегенерации определяется характерным шумом и шипением при вращении сопротивления R3. Генерация должна возникать плавно без свиста на пороге шума, на всех градусах настройки приемника. Самым трудным в налаживании будет подгонка контура на нужный диапазон. Если будут точно соблюдены данные деталей и монтаж выполнен точно по схеме, то диапазон частот, перекрываемый приемником, будет лежать в пределах от 40 до 80 МГц. Небольшое изменение диапазона можно произвести, раздвигая и сдвигая витки катушки L2.
Приемник может работать на любой антенне, даже комнатной, однако, наилучшие результаты при приеме слабых сигналов дает наружный диполь - такой, какой обычно употребляется для телевизоров. Длина каждого плеча диполя равна 1-1,5 м.
При включении антенны может потребоваться небольшая регулировка связи между катушками L1 и L2 - слишком сильная связь с антенной может срывать генерацию. Прием ведется на генерации, когда приемник обладает наибольшей чувствительностью. При появлении сигнала суперный шум ослабевает или пропадает совсем, в зависимости от силы сигнала.
Общий вид приемника приведен на рис. 4.

РЕЗУЛЬТАТЫ
Что можно слушать на такой приемник? Продолжительные испытания этого приемника показали, что приемник обладает высокой чувствительностью (порог слышимости сигнала 2-3 мкВ). На него принимались вое станции, которые можно услышать на более сложные приемники, собранные по супергетеродинной схеме. На приемник, включенный на наружный диполь, принимались на громкоговоритель любительские радиостанции УАЗЦФ и УАЗДИ. На комнатную, антенну принимались: Московская радиостанция, ведущая передачи с частотной модуляцией (46 МГц) и передачи звукового сопровождения Московского телевизионного центра (57 мггц). При приеме частотно-модулированных сигналов приемник настраивается несколько в стороне от средней частоты передатчика; при этом сильных искажений в передаче незаметно. Возможность приема звукового сопровождения телевидения дает основание рекомендовать этот приемник для установки в телевизорах.
При постройке данного образца ставилась задача приема на головной телефон и поэтому оконечной лампой взята лампа 6J5 или 6С5. Однако приемник дает такую громкость, что вполне нагружает динамик от приемника "Родина". Радиолюбитель, желающий еще больше увеличить выходную мощность, может поставить в оконечный каскад лампу 6Ф6 или 6V6. Схема этого варианта приведена на рис. 5 и требует уменьшения сопротивления в цепи катода до 400 Ом и добавления провода от +200 В к экранной сетке выходной лампы.

Источник: Туторский О. УКВ приемник. - "Радио". - 1949. - №6. - С.36-38.
Комментарии