
Батарейный супергетеродинный приёмник "СГ-6" выпускался радиоаппаратным заводом им. Казицкого с 1930 по 1932 год.

Конструктивное оформление:
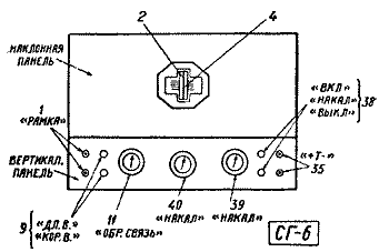
Конструктивно приемник оформлен в виде ящика с наклонной передней панелью, на которой расположены лимбы настройки контура, рамки и контура гетеродина. Все прочие органы управления расположены на маленькой передней вертикальной панели. Лампы расположены внутри приемника. Доступ к ним осуществляется через открывающуюся крышку ящика приемника.
Каскады приемника и примененные лампы:
- Генератор местных колебаний и первый детектор на лампе типа СТ-6.
- Трехкаскадный усилитель ПЧ на лампе типа ПТ-2.
- Второй детектор на лампе типа на лампе типа ПТ-2.
- Усилитель низкой частоты на лампе типа ПТ-2.
Диапазон принимаемых волн:
- 1-й поддиапазон (длинные волны): 625-1850 м (0,48 - 0,16 кГц);
- 2-й поддиапазон (короткие волны): 260 - 625 м (1,15 - 0,48 МГц).
Полный диапазон волн, перекрываемый приемником, равен 260-1850 м (1,15-0,16 МГц).
Режимы приемника:
- Напряжение батареи накала: 4-5 В.
- Общий ток накала: 360-430 мА.
- Напряжение анодной батареи: 80-160 В.
- Общий анодный ток: 8-14 мА.
Схема
Первая лампа приемника типа СТ-6 (двухсеточная) служит одновременно генератором местных колебаний и первым детектором. Следующие три лампы типа ПТ-2 служат для усиления получаемых после первого детектора колебаний промежуточной частоты. Пятая лампа ПТ-2 работает в качестве второго детектора и шестая ПТ-2 усиливает низкую частоту.
Для настройки контура рамочной антенны, включаемой в цепь управляющей сетки двухсеточной лампы СТ-6, между управляющей сеткой и катодом этой лампы включен конденсатор переменной емкости.
Гетеродин местных колебаний собран по трехточечной схеме. В качестве управляющей сетки гетеродина использована катодная сетка лампы СТ-6. Настройка колебательного контура гетеродина производится при помощи переменного конденсатора и путем переключения двух комплектов катушек индуктивности.
Громкость приема регулируется конденсатором 77.
Переход с первого детектора на первый каскад усиления промежуточной частоты, с первого каскада на второй каскад и со второго на третий каскад усиления промежуточной частоты осуществлен при помощи трансформаторов. Первичная (анодная детектора) и вторичная обмотки первого трансформатора промежуточной частоты настроены на фиксированную постоянную частоту, при помощи постоянных конденсаторов. В других трансформаторах на ту же частоту при помощи постоянных конденсаторов настроены только вторичные (сеточные) обмотки. Переход на лампу второго детектора - реостатный и со второго детектора на каскад усиления низкой частоты - трансформаторный.
Для питания приемника необходима батарея накалу 4-5 В и анодная батарея 80 или 160 В. В последнем случае необходима батарея сеточного смещения. Повышенное анодное напряжение и сеточное смещение подаются только на лампу каскада усиления низкой частоты.
Несмотря на значительное количество ламп и на супергетеродинную схему, чувствительность приемника СГ-6 весьма не велика.
Особенности эксплуатации:
Расход радиоламп на 100 час. работы: СТ-6 (1 шт.) - 0,2, ПТ-2 (5 шт.) - 1,0.
Подготовка к включению
1. Включить в гнезда приемника с надписью "рамка" рамочную антенну, переключив ее секции последовательно для приема станции, работающей на волне 625-1850 м или параллельно - для приема станции, работающей на волне 260 - 625 м.
2. В зависимости от диапазона волн, на котором работает станция, нажать ту или другую кнопку переключателя 9 ("Дл. в" для приема станции, работающей на волне 625-1850 м или "Кор. в" для приема станции, работающей на волне 260-625 м).
3. Присоединить к приемнику батарею накала напряжением 4-5 В.
4. При работе с анодной батареей 80 В замкнуть накоротко перемычкой клеммы " - С" и " - 4+С", а при работе с анодной батареей 160 В снять перемычку с этих клемм.
5. При работе с анодной батареей 160 В присоединить к клеммам " - С" и " - 4+С" батарею сеточного смещения напряжением 3-5 В.
6. При работе с анодной батареей 80 В замкнуть накоротко перемычкой клеммы "+160" и "+80", а при работе с анодной батареей 160 В снять перемычку с этих клемм.
7. Присоединить анодную батарею.
8. Проверить правильность присоединения батарей и их полярность.
9. Включить в гнезда 35 приемника громкоговоритель или головной телефон.
10. Нажать кнопку "Выкл" выключателя накала 38.
11. Ручки реостатов накала 39 и 40 повернуть против часовой стрелки до отказа.
12. Вставить лампы в гнезда. Для этого в приемнике нужно открыть крышку. Лампа СТ-6 вставляется в гнезда крайней левой ламповой панели.
13. Соединить со схемой приемника клемму на цоколе лампы СТ-6.
Включение
14. Нажать кнопку "Вкл" выключателя накала 38.
15. Вращая ручки реостатов 39 и 40 по часовой стрелке, установить нормальное напряжение накала ламп приемника.
16. Закрыть крышку приемника.
Настройка
17. Направить плоскость рамки на станцию; подлежащую приему.
18. Вращая барабаны 2 и 4 и слушая в телефон или громкоговоритель, установить их в таком положении, при котором шум в телефоне или громкоговорителе будет слышен наиболее громко, что указывает на то, что разность частот контура рамки и контура гетеродина равна частоте, на которую настроен усилитель промежуточной частоты.
19. Вращая барабаны 2 и 4 таким образом, чтобы не уходить от положения наибольшей интенсивности шумов, настроиться на волну радиовещательной станции.
Регулировка громкости
20. Регулировку громкости можно производить:
а) изменением накала двух первых ламп усилителя промежуточной частоты 18 и 22 вращением ручки реостата 40. (Однако не следует перекаливать лампы во избежание уменьшения срока их службы, тем более, что увеличение накала выше нормального обычно не дает сколько-либо заметного увеличения громкости. Более значительный перекал ламп также недопустим, так как приводит к искажениям радиоприема.)
б) Вращением ручки конденсатора обратной связи 11.
21. Не следует производить регулировку громкости расстройкой контура рамки, контура гетеродина или одновременно обоих контуров, так как при этом могут возникнуть или усилиться помехи от других радиостанций.
Выключение
22. Выключение накала производится нажатием кнопки "Выкл" выключателя 38.
23. После выключения накала рекомендуется отсоединить от приемника анодную батарею.
24. Последующее включение накала приемника, если напряжение батареи накала за время бездействия приемника не изменилось, можно производить простым нажатием кнопки "Вкл" выключателя и никакой регулировки накала реостатами 39 и 40 при включении приемника не производить.
Назначение и данные деталей
Первый детектор и гетеродин
1 - клеммы для включения рамочной антенны.
2 - конденсатор переменной емкости, среднелинейный - 800 пФ, для настройки контура рамки; ротор его вращается при помощи лимба.
3 - лампа двухсеточная типа СТ-6, работающая одновременно как первый детектор и как гетеродин.
4 - конденсатор переменной емкости, среднелинейный - 600 пФ, для настройки контура гетеродина; ротор его вращается при помощи лимба.
5 - сеточная катушка контура гетеродина, включаемая при приеме волн 260 - 625 м.
6 - то же при приеме волн 625 - 1850 м.
7 - анодная катушка ,гетеродина, включаемая при приеме волн 260 - 625 м.
8 - то же, при приеме волн 625 - 1850 м.
9 - переключатель двухполюсный, кнопочный, для переключения анодных и сеточных катушек гетеродина.
10 - конденсатор постоянной емкости 1 мкФ 400 В контура гетеродина, для соединения работающих анодных и сеточных катушек по высокой частоте.
77 - дифференциальный конденсатор обратной связи.
12 - конденсатор постоянной емкости - 890 - 1000 пФ.
13 - реактивная катушка высокой частоты, загораживающая путь высокой частоте на усилитель промежуточной частоты.
14 - конденсатор фильтра промежуточной частоты - 220 пФ.
15, 16 - катушки индуктивности фильтра промежуточной частоты.
17 - конденсатор фильтра промежуточной частоты - 220 пФ.
Усилитель промежуточной частоты
18, 22, 26 - лампы ПТ-2 первого, второго и третьего каскадов усилителя промежуточной частоты.
19, 23 - первичные обмотки трансформаторов промежуточной частоты первого и второго каскада (катушки контуров промежуточной частоты).
20, 24 - вторичные обмотки трансформаторов промежуточной частоты первого и второго каскада.
21, 25 - постоянные конденсаторы для настройки вторичных обмоток трансформаторов промежуточной частоты по 220 пФ.
27 - анодное сопротивление третьего каскада усилителя промежуточной частоты 100 кОм для связи с цепью сетки детекторной лампы.
28 - конденсатор блокировочный, сопротивления 27, емкостью 77 пФ.
Второй детектор
29 - конденсатор гридлика - 220 пФ.
30 - сопротивление гридлика - 1,5 МОм.
31 - лампа ПТ-2.
32 - междуламповый трансформатор низкой частоты.
33 - блокировочный конденсатор I обмотки трансформатора низкой частоты 32.
Усилитель низкой частоты
34 - лампа ПТ-2 (или УО-3).
35 - гнезда для включения громкоговорителя.
36 - блокировочный конденсатор громкоговорителя - 3850 - 4400 пФ.
Цепи питания
37 - клеммы для присоединения источников питания.
38 - кнопочный выключатель накала.
39 - реостат накала 5 Ом лампы первого детектора и гетеродина 3, лампы третьего каскада усилителя промежуточной частоты 26, лампы второго детектора 31 и лампы УНЧ 34.
40 - реостат накала 10 Ом ламп первого и второго каскадов усилителя промежуточной частоты 18 и 22 для регулировки громкости.
41 - блокировочный конденсатор источника анодного напряжения - 1 мкФ 400 В.
42 - сопротивление проволочное, бифилярное - 13 кОм, понижающее напряжение на анод лампы 3 первого детектора и гетеродина.

Данные рамочной антенны СГ-6
- Форма рамки - квадратная, плоская.
- Сторона квадрата наружного витка: 750 мм.
- Сторона квадрата внутреннего витка: 590 мм.
- Шаг намотки (расстояние между витками в мecтe крепления провода): 8,6 мм.
- Число секций: 2.
- Число витков наружной секции: 8.
- Число витков внутренней секции: 22.
- Полное число витков: 30.
- Индуктивность рамки при последовательном соединении секций (для приема волн 625-1850 м): 1200 мкГн.
- Индуктивность рамки при параллельном соединении секций (для приема волн 260-625 м): 134 мкГн.
Литература:
Комментарии