Радиоприёмник "Комсомолец"

Радиоприёмник "Комсомолец"

Ламповый двухдиапазонный радиоприёмник прямого усиления "Комсомолец" выпускался Харьковским радиозаводом ГлавЭксПрома с 1936 года.

Приемник "Комсомолец" предназначался для приема радиовещательных станций и питался от сетей переменного тока напряжением 110-120 и 210-220 В. Выпрямитель и силовой трансформатор, от которых осуществляется питание дамп приемника, смонтированы в общем ящике с приемником. В том же ящике смонтирован электродинамический громкоговоритель.

На приемник возможен прием дальних станций в диапазоне 200-560 м и 715-1950 м при отсутствии значительных помех. Прием можно вести как с антенной, так и без нее - на провод, электросети, питающей приемник. При отсоединении от приемника антенны, его антенная цепь автоматически через предохранительные конденсаторы присоединяется к проводам электросети, подведенным к "Комсомольцу" для питания последнего.

Приемник может быть также использован в качестве усилителя при воспроизведении граммофонной записи через звукосниматель.

Конструктивное оформление приемника "Комсомолец":

"Комсомолец" оформлен в виде деревянного ящика со съемной задней стенкой из пресшпана. В ящике установлено металлическое штампованное шасси, на котором укреплены все детали схемы приемника. Динамический громкоговоритель в некоторых приемниках укреплен на шасси, а в некоторых отдельно на передней стенке ящика. Все органы управления и шкала настройки приемника сосредоточены на передней стенке ящика. Сзади выведены гнезда для включения антенны, заземления, звукоснимателя и сети переменного тока. Потребляемая мощность - 50 Вт.

 Радиоприёмник "Комсомолец"

Габариты приемника: длина - 525 мм, ширина 224 мм, высота - 437 мм.

Каскады приемника и примененные лампы:

  1. Каскад усиления ВЧ на лампе типа СО-124.
  2. Детектор (первый каскад УНЧ при работе от звукоснимателя) на лампе типа СО-124.
  3. Оконечный усиления низкой частоты на лампе типа СО-122.
  4. Выпрямитель собран по двухполупериодной схеме на лампе типа ВО-202 (или ВО-125)

 Диапазон принимаемых волн:

  1. Диапазон 1: 200-560 м (1,50 - 0,53 МГц);
  2. Диапазон 2: 715-1950 м (0,41 - 0,15 МГц);

Полный диапазон волн, перекрываемый приемником, равен 200 - 1950 м (1,50 - 0,15 МГц).

Схема

"Комсомолец" относится к приемникам прямого усиления и имеет три каскада; первый каскад - усиления высокой частоты - и второй - детекторный - работают на экранированных лампах СО-124. Третий каскад усиления низкой частоты - на пентоде СО-122.

Приемник имеет три настраивающихся резонансных контура, из которых первые два, находящиеся между антенной цепью и цепью сетки лампы усилителя высокой частоты, образуют полосовой фильтр.

Связь между контурами полосового фильтра емкостная.

Первый контур при приеме волн в диапазоне 200-560 м связан с антенной через емкость, а при приеме волн в диапазоне 715-1950 м, кроме того, еще индуктивно.

Второй контур включен непосредственно в цепь сетки лампы усиления высокой частоты.

Третий комтур включен в анодную цепь лампы усиления высокой частоты и одновременно в цепь сетки детекторной лампы.

Все контуры приемника настраиваются переменными конденсаторами, роторы которых имеют общую ось и вращаются общим верньером.

На катушку индуктивности третьего контура дана индуктивная обратная связь, регулируемая при помощи потенциометра, шунтирующего катушку обратной связи.

Контурные катушки индуктивности имеют по две секции.

При приеме волн в диапазоне 715-1950 м в контуры включаются по две секции катушек, а при приеме волн в диапазоне 200-560 м - одна секция каждой катушки замыкается накоротко при помощи переключателя.

Анодная цепь детекторной лампы связана с каскадом усиления низкой частоты при помощи реостатно-автотрансформаторной связи. Из анодной цепи каскада усиления низкой частоты на звуковую катушку динамика передача энергии производится при помощи трансформатора.

Регулировка громкости в "Комсомольце" осуществляется при помощи переменного сопротивления, включенного в цепь антенны.

Ручка, изменяющая это сопротивление, одновременно управляет выключателем питания.

Выпрямитель приемника работает по двухполупериодной схеме с одной лампой ВО-202.

В качестве реактивной катушки фильтра применена обмотка подмагничивания динамического громкоговорителя.

 

Особенности эксплуатации:

Подготовка приемника к первому включению

0. Предварительно нужно заготовить двойной шнур с двумя нормальными штепсельными вилками на концах.
1. Отвинтить фасонные клеммы и снять заднюю стенку.
2. Для включения приемника для работы от сети 110-120 В предохранитель вставляется правые держатели и для работы от сети 210-220 В в левые держатели, если смотреть на приемник с задней стороны.
3. Вставить лампы - см. рис. В некоторых приемниках имеется экран для лампы усиления высокой частоты, верхняя часть которого перед установкой лампы должна быть снята и снова поставлена после установки лампы на место. В случае отсутствия экрана, рекомендуется стеклянный баллон лампы обертывать станиолью.
4. Верхние клеммы экранированных ламп присоединить к соответствующим контактным пружинам или проводникам, присоединить клемму на цоколе пентода СО-122 к соответствующей контактной пружине или проводнику.
5. Плотно завинтить заднюю стенку. 
6. Присоединить к приемнику антенну и заземление (см. рис.). Присоединение проводов антенны и заземления к приемнику производится следующим образом: оттянуть головки этих зажимов к себе до отказа, продеть через отверстия в зажимах концы проводов антенны и заземления, после чего отпустить головки зажимов. Провода при этом будут зажаты силой пружин, имеющихся в зажимах.
7. В случае если желательно вести прием без антенны на провода электросети, питающей приемник, то для приема на электросеть антенная цепь последнего автоматически присоединяется через специальные конденсаторы; находящиеся внутри приемника к электросети, если в антенный зажим не зажат провод. В последнем случае никаких внешних соединений антенного зажима с электросетью делать не нужно.
8. Поставить ручку регулятора громкости приемников в крайнее левое положение.
9. Вставить одну вилку заготовленного шнура (см. п. 0) в гнезда с надписью "110-210" или "120-220", в зависимости от напряжения питающей сети, а другую вилку того же шнура с штепсельную розетку электросети.
Примечание. При колебании напряжения в сети во время работы приемчика вилку можно переставлять в гнездах приемника "110-210" и "120-220" в зависимости от того увеличилось напряжение сети или уменьшилось.

Включение 

10. Включение приемника осуществляется путем поворота вправо на небольшой угол общей ручки регулятора громкости и выключателя питания.

При включении питания приемника освещается шкала настройки приемника.
После включения обождать 40-50 сек., пока прогреются катоды ламп.

12. В зависимости от волны (частоты) станции, на которую желательно настроиться, поставить ручку переключателя участков диапазона на ту часть, в которой находится желательная станция.
13. Проверить способность приемника к генерации быстрым вращением вправо ручки обратной связи.

Настройка на громко слышимую станцию 

14. Ручку обратной связи повернуть до отказа влево или для облегчения настройки поставить в положение близкое к возникновению генерации. Необходимо помнить, что увеличение обратной связи ведет к уменьшению полосы пропускания приемника.

Примечание. Приемник, работающий без обратной связи, пропускает частоты до 2500-3000 Гц; при малой обратной связи в приемнике срезаются частоты выше 1500 Гц, а при сильной обратной связи - частоты выше 500-600 Гц.

Поэтому при настройке следует по возможности работать без применения обратной связи (ручка регулировки обратной связи повернута влево до отказа) или же вводить возможно более слабую обратную связь.

15. Ручку регулятора громкости установить таким образом, чтобы указатель ее был бы на середине или несколько левее середины.
16. Медленно вращать ручку верньера переменных конденсаторов до тех пор, пока не будет услышана передача желаемой станции. На шкалу приемника могут быть нанесены названия станций, длины волн или частоты.

Настройка на слабо слышимую станцию 

17. Настройку на слабо слышимую станцию можно производить, как указано в пп. 14-16, но поддерживая во время настройки приемник в режиме, возможно более близком к возникновению генерации, и при ручке регулятора громкости, поставленной на максимум.

Для облегчения настройки на слабо слышимую станцию можно производить настройку приемника в соответствии с пп. 14-22.

18. Выполнив операции, указанные в пп, 1-13, повернув в направлении движения часовой стрелки ручку регулятора громкости до отказа и ручку обратной связи до возникновения генерации, вращать ручку верньера до обнаружения станции по свисту биений.

Примечание. Для получения наибольшей чувствительности приемника в этом режиме следует, изменяя настройку приемника, изменять и обратную связь, поддерживая ее на всем диапазоне в режиме, близком к срыву генерации (чем длиннее волна, тем больше надо поворачивать вправо ручку обратной связи).

19. Продолжая вращать ручку верньера, добиться нулевых биений.
20. Уменьшить обратную связь вращением ручки обратной связи против часовой стрелки до тех пор, пока передача не будет слышна без хрипов и искажений.
21. Точнее подстроиться на волну принимаемой станции при помощи верньера.

Регулировка громкости 

22. Если станция слышна слишком громко и с искажениями следует ручку регулятора громкости вращать против часовой стрелки до тех пор, пока не получится достаточно чистая и громкая передача. Вращая ручку регулятора громкости влево, нельзя переходить того положения, при котором начинает действовать выключатель питания.
23. Если станция слышна слабо, то необходимо более точно настроиться верньером.
24 Если станция а после этого продолжает быть слабо слышна, громкость можно увеличить, вращая в направлении движения часовои стрелки ручку регулятора громкости.
26. Дальнейшее увеличение громкости следует производить, вращая по часовой стрелке ручку ооратной связи; при этом, однако, не следует доводить ручку до возникновения генерации, при которой появляются хрипы, свисты и искажения передачи.

Отстройка от мешающих станций 

27. Помехи приему со стороны других станций иногда можно уменьшить, настраиваясь более точно верньером на волну принимаемой станции.
28. Более эффективным способом отстройки от мешающих станций является увеличение обратной связи, но не до возникновения генерации.
29. После регулировки приемника в соответствии с пп. 27 и 28 чрезмерно возросшая громкость приема может быть уменьшена путем вращения ручки регулятора громкости против часовой стрелки. Манипулирование обеими ручками (обратной связи и регулятора громкости) нередко позволяет заметно ослабить помехи.

Использование низкочастотной части приемника для воспроизведения граммофонной записи 

30. Подготовить приемник к работе в соответствии с пп. 1-11. Антенну желательно отсоединить от приемника. В антенный зажим приемника следует зажать кусок проводника в несколько сантиметров длиной, ни с чем не соединенный.
31. Включить в гнезда с надписью "Адаптер" провода от звукоснимателя, привести граммофонный диск во вращение и установить на него иголку звукоснимателя. Звукосниматель должен быть снабжен своим регулятором громкости во избежание перегрузки усилителя и искажений.
32. При переходе на радиоприем провода от звукоснимателя необходимо выключать из гнезд. 

Выключение 

33. Приемник выключаются при специального выключателя, совмещенного с регулятором громкости путем вращением ручки регулятора громкости (общей с ручкой выключателя сети) влево до отказа, пока лампочка, освещающая шкалу, не погаснет.

34. Повторные включения, производятся в соответствии с п. 10 и последующими.

 Литература:

  1. "Справочник по радиоприемникам". Составитель: Р.М. Малинин. М.: "Связьтехиздат", 1937. - (стр.048 - 054).
  2.  Журнал "Радиофронт" №13 за 1936 год.

Комментарии

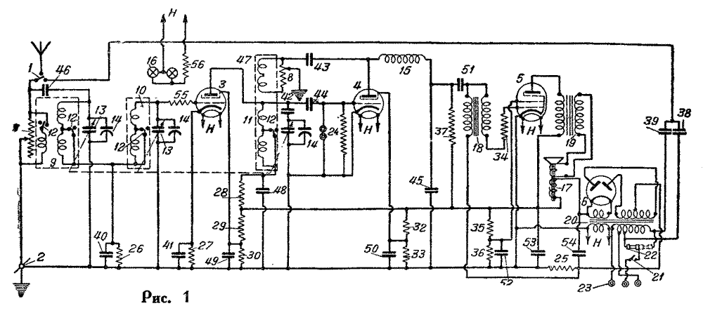
Назначение и данные деталей

Антенная цепь:

1 - зажим для присоединения антенны имеет автоматический контакт, присоединяющий при отсоединении антенны антенную цепь через конденсаторы 2, к сети переменного тока для приема на последнюю.

2 - два предохранительных конденсатора антенной цепи при приеме на электросеть - по 550 пФ.

3 - зажим для присоединения провода заземления.

4 - переменное сопротивление регулирования громкости - 2,5 кОм; управляется общей ручкой с выключателем питания 43.

5 - конденсатор постоянной емкости для связи антенной цепи с первые контуром полосового фильтра - 33 пФ.

6 - катушка связи антенной цепи с первым контуром полосового фильтра при приеме волн 715-1950 м.

7 - выключатель катушки 6, включающий ее при приеме волн 715-1950 м и выключающий при приеме волн 200-560 м; управляется общей ручкой с замыкателями 9, 15 и 27.

Полосовой фильтр: 

8 - катушка индуктивности первого контура двухсекционная; одна секция катушки замыкается накоротко при приеме вочн 200-560 м.

9 - замыкатель секции катушки 8, см. пояснения к поз. 7 и 8.
10 - конденсатор переменной емкости для настройки первого контура - 687 пФ; ротор конденсатора имеет общую ось с роторами конденсаторов 16 и 22, вращаемую при помощи верньерного механизма.
11 - конденсатор для подгонки диапазонов первого контура.

12 - конденсатор постоянной емкости для связи между контурами полосового фильтра - 0,022 мкФ.

13 - сопротивление, шунтирующее конденсатор связи, служащее для пропускания постоянной слагающей сеточного тока лампы 18 усиления высокой частоты - 10 кОм, типа Каминского.

14 - катушка индуктивности второго контура двухсекционная. Одна секция катушки замыкается накоротко при приеме вопн 200-560 м.

15 - замыкатель секции катушки 14; см. пояснения к поз. 7 и 14.

16 - конденсатор переменной емкости 687 пФ для настройки второго контура; см. пояснения к поз. 10.

17 - конденсатор для подгонки второго контура. Каскад усиления высокой частоты и третий резонансный контур

18 - экранированная лампа СО-124.

19 - сопротивление в цепи сетки лампы 18, стабилизующее - 10 кОм, типа Каминского.

20 - катушка индуктивности третьего контура, двухсекционная; одна секция катушки замыкается накоротко при приеме волн 200-560 м.
21 - замыкатель секции катушки 19; см. пояснения к поз. 7 и 20
22- конденсатор переменной емкости для настройки третьего контура - 687 пФ; см. пояснения к поз. 10.

23 - конденсатор для подгонки диапазонов третьего контура.

24 - конденсатор постоянной емкости контура, изолирующий конденсаторы 21 и 22 от высокого постоянного напряжения, - 0,011 мкФ.

Детекторный каскад - первый каскад УНЧ при работе от звукоснимателя 

25 - конденсатор гридлика - 110 пФ.

26 - сопротивление гридлика - 1 МОм, типа Каминского.

27 - гнезда для включения звукоснимателя.

28 - экранированная лампа СО-124.

29 - катушка обратной связи двухсекционная, индуктивно связанная с катушкой 20 второго контура.

30 - потенциометр для регулирования обратной связи - 1,5 кОм.

31 - конденсатор цепи параллельного питания катушки обратной связи - 363 пФ.

32 -- реактивная катушка цепи параллельного питания катушки обратной связи, семисекционная; 7 х 500 = 3500 вит. ПЭ 0,08.

33 - блокировочный конденсатор анодной цепи детекторной лампы 28 - 110 пФ.

34 - сопротивление анодное детекторной лампы 28 для связи ее анодной цепи с междуламповым автотрансформатором 36 - 50 кОм, типа Каминского.

35 - конденсатор связи анодной цепи детекторной лампы 28 с междуламповым автотрансформатором - 2 мкФ.

36 - трансформатор междуламповый, включенный как автотрансформатор; коэффициент трансформации 1 :3.

Каскад усиления низкой частоты: 

37 - пентод СО-122.

38 - сопротивление частотной коррекции в цепи сетки пентода - 50 кОм, типа Каминского.

39 - выходной трансформатор; I обм. 8500 вит. ПЭ 0,12; II обм. 100 вит. ПЭ 0,5.

Динамический гремкоговоритель: 

40 - звуковая катушка.

41 - катушка подмагничивания, одновременно работает как дроссель фильтра выпрямителя.

Силовой трансформатор и выпрямитель 

42 - гнезда для включения сети переменного тока; при напряжении сети 110-210 В вилка вставляется в верхние гнезда, а лри напряжении сети 120-220 В - в нижние гнезда: см. также пояснения к поз. 44.

43 - выключатель питания; управляется общей ручкой с потенциометром регулирования громкости 4.

44 - предохранитель типа Бозе на 1 А в цепи первичной обмотки силового трансформатора 45; предохранитель вставляется в различные держатели в зависимости от напряжения питающей сети, чем достигается включение в сеть большего или меньшего числа витков I обмотки.

45 - трансформатор выпрямителя и накала ламп приемника; I обмотка: 1-я секция 590 вит. ПЭ 0,31, 2-я секция 700 вит. ПЭ 0,41 с отводом от 58 витка; секции I обмотки включаются полностью или частично в зависимости от напряжения питающей сети путем перестановки предохранителя 44 в держателях и вилки в гнездах 42 (см. пояснения к поз. 42 и 44); II обмотка анодного напряжения: 2 х 2200 = 4400 вит. ПЭ 0,12, с отводом от средней точки. II обмотка накала выпрямительной лампы 26 вит. ПЭБО 0,96; II обмотка накала усилительных и детекторной ламп - две обмотки по 26 вит. ПЭБО 0,96, соединенных параллельно.

46 - две лампочки от карманного фонаря для освещения шкалы настройки.

47 - сопротивление в цепи лампочек карманного фонаря - 5 Ом для понижения напряжения.

48 - выпрямительная лампа ВО-202 (или ВО-125).

49 - два входных конденсатора фильтра по 2 мкФ.
50 - два выходных конденсатора фильтра по 2 мкФ.
Цепи фильтрации, понижения напряжения выпрямителя, автоматического смещения и пр.

51 - сопротивление для автоматического смещения на управляющую сетку пентода 37 - 280 Ом, проволочное.

52 - сопротивление автоматического смещения на управляющую сетку лампы 18 каскада усиления высокой частоты - 800 Ом, типа Каминского.

53 - конденсатор, шунтирующий сопротивление 52, - 0,011 мкФ.

54 - сопротивление индивидуального фильтра анодной цепи лампы 18 каскада усиления высокой частоты - 26 кОм, типа Каминского.

55 - конденсатор того же фильтра - 0,1 мкФ.

56 - сопротивление делителя напряжения для экранной сетки лампы 18 каскада усиления высокой частоты - 60 кОм, типа Каминского.

57 - то же - 23 кОм, типа Каминского.

58 - конденсатор, блокирующий экранную сетку лампы 18 на землю, - 1 мкФ.

59 - сопротивление делителя напряжения для экранной сетки детекторной лампы 28 - 55 кОм, типа Каминского.

60 - то же 90 кОм, типа Каминского.

61 - конденсатор, блокирующий экранную сетку лампы 28 на землю, - 1 мкФ.

62 - сопротивление делителя напряжения для экранной сетки пентода 37 - 10 кОм, типа Каминского.

63 - то же - 30 кОм, типа Каминского.

64 - конденсатор, блокирующий экранную сетку пентода 37 на землю, - 2 мкФ.

Приемник "Комсомолец" и его детали

Харьковский радиозавод, входящий в систему Главэспрома, начал выпуск радиовещательных приемников, которым присвоено название "Комсомолец". Приемник этот трехламповый, трехконтурный, по схеме 1-V-1, смонтирован в одном ящике с громкоговорителем динамического типа.

Схема приемника "Комсомолец"

Принципиальная схема приемника показана на рис. 1. Первые две лампы экранированные, типа СО-124, третья лампа - пентод СО-122. Выпрямитель рассчитан на применение кенотрона ВО-124, но в специальном листке, прилагаемом к каждому приемнику, указывается, что, вследствие дефектов этой лампы (замыкание нити с анодом) часто происходит перегорание силовых трансформаторов. Поэтому рекомендуется применять кенотрон ВО-116.

Антенный контур приемника вместе с контуром сетки первой лампы составляет полосовой фильтр, связь в котором осуществлена через конденсатор 40. Волюмконтроль (регулятор громкости) помещен на входе и состоит из переменного сопротивления 7, включенного между антенной и землей. При приеме длинных волн связь первого контура с антенной осуществляется как через конденсатор 46 емкостью в 30 см, так и посредством индуктивной связи с настраивающейся антенной катушкой. При приеме средних волн антенная катушка отключается, и связь первого контура с антенной происходит только через конденсатор 46.

Обратная связь задается на контур сетки детекторной лампы. Регулировка обратной связи производится при помощи переменного сопротивления 8. Связь между детекторной лампой и выходным пентодом сделана по схеме параллельного питания.

В анодную цепь детекторной лампы включено нагрузочное сопротивление 37. Начало этого сопротивления через конденсатор 51 связано с автотрансформатором 18, роль которого исполняет трансформатор низкой частоты с соединенными обмотками.

Обмотка подмагничивания говорителя (громкоговорителя, динамика) 17 включена дросселем в фильтр выпрямителя. Отрицательное смещение на сетки ламп получается за счет падения напряжения в сопротивлениях 27 - на первую лампу и 25 - на выходную лампу. Напряжение на экранирующие сетки всех ламп снимается с потенциометров 29-30, 32-33 и 35-36.

 

Данные деталей следующие:

7 потенциометр 2 500 Ом
8 потенциометр 1 500 Ом
13 переменный конденсатор 625 пФ
25 постоянное сопротивление 280 Ом
26 постоянное сопротивление 10 000 Ом
27 постоянное сопротивление 800 Ом
28 постоянное сопротивление 26 000 Ом
29 постоянное сопротивление 60 000 Ом
30 постоянное сопротивление 23 000 Ом
37 постоянное сопротивление 1 000 000 Ом
32 постоянное сопротивление 55 000 Ом
33 постоянное сопротивление 90 000 Ом
34 постоянное сопротивление 50 000 Ом
35 постоянное сопротивление 10 000 Ом
36 постоянное сопротивление 30 000 Ом
37 постоянное сопротивление 50 000 Ом
38 постоянный конденсатор 500 пФ
39 постоянный конденсатор 500 пФ
40 постоянный конденсатор 20 000 пФ
41 постоянный конденсатор 10 000 пФ
42 постоянный конденсатор 10 000 пФ
43 постоянный конденсатор 330 пФ
44 постоянный конденсатор 100 пФ
45 постоянный конденсатор 100 пФ
46 постоянный конденсатор 30 пФ
48 постоянный конденсатор 0,1 мкФ
49 постоянный конденсатор 1 мкФ
50 постоянный конденсатор 1 мкФ
51 постоянный конденсатор 2 мкФ
52 постоянный конденсатор 2 мкФ
53 постоянный конденсатор 4 мкФ
54 постоянный конденсатор 4 мкФ
55 постоянное сопротивление 5 000 Ом
56 постоянное сопротивление 5 Ом

 Конструкция приемника видна на фотографиях (рис. 2 и 3). Агрегат переменных конденсаторов с очень массивной станиной, изготовления того же завода. Контурные катушки экранированы металлическими чехлами, шасси металлическое.

Шкала приемника плоская, вертикальная, освещается сзади двумя лампочками. Стрелка-указатель перемещается снаружи шкалы. Шкала разделена на 100 делений и, кроме того, имеет градуировку по волнам на два диапазона - длинноволновой и средневолновой.

У приемника всего четыре ручки. Правая нижняя ручка (под шкалой) - ручка настройки, находящийся слева у шкалы движок, перемещающийся в вертикальной плоскости, - переключатель диапазона. Верхнее положение движка соответствует средневолновому диапазону, нижнее положение - длинноволновому диапазону. Рядом с движком переключателя диапазона находится ручка регулировки обратной связи и затем (крайняя слева) ручка волюмконтроля, соединенного с выключателем сети.

На задней стенке приемника находятся гнезда для соединения приемника с осветительной сетью, пружинные зажимы для антенны и земли и гнезда для включения граммофонного адаптера. Чрезвычайно неудобно то, что для соединения приемника с сетью не выведен шнур, как это всегда делается, а установлены телефонные гнезда. Следовательно для включения приемника в сеть нужен шнур с вилками на обоих концах. Если конец шнура, соединенный с приемником, выскочит - из гнезд, то легко может произойти короткое замыкание сети.

Рисунок ящика "Комсомольца" несколько напоминает приемник РФ-1, но самый ящик грубоват и не имеет такой отделки и аккуратного выполнения, которые приличествовали бы фабричному приемнику.

Как работает "Комсомолец"? С сожалением приходится констатировать, что работает "Комсомолец" неважно. Качества приемников определяются тремя основными показателями - чувствительностью, избирательностью и естественностью.

Чувствительность "Комсомольца" низка. Она заметно меньше чувствительности приемника СИ-235 и, следовательно, значительно уступает чувствительности хорошо собранного самодельного приемника 1-V-1, работающего на тех же лампах. Малая чувствительность приводит к тому, что приемник работает тихо как при приеме из эфира, так и при работе от коротковолнового конвертера. Весьма возможно, что причин малой чувствительности "Комсомольца" несколько, но одной из основных причин вероятно является плохая подгонка контуров. Переменные конденсаторы не имеют коррекции. При таком устройстве контуры должны быть подогнаны исключительно точно. По-видимому Харьковскому радиозаводу так подгонять контуры не удается.

Недостаточно точная подгонка контуров понижает и избирательность приемника. Избирательность трехконтурного "Комсомольца" конечно выше избирательности двухконтурного СИ-235, но она не так высока, как должна быть. Трехконтурный приемник легко сделать более избирательным, чем "Комсомолец".

Неблагополучно у "Комсомольца" и с полосой пропускания частот. У приемника совсем мало басов. Это делает слушание радиопередач и проигрывание пластинок неприятным для слуха.

Суммируя все сказанное, можно констатировать, что приемник "Комсомолец" заводом недоработан. У него есть дефекты в схеме, например при включении граммофонного адаптера первая лампа работает без смещения, и много дефектов конструктивных, например плохая подгонка контуров. Лаборатория завода должна сама дополнительно поработать над этим приемником и затем поставить, как следует, его производство и налаживание в цехах.

Источник: Приемник „Комсомолец" и его детали. "Радиофронт", 1936, - №13. - С.22-23.