
Журнал "Радиофронт", 1936. - N20. - C.31.
В настоящее время ЦРЛ совместно с заводом им. Кулакова приступила к серийному производству конденсаторных микрофонов типа МК-3.
Внешний вид такого микрофона показан на фото (рис. 1). Капсюль этого микрофона представляет собою конденсатор, передняя обкладка которого является его мембраной. Она расположена от второй массивной обкладки этого конденсатора на расстоянии 0,025 мм.
При воздействии на мембрану звуковых волн последняя начинает колебаться, а вместе с этим изменяется и емкость конденсатора. Зарядные и разрядные токи конденсатора, проходя через нагрузочное сопоставление, создают на его концах переменное напряжение, которое затем подается на вход первой лампы усилителя. Последовательно с микрофоном в цепь нагрузочного сопротивления включается батарея питания напряжением 160 V.

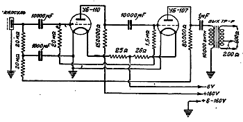
Рис. 2. Принципиальная схема микрофонного усилителя МК-3
Так как конденсаторный микрофон развивает очень небольшую э. д. с. (чувствительность МК-3 составляет 10 mV/бар), то во избежание потерь в подводящих проводах он монтируется с предварительным усилителем в общем кожухе. Как видно из рис. 1, сам микрофон установлен в передней стенке кожуха, а за микрофонным капсюлем расположен предварительный усилитель
Схема усилителя микрофона МК-3 изображена на рис. 2. Это - двухламповый усилитель, у которого первый каскад собран на сопротивлениях, а второй - по реостатно-трансформаторной схеме. В первом каскаде применяется лампа УБ-110, а во втором - УБ-107 Усилитель имеет два выхода - на 200 и 600 омов.
Питается усилитель от аккумуляторов или сухих батареи напряжением в 6 V и 160 V. Смещение на сетки ламп задается автоматически за счет тока накала.
Подводка к микрофону выполнена гибким шестижильным кабелем, заключенным в металлическом шланге, который служит экраном.
К. Д.
Комментарии