
Магнитофонная панель "Вильняле" выпускалась Вильнюсским приборостроительным заводом Вильма с 1963 года.
Магнитофонная панель "Вильняле" предназначена для двухдорожечной записи и воспроизведения на ферромагнитной ленте.
Скорость записи и воспроизведения 19,05 и 9,53 см/сек.
Время непрерывной записи и воспроизведения при емкости катушек 350 м при скорости 19,05 см/сек 30 мин и при скорости 9,53 см/сек 1 час на каждой дорожке.
Длительность обратной перемотки и ускоренного хода вперед 3,5 мин. Масса 12 кг
Конструкция

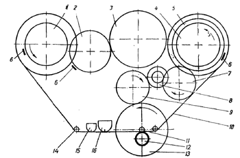
Кинематическая схема лентопротяжного механизма панели "Вильняле":
1 - левый узел; 2, 3 - промежуточные ролики; 4 - шкив правого узла; 5 - катушка с лентой; 6 - тормозные устройстве; 7 - ролик подмотки и перемотки вперед; 3 - электродвигатель со шкивами; 9 - ролик переключения скоростей; 10 - лента; 11 - ведущий валик; 12 - прижимный ролик; 13 - маховик ведущего узла; 14 - направляющие стойки; 15 - стирающая головка; 16 - универсальная головка.
Для управления лентопротяжным механизмом служат переключатель рода работы и кнопка "Временный стоп", с помощью пружин, тяг и рычагов, связывающих переключатель и кнопку с роликами и узлами механизма. С одной скорости протяжки ленты на другую переходят переключателем скорости, перебрасывающим обрезиненный ролик 9 в верхнее или нижнее положение. В нижнем положении ролик входит в зацепление с большим диаметром двухступенчатого шкива вала электродвигателя 3, что соответствует скорости 19,05 см/сек, а в верхнем - с меньшим диаметром, что соответствует скорости 9,53 см/сек. Переход с одной скорости на другую возможен только в режиме "Стоп".
При записи и воспроизведении вращение электродвигателя передается маховику 13 ведущего вала через обрезиненный ролик переключателя скорости 9. Входя в зацепление с большим или малым диаметром двухступенчатого шкива электродвигателя 3, ролик изменяет передаточное число и тем самым скорость вращения маховика с ведущим валом 13. Прижимной ролик 12 прижимает ленту к ведущему валу, который продвигает ленту по рабочей части магнитных головок 15 и 16. Подматывает ленту приемный узел 4. Вращение электродвигателя передается приемному узлу через обрезиненный ролик 7, соединяющий шкив электродвигателя с ведущим шкивом узла. Ведущий шкив через фрикционное сцепление увлекает за собой подкатушник, благодаря чему подкатушник создает усилие, необходимое для подмотки. Подтормаживает ленту подающий узел 1.
При перемотке вправо обрезиненный ролик 7 перемещается в верхнее положение и входит в зацепление со шкивом электродвигателя и подкатушником приемного узла.
Таким образом, вращение электродвигателя передается непосредственно подкатушнику, минуя фрикционное сцепление. Подтормаживает ленту подающий узел.
При нажатии кнопки "Временный стоп", прижимной ролик несколько отводится от ведущего вала, а подающий узел затормаживается.
В режиме "Стоп" все ролики выводятся из зацепления, а подкатушники подающего и приемного узлов затормаживаются.
Во время перемотки вправо промежуточный обрезиненный ролик 7 передает вращение на правый узел. В зависимости от того, к какой части шкива 8 прижимается промежуточный ролик переключения скоростей, меняется скорость движения ленты: к малому диаметру шкива - скорости движения 9,53 см/сек, к большему - 19,05 см/сек.
При перемотке влево промежуточный обрезиненный ролик 3 прижимается к шкиву электродвигателя и через второй промежуточный ролик передает ускоренное вращение на левый узел 2. Переход лентопротяжного механизма на любой род работы осуществляется с помощью кулачковых переключателей, посаженных на общую ось.
Для устранения образования петель ленты в левом узле предусмотрен специальный тормоз, который приводится в действие промежуточным роликом 2. При нажатии кнопки Стоп прижимный ролик отводится от ведущего вала, а правый узел 4 тормозится.
В магнитофонной панели предусмотрено реле остановки лентопротяжного механизма при обрыве ленты или ее окончании.
Неисправности лентопротяжного механизма. Механизм магнитофонной панели "Вильняле" надежен в работе и редко выходит из рабочего состояния.
Основной причиной отсутствия подачи ленты на правый узел является неисправность электродвигателя. При движении ленты вперед и образовании петель неисправность следует искать в чрезмерном затормаживании правого узла. Тормоз следует отрегулировать. При появлении плавания звука, вызванного плохим прижимом ленты к ведущему валу, нужно отрегулировать прижим ролика.
Чтобы избежать плавания звука при попадании масла на промежуточные ролики и ведущий вал, масло следует удалить тряпочкой, смоченной бензином. При появлении стука или скрежета в механизме необходимо смазать узлы магнитофона веретенным маслом.
Магнитофонная панель имеет следующие каскады:
- УНЧ1 на лампе 6Ж32П.
- УНЧ2 на лампе 6Н24П.
- Генератор стирания и подмагничивания, оконечный усилитель НЧ на лампе 6Н24П.
- Индикатор уровня записи на лампе 6Е1П.
Основные технические данные:
- Чувствительность: не хуже 3 мВ от микрофона и 200 мВ от звукоснимателя.
- Рабочий диапазон частот: при скорости 19,05 см/сек 40-12000 Гц и при скорости 9,53 см/сек 63-10000 Гц.
- Полоса пропускания тракта низкой частоты: 40-12000 Гц.
- Коэффициент нелинейных искажений: не более 5%.
- Относительный уровень помех: -40 дБ.
- Коэффициент детонации звука: не более 0,3% на скорости 9,53 см/сек.
- Частота генератора тока подмагннчивания: 55 кГц.
- Выходная мощность: 1,5 Вт.
Питание:
Питается радиола от сети переменного тока напряжением 127 и 220 В. Потребляемая мощность при работе магнитофонной панели - 125 Вт.
Принципиальная схема
Электрическая схема состоит из универсального усилителя, генератора тока подмагничивания и индикатора уровня записи.
Универсальный усилитель работает в режиме записи и воспроизведения. Универсальная головка ГУ подключается через переключатель П1а к управляющей сетке лампы Л1 типа 6Ж32П. Сигнал усиливается и поступает на левую половнику лампы Л2 типа 6Н24П. Правая половинка лампы Л2 при воспроизведении не используется. В этом режиме генератор стирания и подмагничивания отключается.
При записи лампы Л1 и Л2 работают как усилители низкой частоты. Уровень записи регулируется потенциометром R9.
Для обеспечения необходимой частотной коррекции в схеме предусмотрена цепочка обратной связи из элементов L1R15R12R13C3C8C11C35, которая включается при воспроизведении и цепочка обратной связи из элементов L1R15R14C3C8C7C6C35, которая включается при записи. Коррекцию частотных характеристик усилителя при разных скоростях осуществляют коммутацией цепей R12, R15 и С8. Частотную характеристику канала воспроизведения можно регулировать на низших частотах конденсатором С3 и на высших - потенциометром R9. Частотная характеристика сквозного канала регулируется на высших частотах резисторами R14, R15, а на низших - конденсатором С11.
Генератор стирания и тока подмагничивания двухтактный, собран на лампе Л3 типа 6Н24П по схеме с индуктивной связью. Стирающая головка включена через конденсатор С4. Подмагничиваиие на универсальную головку поступает через конденсаторы С2 и С3, последним подбирают ток подмагничивания. Генератор работает только в режиме "Запись". Генератор вырабатывает ток частотой 55-60 кГц.
Индикатор уровня записи собран на лампе Л4 типа 6Е1П. Чувствительность индикатора регулируется потенциометром R39.
При воспроизведении универсальная магнитная головка переключателем П1а включается в цепь управляющей сетки лампы Л1. Напряжение звуковой частоты снимается с делителя напряжения R16R17 и через разъем Ш2 подается в усилитель приемника. В цепи накала ламп включен переменный резистор R28, движок которого устанавливают на минимум фона.
Питание магнитофонной панели и приемника от общего выпрямителя.
В процессе производства в схему индикатора уровня записи магнитофонной панели "Вильняле" были внесены изменения. В результате установки переменного резистора R36 и диода Д106 улучшилась регулировка режима работы индикатора.
Детали:
Электродвигатель КД-7мл асинхронный, однофазный, конденсаторный с короткозамкнутым ротором. Напряжение питания 127 В переменного тока. Потребляемый ток не более 0,4 А. Номинальная мощность на валу 10 Вт. Скорость вращения 1420 об/мин. Напряжение вращения левое. Вес электродвигателя 1,6 кг.
Литература:
- Новоселов Л.Н., Шапиро О.Л. "Радиолы, магниторадиолы и магнитолы выпуска 1966-1969 годов" (Устранение неисправностей и регулировка) Справочник. МРБ. Выпуск 776 Л.: "Энергия", 1971. (стр.13-21)
- Электрическая схема магнитофонной панели "Вильняле"
- Электрическая схема магнитофонной панели "Вильняле-2"
Комментарии