А. ДМИТРИЕВ, г. Подольск Московской обл.
При изготовлении радиолюбителями конструкций с трансформаторами одной из проблем бывает их намотка. В этой статье автор рекомендует использовать готовые трансформаторы от старых телевизоров, из которых для описываемой здесь конструкции также можно изъять конденсаторы, дроссель, динамические головки. Эти детали обретут вторую жизнь.
У радиолюбителей, пожелавших собрать ламповый УМЗЧ, возникает проблема, зачастую непреодолимая для начинающих, - необходимость изготовления выходного трансформатора. Большая трудоемкость этой работы, отсутствие нужных обмоточных проводов или требуемого магнитопровода часто отпугивают радиолюбителей. Между тем в качестве выходного трансформатора с успехом можно использовать некоторые трансформаторы промышленного изготовления. К примеру, сетевой трансформатор ТС-200-2 от черно-белого телевизора "Чайка" или "Темп-209" можно использовать и в качестве выходного, причем без всяких переделок в нем.
Единственное, что требуется, - распаять гибкие выводы вторичной обмотки (это выводы 13, 14 и 13', 14') и спаять их согласно схеме на рис. 1.

Качество звучания УМЗЧ, собранного по "классической" схеме с двухтактным оконечным каскадом на лампах 6П14П и таким трансформатором, превзошло все ожидания. Номинальная выходная мощность этого лампового усилителя на нагрузке 4 Ом достигает 6 Вт на канал. Это, конечно, немного, но для жилых помещений более чем достаточно. К тому же главное не мощность, а естественность звучания.
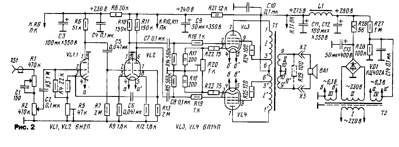
Схема подобного УМЗЧ показана на рис. 2. Устройство имеет некоторые особенности: отсутствие общей отрицательной обратной связи, охватывающей весь усилитель, увеличенные сопротивления сеточных резисторов R7, R13-R15, что снижает нагрузку на предыдущий каскад и уменьшает нелинейные искажения.

Сигнал поступает на вход через регулятор тембра высоких частот R1C1 и регулятор громкости R2. Триод лампы VL1.1 имеет разделенную нагрузку из резисторов R4+R5 и R6, с которых снимаются противоположные по фазе напряжения, необходимые для работы двухтактного каскада. Правый по схеме триод лампы VL1.2 используется в первом каскаде второго канала стереоусилителя. Пара триодов VL2 образует предусилитель для получения необходимой амплитуды сигналов для "раскачки" мощного каскада. Небольшая нелинейность усиления этого парафазного каскада успешно компенсируется по четным гармоникам при суммировании сигнала в выходном трансформаторе УМЗЧ.
Выходной каскад УМЗЧ работает в ультралинейном режиме: экранные сетки мощных пентодов подключены к отводам первичной обмотки выходного трансформатора для образования местной ООС. Эта обратная связь, наряду с уменьшением нелинейных и частотных искажений, снижает и выходное сопротивление каскада, улучшая демпфирование громкоговорителя. Подстроечный резистор R20 в цепи катодов служит для выравнивания токов ламп VL3, VL4. Минимизация искажений достигается подстройкой баланса резистором R5 и подбором пар ламп.
Качество звуковоспроизведения с таким выходным трансформатором оценивается весьма хорошим как на средних, так и на высоких частотах. Автор испытывал широкополосность УМЗЧ сигналом прямоугольной формы. Характерный для ламповых усилителей завал фронтов импульсного сигнала наблюдался только на самых верхних (15...20 кГц) частотах и был незначителен, что говорит о хорошей частотной характеристике этого УМЗЧ.
Несколько слов о конструкции и налаживании усилителя. Он собран на панели из фольгированного стеклотекстолита толщиной 3 мм. Фольга используется только как экран и соединяется с общим проводом возле входа УМЗЧ. Монтаж усилителя навесной, на одноконтактных монтажных стойках. В отличие от печатного монтажа, он часто позволяет получить меньшие паразитные емкости и снижает вероятность нежелательных емкостных связей между каскадами. Монтажная схема не приводится; навесной монтаж проще, и любой радиолюбитель может разработать его сам в зависимости от имеющихся деталей.
В качестве монтажных стоек можно использовать кусочки фольгированного текстолита размерами до 10х 10 мм, приклеенные к несущей панели, а в качестве общего провода и шины питания - полоски из этого материала. Провода накала ламп обязательно нужно перевить.
Лампы VL1 и VL2 желательно подобрать по минимуму уровня шумов, а лампы VL3 и VL4 должны быть близки по своим параметрам. Если взять новые лампы из одной партии, часто этого бывает достаточно, и подбор пар не требуется. Разделительные конденсаторы С2 - низковольтные пленочные (не керамические), С5, С7, С8, С10 - с органическим диэлектриком, например, бумажные К40У-9, полипропиленовые К78-2 либо полиэтилентерефталатные К73-9 на рабочее напряжение не ниже 400 В. Оксидные конденсаторы - К50-32 или импортные (Jamicon и аналогичные). Резисторы - С2-23 или аналогичные. Резисторы и конденсаторы, стоящие в разных плечах УМЗЧ и выполняющие одинаковые функции, желательно подобрать попарно с разбросом не более 2 %.
В качестве сетевого трансформатора Т2 и дросселя L1 блока питания усилителя подходят соответствующие изделия практически от любого лампового телевизора.
Налаживание УМЗЧ сводится к проверке режимов ламп (см. таблицу) и балансировке оконечного каскада. Установив движок регулятора громкости в нижнем по схеме положении, между анодами ламп VL3 и VL4 включают вольтметр постоянного тока и подстройкой режима резистором R20 добиваются нулевого значения напряжения.

Затем к выходу УМЗЧ подключают нагрузку или ее эквивалент (мощный резистор сопротивлением 4 Ом) и осциллограф. Подав на вход сигнал частотой 1000 Гц от генератора 34, резистором R5 добиваются симметричного ограничения сигнала на выходе при небольшой перегрузке. Следует помнить, что без подключенной нагрузки подавать сигнал на вход усилителя нельзя.
Выходную мощность такого усилителя можно повысить, применив в выходном каскаде более мощные лампы (например, 6П3С, ГУ-50) с соответствующим изменением режимов.
"Радио", 2003. - № 8. - С. 19-20.
Комментарии