
Четырехламповый радиоприемник "БЧ" (Приемник конструкции инж. Борусевича, Четырехламповый) выпускался Трестом заводов слабого тока с 1925 года.
Радиоприемник "БЧ" предназначался для массовой радиофикации страны. Диапазон принимаемых волн 280-1900 метров и имеет при макси мальной обратной связи чувствительность около 500 мкВ а избирательность до 20 дБ.
Приемник является приемников резонансного типа с прямым усилением, работает на лампах типа ПТ-2 (или УБ-107, УБ-110). Первая лампа работает в каскаде высокой частоты, вторая - как регенеративный детектор, третья и четвертая лампы - усилитель низкой частоты. Громкоговоритель или головной телефон может быть включен в анодную цепь лампы первого или второго каскада усиления низкой частоты. Дл япитания приемника требуется батарея накала 4-5 В и анодная батарея 80 В.
Конструктивно приемник оформлен в виде пюпитра, на наклонной панели которого расположены все орагы управления, клеммы и гнезда.
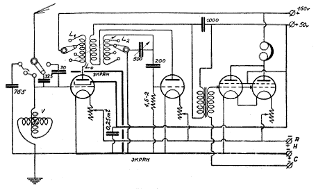
1,2 - клёмы для подключения антенны и заземления.
6,12 - переключатель диапазонов.
7 - ручка вариометра настройки.
8,16,20,24 - лампы.
13 - ручка конденсатора настройки.
10 - переключатель анодной связи.
17 - ручка обратной связи.
23 - гнездо для подключения головного телефона при использовании одного каскада усиления низкой частоты, при этом крайнюю правую лампу (24) можно вынуть.
25 - гнездо для подключения головного телефона при использовании двух каскадов усиления низкой частоты.
26 - клемы для подключения батарей.
27 - реостат накала.
Литература:
1. Описание приемника в журнале "Друг Радио" №5-6, 1926 год.
2. Описание приемника в журнале "Радио Всем" №8, 1926 год.
3. Описание приемника в журнале "Радио Всем" №24, 1928 год.
4. "Четырехламповые приемники БЧ и БЧН, их устройство и управление ими". ОДР-5, 1929 год.
5. "Приёмник "БЧ" на экранированной лампе". Журнал "Радиофронт" N31 за 1930 год.
6. Приёмник "БЧ" в книге С.Герасимова
7. Описание приемника в справочнике Р.Малинина
8. Громов В.Б. "БЧ - первый приёмник Э.Т. Кренкеля"
Комментарии
Приемник ''БЧ'' на
Приемник ''БЧ'' на экранированной лампе.
Приёмники ''БЧ'', ''БЧН'' и ''БЧЗ'' являются приемниками для массовой радиофикации, и все внимание необходимо обратить на улучшение качества их работы, в ожидании когда наша промышленность даст действительно новый, современный радиоприемник. Частичным разрешением вопроса может быть приспособление широкораспространенных ''БЧ'' к новым радиолампам, т.е. переделка их в более ''современные''. Правда этим ''современным'' приемникам ещё очень далеко до действительно современных, но снова придется с этим помириться. Недавно я на страницах журнала ''Радио всем'' поделился результатами переделки ''БЧ'' под ''перевернутые'' МДС (см.ж.''Радио всем'' стр 16-17 за 1930 г. ''Приемник БЧ на перевернутых МДС''). Теперь же, с выпуском заводом ''Светлана'' новых экранированных ламп высокой частоты (СО-44 или СТ-80) открывается возможность еще больше улучшить работу приемника ''БЧ'' и его разновидностей ''БЧ'',''БЧН'' и ''БЧЗ''. За перемонтировку радиоприемника следует браться только опытному радиолюбителю, хорошо знакомому с работой многоламповых схем. Избам-читальням, сельбудам следует передавать свои радиоприемники для перемонтажа в радиомастерские ОДР или НКПТ, лишь в крайнем случае опытному радиолюбителю, только тогда можно рассчитывать на успех и хорошие результаты
На приводимой схеме все изменения монтажа показаны жирными линиями. Не останавливаясь подробно на устройстве и принципах работы экранированных ламп, считаю нужным обратить внимание на расположение ножек и выводов ламп, что вам понадобится при монтаже. В советских экранированных лампах выпуска завода ''Светлана'' (СО—44 и СТ—80) выводы сделаны следующим Образом: нить накала подведена к обычным ножкам, подобно всем трехэлектродным лампам, управляющая (работающая) сетка к своей же ножке, экранирующая сетка подведена к ножке анода, а анод выведен сверху баллона к специальной клемме. Нетрудно понять, что изменение монтажа радиоприемника обусловливается конструкцией лампы и необычным расположением выводов в ней. Мы разберем последовательно порядок изменения монтажа приемника ''БЧ'', применительно к этим лампам. Провод, идущий от анода (гнезда) первой лампы к началу первичной обмотки трансформатора высокой частоты, снимаем. В верхней доске ящика возле лампового гнезда первой лампы (со стороны отключенного анода) делаем дыру и в нее вставляем карболитовую втулку (от карболитовых клемм). Гибким телефонным шнуром от начала первичной обмотки трансформатора высокой частоты через вставленную втулку делаем вывод наружу приемника для включения на анод лампы. К наружному концу гибкого шнура припаивается наконечник. К освободившемуся анодному гнезду первой лампы накала подводится провод от клеммы ''+50'' вольт, которую предварительно можно установить рядом с ''4-80'' вольт приемника. Экранирующую сетку (т.е. анодную ножку первого гнезда) кроме того через постоянный конденсатор 0,25-0,5 мкф. необходимо включить на экран приемника. Внутри приемника между вариометром и первой ламповой панелью и переменным конденсатором и второй ламповой панелью необходимо поставить латунный или алюминиевый экран. По готовому (измененному) монтажу размечается экран, сверлятся дыры и в них заделываются эбонитовые втулочки, через которые затем пропускаются все монтажные провода. Сверху ящика между первой и второй лампой ставится также небольшой экран на 2-3 см шире диаметра баллона экранированной лампы, высотой равной экранированной, лампе. Гибкий шнур должен внутри ящика пройти через внутренний экран и наружу выйти с левой стороны наружного экрана. Все экраны (наружный, внутренний в панели приемника) должны быть соединены между собой и включены на землю. Все соединения проводов должны быть спаяны. На этом переделка приемника под экранированную лампу заканчивается. Но может случиться, что экранированная лампа будет перегружать детекторную, а соответственно и лампы НЧ; поэтому необходимо внести некоторые изменения в части остальных ламп, дабы избежать искажений от перегрузки. На детекторный каскад необходимо ставить лампу УТ-40 или другую повышенной мощности. В отношении же низкой частоты можно применить несколько вариантов: не изменяя схемы целей низкой частоты приемника, на третье место можно ставить также лампу УТ-40 и на выход УО-3, это самый лучший вариант, но можно и последнюю лампу также поставить УТ-40. Третий вариант требует изменения монтажа 3 и 4 ламп под ''перевернутые'' МДС, включенные параллельно. Этот вариант дает наилучшие результаты по чистоте передачи. Подробно описывать изменение монтажа низкой частоты под ''перевернутые'' МДС я не буду, так как этот вопрос достаточно уже разбирался на страницах наших журналов. В заключение необходимо остановиться на режиме работы ламп. При работе на ''Микро'' вопрос режима не занимал того места, как этого потребует применение различных ламп (СО-44, СТ-80, УТ-40, перевернутые МДС и УО-3). Необходимо поставить реостаты на каждую лампу, так как это в значительной степени влияет на качество работы. Затраты на переделку приемника ''БЧ'' под экранированные лампы безусловно себя оправдают, так как приемник будет обладать большей чувствительностью, давать большую мощность и сможет быть использован для небольшого трансляционного узла, что конечно важно для изб-читален, сельбудов, красных уголков. Остальные разновидности ''БЧ'', ''БТ'', ''БЧН'' и ''БЧЗ'' при переводе на экранированные лампы потребуют таких же изменений в их монтаже.
Геннадий Красильников. Журнал ''Радиофронт'' N31 за 1930 год.
Особенности
Особенности эксплуатации:
Расход радиоламп на 100 час. работы:
Подготовка к первому включению
1. Присоединить к приемнику провода от антенны и заземления.
2. Присоединить к приемнику батарею накала 4-5 В.
3. Присоединить к приемнику анодную батарею 80 В.
4. Проверить правильность присоединения батарей и их полярность.
5. Вставить в гнезда 23 или 25 вилку головного телефона или громкоговорителя (в зависимости от того, с одним или с двумя каскадами усиления низкой частоты предполагается вести прием).
6. Ручку реостата накала 27 повернуть против часовой стрелки до отказа.
7. Вставить лампы в гнезда.
Включение
8. Вращая ручку реостата накала 27 установить нормальный накал ламп.
9. Быстро поворачивая ручку обратной связи 11, проверить способность приемника к генерации, после чего поставить указатель ручки обратной связи на 0°.
Настройка
10. Поставить ползун переключателя анодной связи 10 иа второй или третий контакт, считая слева.
11. Поставить ползуны переключателей 6 и 12 на следующие одноименные контакты, считая слева: для приема станции, работающей на волне 280-490 м - на первые, для приема станции, работающей на волне 350-810 м - на вторые, для приема станции, работающей на волне 600-1100 м - на третьи, для приема станции, работающей на волне 800-1900 м - на четвертые.
12. Медленно вращать ручки вариометра 7 и переменного конденсатора 13 до тех пор, пока не будет услышана передача желаемой станции. При приеме громко слышимой (например местной) станции ручкой обратной связи 11 можно не оперировать; при приеме слабо слышимой станции ручку обратной связи следует держать и таком положении, при котором приемник находится на грани возникновеиия генерации, т.е. одновременно с вращением ручек вариометра 7 и переменного конденсатора 13 следует производить регулировку обратной связи, вращая ручку 17. (Если передача не будет услышана, см. п. 17.)
Примечание. Ручки вариометра 7 и переменного конденсатора 13 во время настройки все время должны находиться в таком положении, при котором антенный контур и контур цепи сетки детекторной лампы находятся в положении резонанса, определяемом наибольшим уровнем шумов в телефоне или громкоговорителе.
13. Вращая ручку переключателя 10, подобрать наивыгоднейшую связь каскада усиления высокой частоты с контуром цепи сетки детекторной лампы. Наивыгоднейшая связь определяется по наибольшей громкости передачи.
14. Произвести окончательную настройку приемника, вращая в пределах небольшого угла ручку конденсатора 13, а при недостаточно громкой слышимости и ручку обратной связи 11.
15. Если станция слышна слишком громко, уменьшать громкость следует следующими способами:
а) вращая ручку переключателя 10 против часовой стрелки;
б) путем перехода на работу с одним каскадом низкой частоты (переставляя вилку телефона или громкоговорителя в гнезда 23).
Примечание. При этом лампа 24 может быть вынута из гнезд. После вынимания лампы необходимо, чтобы установить нормальный накал оставшихся ламп, немного повернуть ручку реостата накала против часовой стрелки.
16. Во избежание помех от других станций не следует уменьшать громкость путем расстройки резонансных контуров приемника; во избежание возникновения искажений, не следует уменьшать громкость путем уменьшения напряжения накала ламп; увеличение накала ламп выше номинального не дает увеличения громкости, а только сокращает срок службы ламп.
17. В некоторых случаях, при настройке на дальнюю или маломощную станцию согласно п. 12 передача желаемой станции вовсе не слышна. В этом случае для облегчения настройки следует:
а) если настройка производилась при телефоне или громкоговорителе, включенном в гнезда 23, переставить его вилку в гнезда 23;
б) повернуть в направлении движения часовой стрелки ручку обратной связи 17 до возникновения генерации и, вращая ручку конденсатора 13 и вариометра 7, соблюдая условие, указанное в примечании к п. 12, обнаружить станцию по свисту. После этого, продолжая вращать ручку 13, следует добиться нулевых биений и уменьшить обратную связь вращением ручки 17 против часовой стрелки до положения, при котором передача будет слышна без хрипов и искажений. Далее следует более точно настроиться на волну принимаемой станции при помощи вариометра 6 и конденсатора 13 и произвести регулировку связи с контуром детекторной лампы в соответствии с п. 13.
Отстройка от помех со стороны других станций
18. В случае наличия помех со стороны других станций, последние иногда можно уменьшить:
а) более точно настраиваясь вариометром 7 и конденсатором 13 на волну принимаемой станции;
б) вращая против движения часовой стрелки переключатель связи 70;
в) увеличением обратной связи путем вращения ручки 11 по часовой стрелке, но не до положения, при котором возникает генерация, ведущая к искажениям радиоприема.
Выключение приемника
20. Выключение производится вращением ручки реостата накала 27 против часовой стрелки до отказа.