
Радиоприёмник "ПЛ-2" выпускался Московским заводом Мосэлектрик, Треста заводов слабого тока с 1930 года.
Название приемника ПЛ-2 расшифровывается как "Приемник Ламповый 2-ламповый"
Приемник ПЛ-2 обладает большой универсальностью, работая в качестве детекторного приемника, детекторного приемника с одной ступенью низкой частоты, однолампового регенеративного приемника, регенератора с одной ступенью низкой частоты и, наконец, как одноламповый усилитель низкой частоты.

Рис. 5. (НК: Линия между нижней обкладкой и клеммой "3" - представляет собой экран)
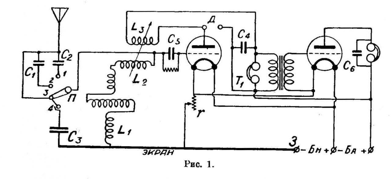
По своей принципиальной схеме (рис. 5) приемник ПЛ-2 представляет собою регенеративный приемник с одной ступенью низкой частоты, причем, будучи предназначен для работы на двухсеточных лампах при напряжении в 8-16 В, он может работать без всяких переконструирований и с обыкновенными лампами "Микро".
Настройка антенного контура приемника осуществляется при помощи вариометра, а также с помощью трех постоянных конденсаторов различной емкости, приключенных различными способами или отключенных вовсе.
На верхней крышке расположены .ламповые гнезда, клеммы для присоединения источников питания, антенны и заземления, переключатель П, а также телефонные и детекторные гнезда. Следует заметить, что приемник ПЛ-2 имеет общую клемму для заземления и для минуса накала.
На передней стенке приемника расположены 2 мастичных ручки для вращения вариометра и катушки обратной связи. Ручки вращаются на 360° и снабжены шкалою, разделенной на 100 делений. Лимб настройки имеет верньер, включаемый в том случае, когда для плавной настройки требуется медленное изменение самоиндукции вариометра.
Настройку приемника производят грубо при помощи переключателя и более плавно при помощи вариометра. При вращении переключателя по направлению часовой стрелки в цепь антенного контура включаются по очереди конденсаторы постоянной емкости в 25 и 250 пФ, антенна без конденсаторов и параллельно постоянный конденсатор в 550 пФ. При этом при положении переключателя на первом и втором контакте производится прием коротких волн при положении на третьем контакте - средних волн и при положении на крайнем контакте - длинных волн.
В том случае, когда прием производится на детектор, последний вставляется в гнезда посредине панели, а телефон - в левую пару гнезд. Настройка производится при помощи переключателя П и вариометра. Ввиду того, что при приеме на детектор катушка обратной связи представляет собой индуктивную детекторную связь, последняя подбирается на опыте путем вращения этой катушки. При приеме на детектор лампы гасятся реостатом, который повертывается до отказа против часовой стрелки, или же лампы вынимаются из гнезд.
При осуществлении с приемником других схем антенна и заземление подключаются по-прежнему. Как и обычно, регулировка обратной связи производится плавным вращением ее ручки. Телефон при приеме на одну лампу остается в левых гнездах, а при использовании приемника в качестве двухлампового, а также усилителя низкой частоты - вставляется в правые гнезда. При приеме на одну лампу последняя вставляется в левые гнезда (регенеративная схема), а при работе с усилителем низкой частоты лампа переставляется в правые гнезда, причем левая панель лампы остается свободной, а детектор вставляется в предназначенные для него гнезда.
При использовании в приемнике только одного каскада нивкой частоты подключение последнего осуществляется через свободные в этом случае телефонные гнезда "Т".
При осуществлении различных ламповых схем батарея накала присоединяется своим отрицательным полюсом к клемме, предназначенной для заземления, а положительным полюсом к отрицательной клемме анодной батареи. Анодная батарея подключается к паре клемм, расположенных у второй ламповой панели. Для включения накала ламп ручка реостата накала вращется по часовой стрелке.
При работе с двухсеточными лампами зажимы на цоколях ламп (катодные сетки) соединяются с положительной клеммой анодной батареи, напряжение которой подбирается на опыте между 8 и 16 В. Анодное напряжение для ламп "Микро" берется в 45 - 80 В, при обычном их включении.
Диапазон приемника от 270 до 1800 м позволял при нормальной любительской антенне принимать на него все мощные станции СССР и большинство заграничных, как при пользовании лампами Микро, так и двухсеточными.*)
*) Помимо приемника ПЛ-2 выпускался еше и приемник ПЛ-1, отличающийся от ПЛ-2 наличием только одной лампы (без второга, каскада Н.Ч.).
Литература:
Комментарии
Конструктивное
Конструктивное оформление:
Конструктивно приемник оформлен в виде деревянного ящика, на передней вертикальной панели которого расположены ручки вариометра настройки и обратной связи, а на верхней горизонтальной панели все остальные органы настройки - лампы, клеммы и гнезда включения.
Габариты приемника: длина 250 мм, ширина 160 мм, высота 115 мм.
Каскады приемника и примененные лампы:
1. Регенеративный детектор на лампе типа ПТ-2 или УБ-107.
2. Усилитель низкой частоты на лампе типа ПТ-2 или УБ-107.
Диапазон принимаемых волн:
1. Диапазон 1: 300 - 590 м (1,0 - 0,51 МГц);
2. Диапазон 2: 480 - 815 м (0,63 - 0,37 МГц);
3. Диапазон 3: 700 - 1300 м (420 - 230 кГц);
4. Диапазон 4: 1000 - 1850 м (300 - 162 кГц).
Полный диапазон волн, перекрываемый приемником, равен 300-1850 м (1,0-0,16 МГц).
Режимы приемника:
Особенности эксплуатации:
Расход радиоламп на 100 час. работы:
Прием местной станции с кристаллическим детектором без усиления низкой частоты
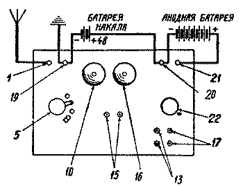
1. Присоединить к приемнику антенну и заземление.
2. Вставить в гнезда 15 детектор.
3. Вставить в гнезда 13 вилку головного фильтра.
4. Лимб 11 поставить на 50°.
5. Поставить ползунок переключателя 5 на нижеследующий номер кнопки, считая их в направлении движения часовой стрелки: для приема станции, работающей на волне 300-590 м - на первую кнопку, для приема станции, работающей на волне 480-815 м - на вторую кнопку, для приема станции, работающей на волне 700-1300 м - на третью кнопку, для приема станции, работающей на волне 1000-1850 м - на четвертую кнопку.
6. Вращая лимб 6 и найдя наиболее чувствительную точку на кристалле детектора, добиться наилучшей слышимости станции.
7. Вращая лимб 11, подобрать наивыгоднейшую связь антенного контура с детекторным. При этом может встретиться необходимость несколько изменить настройку, вращая лимб 6.
Прием местной станции с кристаллическим детектором и с усилением низкой частоты
8. Повернуть ручку 22 до отказа против часовой стрелки.
9. Присоединить батарею накала 4-5 В.
10. Присоединить анодную батарею 40-80 В.
Примечание. При работе с двухсеточными лампами типа СТ-6 следует применять анодную батарею напряжением 6-20 В, от части которой следует подавать напряжение на катодные сетки ламп (соединенные с клеммами на цоколях).
11. При наличии в приемнике дополнительной клеммы с перемычкой замкнуть последнюю на соседнюю клемму или при анодном напряжении 60-80 В, сняв перемычку, присоединить к этим клеммам батарею сеточного смещения 1,5-3 В, соблюдая полярность, присоединяя по указаниям около клемм.
12. Проверить правильность присоединения батарей и их полярность.
13. Вставить в панель лампу 16.
14. Вставить в гнезда 17 вилки головного телефона или громкоговорителя.
15. Выполнить последовательно операции пп. 1, 2, 4 и 5.
16. Вращая ручку реостата накала 22 по часовой стрелке, установить нормальный накал лампы.
17. Выполнить последовательно операции пп. 6 и 7.
Прием с ламповым регенеративным детектором с усилением на низкой частоте (с двумя лампами) и без усиления на низкой частоте (с одной лампой)
18. Выполнить последовательно пп. 1, 5, 8, 9, 10, 11, 12.
19. Для приема с двумя лампами вставить обе лампы в панели, а для приема с одной лампой вставить только лампу 10.
20. Для приема с двумя лампами вилки головного телефона или громкоговорителя вставить в гнезда 17, а для приема с одной лампой вставить вилки телефона в гнезда 13.
21. Вращая ручку реостата накала 22, установить нормальный накал ламп (или лампы).
22. Быстро поворачивая лимб обратной связи, проверить способность приемника к генерации. В случае отсутствия таковой, увеличить напряжение анодной батареи, но не свыше 80 В, и снова убедиться в способности приемника к генерации.
23. Для приема громко слышимой станции поставить лимб 11 в положение 0°, а для приема слабо слышимой станции - в положение, близкое к порогу возникновения генерации.
Примечание. Настройку на слабо слышимую (дальнюю, маломощную) станцию рекомендуется производить с двумя работающими лампами и только слушая на головной телефон.
24. Медленно вращать лимб 6 до тех пор, пока не будет услышана с наибольшей громкостью передача желаемой станции.
При приеме громко слышимой (например мощной, местной) станции лимб обратной связи 11 обычно при этом вращать не приходится; при приеме слабо слышимой (дальней, маломощной) станции одновременно с вращением лимба 6 следует вращать и лимб 11, поддерживая последний непрерывно в таком положении, при котором приемник находится на грани возникновения генерации.
25. В некоторых случаях при настройке согласно п. 24 передача желаемой станции вовсе не слышна. В этом случае - для облегчения настройки следует:
а) если настройка производилась с одной работающей лампой 10, вставить вторую лампу 16; переключить телефон из гнезд 13 в гнезда 17 и вращая ручку реостата накала 22 по часовой стрелке вновь установить нормальный накал ламп;
б) повернуть в направлении движения часовой стрелки лимб обратной связи 11 до возникновения генерации и, вращая лимбы 6 и 11 поддерживая приемник в режиме, близком к срыву генерацин, обнаружить станцию по свисту;
в) продолжар вращать лимб 6, добиться нулевых биений;
г) уменьшить обратную связь медленным и плавным вращением лимба 11 против часовой стрелки до положения, при котором передача слышна без хрипов и искажений;
д) окончательно точно подстроиться на волну принимаемом станции при помощи лимба 6.
Регулировка громкости и отстройка от мешающих станций
26. Регулировать громкость и уменьшать помехи от других станций при всех схемах приема как с ламповым, так и с кристаллическим детектором, можно в некоторых пределах, вращая лимб 11, однако, при приеме с ламповым детектором, не переходя предела, при котором возникает генерация, вызывающая искажения приема (свисты, хрипы и т. п.).
Выключение питания приемника при работе с лампами
27. Выключение производится вращением ручки реостата накала 22 до отказа против часовой стрелки.
28. Рекомендуется после выключения накала ламп реостатом отсоединить анодную батарею.
ДВУХЛАМПОВЫЙ ПРИЕМНИК
ДВУХЛАМПОВЫЙ ПРИЕМНИК ПЛ-2.
И.И. Ментиков.
В связи с переходом на ламповые схемы все большего и большего числа радиолюбителей Трест заводов слабого тока выпускает к предстоящему сезону новый двухламповый приемник ПЛ-2.
По типу приемников БВ, ДЛ-1 и ДЛ-3 этот приемник позволяет осуществлять прием как непосредственно на кристаллический детектор, так и на лампу. Однако по сравнению с этими приемниками приемник ПЛ-2 обладает большей универсальностью, работая в качестве детекторного приемника, детекторного приемникa с одной ступенью низкой частоты, однолампового регенеративного приемника, регенератора с одной ступенью низкой частоты и, наконец, как одноламповый усилитель низкой частоты.
Сравнительно невысокая цена на этот приемник (предполагается 40 руб.), а также хорошие результаты, которые удается получить с ним, позволяют рекомендовать его всем радиолюбителям, желающим купить хороший фабричный приемник.
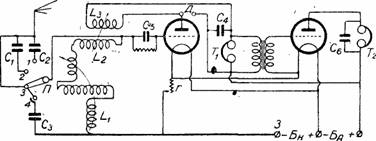
По своей принципиальной схеме (рис. 1) приемник ПЛ-2 представляет собою регенеративный приемник с одной ступенью усиления низкой частоты, причем, будучи предназначен для работы на двухсеточных лампах при напряжении в 8-16 вольт, он может работать без всяких переконструирований и с обыкновенными лампами "Микро".
Настройка антенного контура приемника осуществляется при помощи вариометра, а также о помощью трех постоянных конденсаторов различной емкости, приключаемых различными способами или отключаемых вовсе.
С внешней стороны приемник представляет отполированный деревянный ящик размерами 25x16 см при высоте 11,5 см. На верхней крышке расположены ламповые гнезда, клеммы для присоединения источников питания, антенны и заземления, переключатель П, а также телефонные и детекторные гнезда. Следует заметить, что приемник ПЛ-2 имеет общую клемму для заземления и для минуса накала.
На передней стенке приемника расположены 2 мастичных лимба 1) для вращения вариометра и катушки обратной связи. Лимбы вращаются на 360° и снабжены шкалою, разделенной на 100 делений. Лимб настройки имеет верньер, включаемый в том случае, когда для плавной настройки требуется медленное изменение самоиндукции вариометра.
Как уже указывалось, настройку приемника производят грубо при помощи переключателя и более плавно при помощи вариометра. При вращении переключателя по направлению часовой стрелки в цепь антенного контура включаются по очереди конденсаторы постоянной емкости в 25 и 250 пФ, антенна без конденсаторов и параллельно постоянный конденсатор в 550 пФ. При этом при положении переключателя на первом и втором контакте производится прием коротких волн, при положении на третьем контакте -средних волн и при положении на крайнем контакте - длинных.
Самоиндукция антенного контура составлена из вариометра L1, и последовательно приключенной к нему катушки самоиндукции L2. Вариометр L1 и катушка L2 применены здесь сотовые. Неподвижная катушка вариометра имеет диаметр 75 мм и 60 витков, подвижная катушка 50 витков при диаметре 60 мм и катушка L2 - 40 витков при ее диаметре 75 мм. В качестве материала для катушек применена проволока ПБО диаметром 0,35 мм.
Обратная связь в приемнике дается на катушку L2. Катушка обратной связи L3 намотана на пресшпановом цилиндре с внутренним диаметром 60 мм и длиною 25 мм. Обратная связь имеет 90 витков эмалированной проволоки диаметром 0,2 мм.
Гридлик детекторной лампы состоит из сопротивления порядка 1,5 МОм и параллельно приключенного к нему конденсатора в 150 пФ. Сопротивление помещено в стеклянную трубку. Трансформатор низкой частоты имеет 3 500 витков в первичной обмотке и 20000 витков во вторичной и изготовлен из проволоки диаметром 0,08 мм. Реостат накала имеет сопротивление 25 Ом. Передняя стенка приемника для уменьшения влияния рук на настройку экранирована.
Включение приемника для различных случаев производится следующими способами. В том случае, когда прием производится на детектор, антенна присоединяется в крайней левой клемме, расположенной у переключателя, а заземление - к соседней с нею клемме. Детектор вставляется в гнезда посредине панели, а телефон - в левую пару гнезд. Настройка производится при помощи переключателя П и вариометра. Ввиду того, что при приеме на детектор катушка обратной связи представляет собой индуктивную детекторную связь, последняя подбирается на опыте путем вращения этой катушки. При приеме на детектор лампы гасятся реостатом, который повертывается до отказа против часовой стрелки, или же вынимаются из гнезд.
При осуществлении с приемником других схем антенна и заземление приключаются по-прежнему. Как и обычно, регулировка обратной связи производится плавным вращением ее ручки. Телефон при приеме на одну лампу остается в левых гнездах, а при использовании приемника в качестве двухлампового, а также усилителя низкой частоты - вставляется в правые гнезда. При приеме на одну лампу последняя вставляется в левые гнезда (регенеративная схема), а при работе о усилителем низкой частоты лампа переставляется в правые гнезда, причем левая панель лампы остается свободной, а детектор вставляется в предназначенные для него гнезда.
При использовании в приемнике только одного каскада низкой частоты приключение последнего осуществляется через свободные в этом случае детекторные гнезда, которые представляют собой концы первичной обмотки трансформатора с небольшим добавочным индукционным сопротивлением (катушка L3).
При осуществлении различных ламповых схем батарея накала присоединяется своим отрицательным полюсом к клемме, предназначенной для заземления, а положительным полюсом к отрицательной клемме анодной батареи. Анодная батарея приключается к паре клемм, расположенных у второй ламповой панели. Для включения ламп ручка реостата накала вращается постепенно по часовой стрелке.
При работе с двухсеточными лампами зажимы на цоколе (катодные сетки) соединяются с положительной клеммой анодной батареи, напряжение которой подбирается на опыте между 8 и 16 В. Анодное напряжение для ламп "Микро" берется в 45-80 В при обычном их включении.
Очевидно, с целью экономии, по примеру приемника ДВ-3 завода МЭМЗа, в приемнике ПЛ-2 отсутствуют надписи у гнезд, клемм, настройки и пр. Все эти надписи заменяет чертеж с краткой инструкцией пользования приемником, приклеенной на дне приемника. В высшей степени неудобное местоположение этого чертежа вряд ли может оправдывать отсутствие надписей, которое дает экономию, выражающуюся при цене приемника в 40 рублей в 1-1,5 рубля.
К тому же чертеж, отпечатанный в стеклографии, неминуемо сотрется через незначительное время, причем при перевертывании приемника для чтения чертежа не исключена возможность порчи ламп при недостаточно аккуратном обращении. Не вполне удачно на схеме показано включение антенны к ручке грозового переключателя, в то время как более рациональным, с точки зрения безопасности, является приключение к ручке переключателя заземления.
Монтаж приемника осуществлен посеребренной проволокой диаметром 0,8 и 0,3 мм и произведен внутри приемника как с нижней стороны панели, так и частично на передней стенке приемника.
Рис. 2. Монтажная схема приемника ПЛ-2
Монтажная схема приемника приведена на рис. 2. Антенна, как показано на схеме, соединяется через посредство переключателя конденсаторов с неподвижной катушкой вариометра связи L2 и вариометром L1 антенного контура. В свою очередь подвижная катушка антенного вариометра соединена с заземленным экраном, который укреплен на передней стенке приемника. Гридлик первой лампы соединяется с неподвижной катушкой вариометра связи L2 и с ножкой сетки лампы. Обратная связь L3 от анодной лампы соединяется с телефонными гнездами T1 зашунтированным слюдяным конденсатором емкостью в 1000 пФ.
Параллельно телефонным гнездам Т1 приключена первичная обмотка трансформатора, один из концов которой соединяется с одним из телефонных гнезд Т2, а другое гнездо соединяется в анодной ножкой второй лампы; телефонные гнезда Т2 зашунтированы блокировочным конденсатором емкостью в 5 000 пФ. Вторичная обмотка трансформатора присоединена между сеткой второй лампы и отрицательным полюсом нити накала, который соединен с реостатом. Между анодом первой лампы и одним из гнезд телефона T1 выведены гнезда для детектора.
Питание ламп приемника параллельно с общим реостатом и ясно из монтажной схемы. Как уже указывалось, клемма минуса накала и заземления общая.
Из недостатков приемника следует отметить прежде всего то, что детекторная лампа, в отличие от ранее выпущенных приемников, здесь не амортизивана, что вызывает звон при легком прикосновении к приемнику. Кроме того некоторое неудобство вызывает общий реостат накала, что характерно и для приемников прежних выпусков. Благодаря тому, что телефон T1 шунтируется первичной обмоткой трансформатора, при приеме на детектор или на одну лампу результаты получаются хуже, чем при работе с другими приемниками о обычной схемой.
Было бы целесообразным устройство верньера для регулировки обратной связи. Примененный здесь верньер настройки, хороший по конструкции, обладает недостаточно плавным ходом благодаря грубой насечке на фрикционном валике. Ввиду этого следовало бы его снабдить резинкой.
Диапазон приемника от 270 до 1800 метров позволяет при нормальной любительской антенне принимать на него все станции СССР и большинство заграничных, как при пользовании лампами Микро, так и двухсеточными. При этом удалось отметить, что приемник обладает значительной избирательностью. Громкий прием московских станций был получен при испытании приемника с лампами Микро на репродуктор Рекорд.
Полученные результаты показали, что приемник ПЛ-2, будучи достаточно универсальный, вполне соответствует своему назначению, и есть основания полагать, что при его невысокой цене он будет пользоваться несомненным успехом у потребителя.
1) Ручки с нанесенными на них делениями.
Источник: Ментиков И.И. Двухламповый приемник ПЛ-2. "Радио Всем", 1928. - №19. - С.517-518.