
Выпускался Монтажными мастерскими (бывшего Народного Комиссариата Почт и Телеграфов) с 1929 года.
Радиоприёмник ''КВ-4'' (КороткоВолновый, модель 4) представляет собой регенеративный приемник, с двумя каскадами усиления низкой частоты на диапазон волн 13...110 м. Применяется приёмник на радиостанциях низовой коротковолновой связи. В радиоприёмнике работают три лампы типа ПТ-2 или УБ-107.
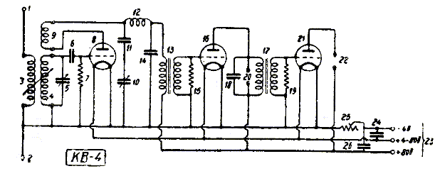
Принципиальная схема приемника:

Питание: накальная батарея 4 и анодная батарея 80 вольт.
Литература:
Комментарии
Каскады конвертера и
Каскады конвертера и примененные лампы:
1. Регенеративный детектор на лампе типа ПТ-2 или УБ-107.
2. Двухкаскадный усилитель низкой частоты на лампах типа ПТ-2 или УБ-107.
Диапазон принимаемых волн:
1. КВ I: 13 - 24 м (23,07 - 12,50 МГц);
2. КВ II: 18 - 36 м (16,67 - 8,33 МГц);
2. КВ III: 32 - 64 м (9,37 - 4,68 МГц);
3. КВ IV: 58 - 110 м (5,17 - 2,72 МГц).
Режимы приемника:
Напряжение батареи накала: 4 - 5 В.
Общий ток накала при лампах ПТ-2: 180 - 220 мА.
Общий ток накала при лампах УБ-107: 200 - 250 мА.
Напряжение анодной батареи: 80 В.
Общий анодный ток при лампах ПТ-2: 3 - 7 мА.
Общий анодный ток при лампах УБ-107: 7 - 9 мА.
Схема
Настройка резонансного контура производится при помощи переменного конденсатора с механическим верньером. Контурная катушка приемника - сменная. Всего к приемнику прилагается четыре сменных катушки, перекрывающие следующие участки диапазона: первая - 13 - 24 м, вторая - 18 - 36 м, третья - 32 - 64 м и четвертая - 58 - 110 м. Контурные катушки намотаны на фибровых каркасах. На те же каркасы намотаны сменные катушки антенной цепи (связь индуктивная). Держатель антенной катушки имеет ручку, выведенную на переднюю панель приемника, при помощи которой производится перемещение катушки антенной связи относительно контурной катушки, т.е. изменение связи с антенной.
Регулирование обратной связи в приемнике производится при помощи переменного конденсатора, включенного по схеме Шнелля.
Усиление низкой частоты осуществлено на трансформаторах.
Телефон может быть включен в анодную цепь лампы первого или второго каскада усиления низкой частоты.
Для питания приемника необходима батарея накала 4 В или анодная батарея 80 В.
Назначение и данные деталей КВ-4
Цепь антенны
1 - клемма для присоединения антенны.
2 - клемма для присоединения заземления.
3 - подвижная катушка антенной связи.
Резонансный контур и ламповый детектор
4 - сменная катушка резонансного контура; намотка на круглом фибровом каркасе.
5 - конденсатор переменной емкости с верньером настройки резонансного контура - 132 пФ.
6 - конденсатор гридлика - 275 пФ.
7 - сопротивление гридлика - 1,5 - 3 МОм.
8 - детекторная лампа ПТ-2 или УБ-107.
9 - катушка обратной связи сменная; намотка на общем каркасе с контурной катушкой 4.
10 - конденсатор регулирования обратной связи - 275 пФ.
11 - конденсатор, предохраняющий источник анодного напряжения от короткого замыкания при случайном соединении между статором и ротором конденсатора 70 - 3300 пФ.
12 - реактивная катушка высокой частоты, загораживающая путь токам высокой частоты в цепи усиления низкой частоты.
13 - междуламповый трансформатор с железным сердечником для связи с первым каскадом усиления низкой частоты.
14 - блокировочный конденсатор I обмотки трансформатора 13 - 2200 пФ.
15 - сопротивление, шунтирующее II обмотку трансформатора 12, - 200 кОм.
Первый каскад усиления низкой частоты
16 - лампа ПТ-2 или УБ-107.
17 - междуламповый трансформатор с железным сердечником для связи со вторым каскадом усиления низкой частоты.
18 - блокировочный конденсатор I обмотки трансформатора 17 - 3300 пФ.
19 - сопротивление, шунтирующее II обмотку трансформатора, 17 - 200 кОм.
20 - гнезда для включения телефона в анодную цепь лампы первого каскада низкой частоты.
Второй каскад усиления низкой частоты
21 - лампа ПТ-2 или УБ-107.
22 - гнезда для включения телефона в анодную цепь второго каскада усиления низкой частоты.
Цепи питания
23 - клеммы для включения источников питания.
24 - конденсатор, шунтирующий батарею накала, - 0,25 мкФ 400 В.
25 - реостат накала всех ламп - 10 Ом.
26 - конденсатор, шунтирующий источник анодного напряжения, - 0,25 мкФ 400 В.
Особенности эксплуатации:
Ориентировочный расход ламп на эксплуатацию приемника КВ-4:
Количество в комплекте:
тип ПТ-2 - 3;
тип УБ-107 - 3.
Расходы на 100 час. работы:
тип ПТ-2 - 0,75;
тип УБ-107 - 0,3.
Включение
1. Открыв крышку, вставить лампы.
2. Присоединить к приемнику батарею накала и анодную батарею.
3. Присоединить антенну и заземление.
4. Включить телефон в анодную цепь второго или первого каскада усиления низкой частоты.
Настройка
5. Вставить катушки соответственно принимаемой волне.
6. При помощи реостата (или реостатов) установить нормальный накал ламп.
7. Вращая ручку антенной катушки, поставить ее в положение наибольшей антенной связи.
8. Вращая ручку конденсатора обратной связи, довести обратную связь до положения генерации. Если генерация не возникает ослабить связь с антенной.
9. Вращая ручку верньера конденсатора контура, настроиться на волну принимаемой станции. При этом вращением ручки конденсатора обратной связи все время поддерживается режим генерации приемника вблизи ее срыва. Станция обнаруживается по свисту.
10. При приеме радиотелефонной передачи, обратную связь следует уменьшить до прекращения генерации и получения четкой и разборчивой передачи.
11. Окончательно регулируется обратная связь, связь с антенной и накал ламп одновременно с точной подстройкой на волну принимаемой станции при помощи верньера контурного конденсатора до получения хорошей слышимости.
Выключение
12. Вращая ручки реостата (или ручки реостатов) накала до отказа против часовой стрелки выключить накал ламп.
13. Отсоединить анодную батарею.