А.Ю.Тарасов UT2FW & А.Н.Ковалевский RN6LW
Полный вариант статьи: http://www.qso.ru/rn6lw/su.html

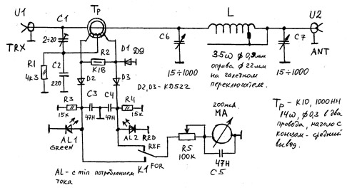
... В нашем СУ применены КПЕ от ламповых приёмников с воздушным зазором 0,3мм, обе секции включены параллельно. В качестве индуктивности применена катушка с отводами, переключаемыми керамическим галетным переключателем. Катушка бескаркасная 35 витков провода 0,9-1,1мм намотана на оправке диаметром 21-22мм, свёрнута в кольцо и своими короткими отводами припаяна к выводам галетного переключателя. Отводы сделаны от 2,4,7,10,14,18,22, 26,31 витков. КСВ-метр изготовлен на ферритовом кольце. Для КВ решающего значения проницаемость кольца в общем-то не имеет – применено кольцо К10 проницаемостью 1000НН. и на неё намотано 14 витков в два провода без скрутки ПЭЛ 0,3, начало одной обмотки, соединённое с концом второй образуют средний вывод. В зависимости от требуемой задачи, точнее, от того какую мощность предполагается пропускать через это СУ и качества излучающих светодиодов, детектирующие диоды D2,D3 можно использовать кремниевые или германиевые.

От германиевых диодов можно получить бОльшие амплитуды и чувствительность. Наилучшие – ГД507. Но так как автор применяет трансивер с выходной мощностью не менее 50Вт, достаточно и обычных кремниевых КД522. Как "ноу хау" в этом СУ применена светодиодная индикация настройки помимо обычной на стрелочном приборе. Для индикации "прямой волны" применён зелёного (синего) цвета светодиод AL1, а для визуального контроля за "обратной волной" - красного цвета AL2. Как показала практика – это решение очень удачно – всегда можно оперативно отреагировать на аварийную ситуацию – если что-то случается во время работы с нагрузкой красный светодиод начинает ярко вспыхивать в такт с передатчиком, что не всегда так заметно по стрелке КСВ-метра. Не будешь же постоянно пялиться на стрелку КСВ-метра во время передачи, а вот яркое свечение красного света хорошо видно даже боковым зрением. Это положительно оценил RU6CK когда у него появилось такое СУ (у Юрия проблема со зрением). Уже достаточное количество лет и сам автор использует в основном только "светодиодную настройку" СУ – т.е. настройка сводится к тому, чтобы погас красный светодиод и ярко полыхал зелёный.
Если уж и захочется более точной настройки – тогда можно по стрелке микроамперметра её "выловить". Настройка прибора выполняется с использованием эквивалента нагрузки 50Ом, на который рассчитан выходной каскад передатчика. Присоединяем СУ к TRX минимальной (насколько это возможно – т.к. этот кусок в дальнейшем и будет задействован для их соединения) длины коаксиалом с требуемым волновым сопротивлением, на выход СУ без всяких длинных шнурков и коаксиальных кабелей эквивалент нагрузки, выкручиваем все ручки СУ на минимум и выставляем при помощи С1 минимальные показания КСВ-метра при "отражёнке".
Отмечу, что пластины С6 нужно немного ввести и ёмкость С6 будет зависеть от длинны коаксиала от TRX до СУ и качества изготовления всех "проводков" в самом СУ, т.е. ёмкостью С6 мы компенсируем реактивность вносимую коаксиалом и проводками в СУ. Нужно несколько раз сбалансировать КСВ-метр конденсатором С1 при минимально возможной ёмкости С6. Следует заметить – выходной сигнал для настройки не должен содержать гармоник (т.е. должен быть фильтрованный), в противном случае минимума не найдётся. Если конструкция будет выполнена правильно – минимум получается в районе минимальной ёмкости С1 и С6. Меняем местами вход-выход прибора и снова проверяем "баланс". Проверяем настройку на нескольких диапазонах – если всё ОК, тогда настройка на минимум совпадёт в различных положениях...

Комментарии