
Сетевой ламповый радиоприёмник - "Т-35" разработан Тульским Государственным союзным заводом №7 НКВС/НКПиТ в 1935 году, серийное производство приемника с 1936 года.
Первый образец приемника был подарен VII Съезду Советов. Производился приемник на тульском Радиозаводе No 7 НКПиТ. В 1937 году радиоприёмник был модернизирован в модель "Т-37", занявшую призовое место на выставке "Техника связи".
"Т-35" является приемником индивидуального пользования, предназначенным для работы в местностях, имеющих сеть переменного тока с напряжением в 100-120 и 200-220 В.
В приемнике предусмотрена возможность проигрывания граммофонных пластинок звукоснимателем.
Приемник собран на металлическом шасси, которое вставляется в деревянный ящик; на передней стенке ящика укреплен громкоговоритель. Все ручки управления приемником выведены на переднюю панель; ручек три: настройка, переключатель диапазонов и регулировка громкости.
На задней стороне шасси расположены гнезда: для антенны и земли звукоснимателя, для переключения силового трансформатора и для включения высокоомного громкоговорителя.
Приемник имеет следующие каскады:
- Первая ступень - усилитель высокой частоты - работает на лампе СО-148.
- Детектор - на лампе СО-124.
- Усилитель звуковых частот - на лампе СО-118.
- Оконечный усилитель - на лампе УО-104.
- Выпрямитель - на лампе ВО-116.
Диапазон принимаемых частот:
- Длинные волны: 150-1500 кГц (2000 - 714 м);
- Средние волны: 545 - 1500 кГц (545 - 200 м).
Основные технические данные
Выходная мощность - 0,8 Вт.
Питание
Приемник питается от сети переменного тока с напряжением 110, 127 или 220 В. Потребляемая от сети мощность 75 Вт.
Электрическая схема
По схеме Т-35 является трехконтурным регенеративным приемником прямого усиления типа 1-V-2.
Приемник имеет три контура высокой частоты: два первых контура L1-L3 с емкостью C4 и L10 -L12 с емкостью С4 образуют полосовой фильтр на входе приемника. Связь между контурами - комбинированная индуктивная при помощи катушек L4-L9 и емкостная через емкость C3.
Первый контур слабо связан с антенной через емкость С1.
Усилитель высокой частоты. На вход лампы СО-148 - усилителя высокой частоты - включен второй контур L10-L12 с емкостью С4. На входе приемника имеется потенциометр R1, при помощи которого производится регулировка усиления приемника.
Регулировка производится двояким путем: при перемещении движка потенциометра: 1) изменяется входное сопротивление приемника и 2) изменяется смещение лампы СО-148 (варимю), так как потенциометр включен последовательно с сопротивлением R2 в цепь катода.
Второй контур L10-L12 и емкость С4 включены в цепь сетки лампы высокой частоты. В анодную цепь этой лампы включен дроссель L13.
Третий контур L14-L16 с емкостью С9 находится в цепи сетки детекторной лампы и связан с первой лампой через переходной конденсатор С8. На этот контур подается напряжение обратной связи из анодной цепи детекторной лампы СО-124.
Регулировка обратной связи производится путем изменения емкости, включенной последовательно с катушками обратной связи L17-L19. Для удобства регулировки управление конденсатором обратной связи объединено с потенциометром R1. Оба они имеют общую ось, так что при вращении ручки регулировки усиления одновременно изменяются усиление и обратная связь. Детектор работает по схеме сеточного детектирования и имеет нагрузкой сопротивление R11. В цепи сетки имеются гнезда для включения звукоснимателя. При включении звукоснимателя на сетку лампы подается смещение с потенциометра R16, R17. Через переходной конденсатор C18 эта ступень связана с первой лампой усиления звуковой частоты.
Предварительный усилитель низкой частоты собран по реостатной схеме. В качестве нагрузки в цепь анода включено сопротивление R14.
Оконечный усилитель работает на лампе УО-104 по трансформаторной схеме. Выходной трансформатор T1 нагружен на динамический громкоговоритель Параллельно первичной обмотке трансформатора имеются гнезда для включения внешнего высокоомного громкоговорителя.
Питание приемника производится от двухполупериодного выпрямителя, работающего на лампе ВО-116.
Катушка подмагничивания динамика использована в качестве дросселя фильтра выпрямителя; емкостями фильтра выпрямителя являются конденсаторы: С22, С23 и С24.
Детали
Динамический громкоговоритель: катушка подмагничивания имеет 26000 витков из провода ПЭ 0,20. Сопротивление катушки R0=3000 Ом. Звуковая катушка имеет 61 виток из провода ПЭ 0,20. Сопротивление R0= 4 Ом.
Выходной трансформатор. Железо Ш-20, сечение сердечника 3,6 см2. Первичная обмотка имеет 2 000 витков из провода ПЭ 0,2, вторичная обмотка - 80 витков из провода ПЭ 0,2.
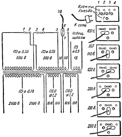
Трансформатор питания. Железо Ш-образное, сечение сердечника 11 см2. Данные намотки трансформатора и схема переключений обмоток на разные напряжения показаны на рисунке.

Схема трансформатора питания приемника
Расположение ламп и деталей на шасси приемника "Т-35"
Комментарии