"Сторож-Р" - сторож радиационный - предназначен для непрерывного контроля общей радиационной обстановки и обнаружения источников ионизирующей радиации.
Прибор собран в начале 90-х, по схеме предложенной Ю.Виноградовым в журнале "Радио" №1 за 1994 год.

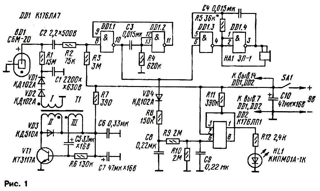
Схема прибора (рис.1) очень проста, содержит счетчик Гейгера, типа СБМ-20, на который подается высокое напряжение с блокинг-генератора, собранного на транзичторе VT1. Импульс, возникающий в счетчике Гейгера в момент возбуждения его ионизирующей частицей, поступает на одновибратор, собранный на элементах D1.1 и D1.2 и преобразуется в импульс длительностью 5-7 мс. Далее этим импульсом запускается звуковой генератор, собранный на элементах D1.3 и D1.4. На диоде VD4 и резисторах R8-R10 собран интегратор, управляющий работой порогового усилителя, выполненного на микросхеме DD2, на выход которого подключен светодиод. Частота и длительность вспышек светодиода увеличиваются с увеличением уровня радиации.
Детали прибора смонтированы на двусторонней печатной плате (рис.2)
Внешний вид платы в сборе показан на рис.3
При правильной сборке схема запускается сразу и практически не требует настройки, разве что потребуется подобрать резистор R5, настроив генератор на резонансную частоту применяемого пьезоизлучателя, для получения максимального звука и резистор R8 - порог тревожной сигнализации светодиода.
В процессе сборки этого прибора я немного изменил схему блокинг-генератора, при тех же параметрах трансформатора:

А вместо пьезоизлучателя был использован микрофонный капсюль ДЭМШ-1а (вероятно просто потому что ничего другого под рукой не оказалось).
Собранную плату я разместил в первый попавший под руку подходящий корпус, им оказался корпус от пульта ДУ :)

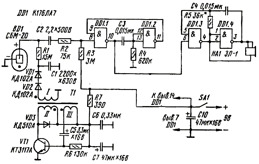
Собранный радиационный индикатор до сих пор в рабочем состоянии, хотя если бы я собирал эту схему сейчас, то выбросил бы световую индикацию, в результате схема стала бы еще проще:
Комментарии